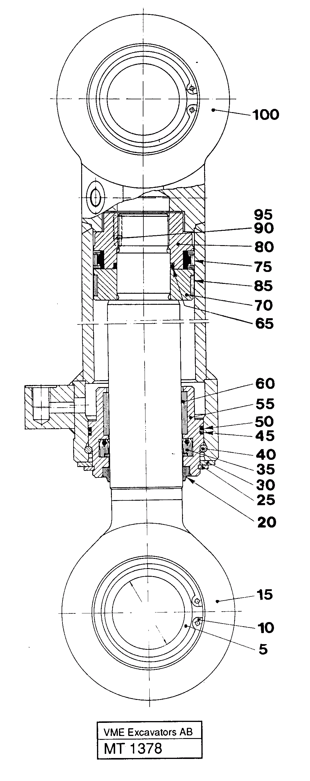
Запчасти Volvo EC230 ?KERMAN ?KERMAN EC230 SER NO - 4368 43224 Hydraulic cylinder for slope bucket

Схема запчастей Volvo EC230 ?KERMAN ?KERMAN EC230 SER NO - 4368 - 43224 Hydraulic cylinder for slope bucket
FIT
1:1
100%

Артикул

Название

Примечание

Количество

VOE 14245975

Гидроцилиндр

1шт.

10

VOE 914538

Retaining ring

1шт.

10

VOE 914538

Кольцо стопорное

1шт.

100

VOE 14245982

цилиндр

1шт.

15

VOE 14245976

Шток поршня

1шт.

20

VOE 14101934

14101934

1шт.

25

VOE 914482

Retaining ring

1шт.

25

VOE 914482

Кольцо стопорное

1шт.

30

VOE 14237789

Шайба

1шт.

35

VOE 11709513

Уплотнение штока поршня

1шт.

40

VOE 14237790

Кольцо

1шт.

45

VOE 14237798

Back-up ring

1шт.

5

VOE 4780963

Link bearing

1шт.

5

VOE 4780963

Link bearing

1шт.

50

VOE 925094

Кольцо уплотнительное (О-кольцо)

1шт.

50

VOE 925094

Кольцо уплотнительное (О-кольцо)

1шт.

55

VOE 14245977

Головка блока цилиндров

1шт.

60

VOE 14245978

Втулка

1шт.

65

VOE 13960176

Кольцо уплотнительное (О-кольцо)

1шт.

70

VOE 14245979

Поршень

1шт.

75

VOE 14213404

Piston seal

1шт.

80

VOE 14245980

Поршень

1шт.

85

VOE 14245981

Guide ring

1шт.

90

VOE 14014734

установочный винт

1шт.

90

VOE 14014734

Болт

1шт.

95

VOE 14024293

Locking fluid

1шт.

95

VOE 14024293

Locking fluid

1шт.

Выбрано товаров: 27