Запчасти Volvo EC230 ?KERMAN ?KERMAN EC230 SER NO - 4368 55598 Hydraulics in undercarriage

Схема запчастей Volvo EC230 ?KERMAN ?KERMAN EC230 SER NO - 4368 - 55598 Hydraulics in undercarriage
FIT
1:1
100%

Артикул

Название

Примечание

Количество

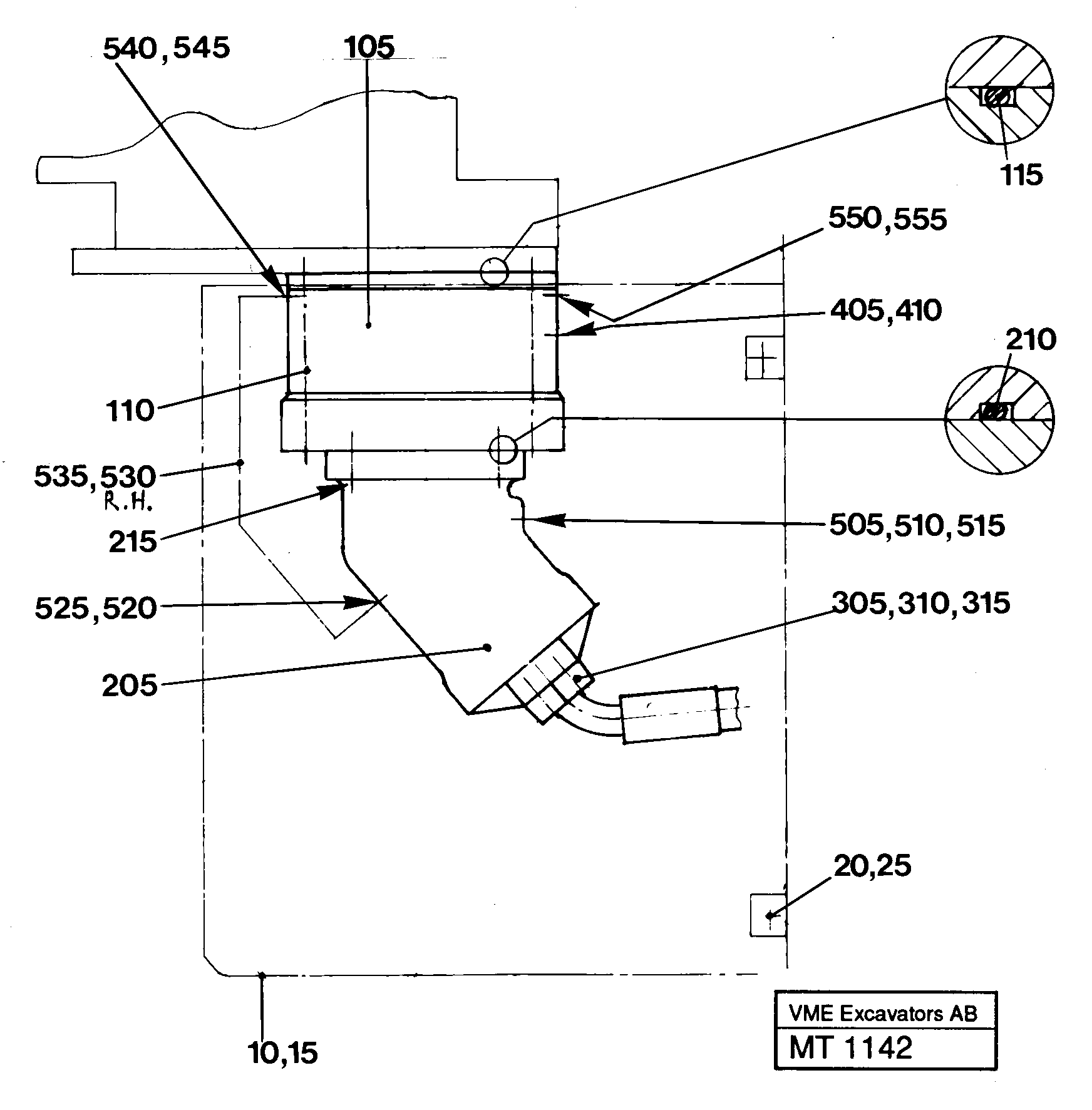
10

VOE 14250579

Protection

1шт.

10

VOE 14250578

Protection

1шт.

105

VOE 14237553

Track Brake

1шт.

110

VOE 14024447

Allen Hd Screw

1шт.

115

VOE 925266

Кольцо уплотнительное (О-кольцо)

1шт.

115

VOE 925266

Кольцо уплотнительное (О-кольцо)

1шт.

20

VOE 13955366

Болт

1шт.

20

VOE 13955366

Болт

1шт.

205

VOE 14211155

Гидромотор

1шт.

206

VOE 14013020

Кольцо стопорное

1шт.

206

VOE 14013020

Retaining ring

1шт.

207

VOE 14211605

Radial Seal

1шт.

208

VOE 14026311

Кольцо уплотнительное (О-кольцо)

1шт.

208

VOE 14026311

Кольцо уплотнительное (О-кольцо)

1шт.

210

VOE 925267

Кольцо уплотнительное (О-кольцо)

1шт.

210

VOE 925267

Кольцо уплотнительное (О-кольцо)

1шт.

215

VOE 14014624

Болт

1шт.

25

VOE 13955900

Шайба

1шт.

25

VOE 13955900

Шайба

1шт.

305

VOE 14048189

Flange half

1шт.

305

VOE 14048189

Flange half

1шт.

310

VOE 13948700

Кольцо уплотнительное (О-кольцо)

SER NO - 4254

1шт.

310

VOE 13948700

Кольцо уплотнительное (О-кольцо)

SER NO - 4254

1шт.

310

VOE 14215715

Кольцо уплотнительное

SER NO 4255 -

1шт.

310

VOE 14215715

Кольцо уплотнительное

SER NO 4255 -

1шт.

315

VOE 13970972

Винт шестигранник

1шт.

315

VOE 13970972

Винт шестигранник

1шт.

405

VOE 14012413

14012413

1шт.

410

VOE 14012391

14012391

1шт.

505

VOE 14012424

14012424

1шт.

510

VOE 14012439

14012439

1шт.

515

VOE 14012391

14012391

1шт.

520

VOE 14012424

14012424

1шт.

525

VOE 14012395

14012395

1шт.

530

VOE 14238058

Tube Assembly

RH

1шт.

535

VOE 14238059

Tube Assembly

LH

1шт.

540

VOE 14012423

14012423

1шт.

545

VOE 14012395

14012395

1шт.

550

VOE 14012423

14012423

1шт.

555

VOE 14012395

14012395

1шт.

Выбрано товаров: 40