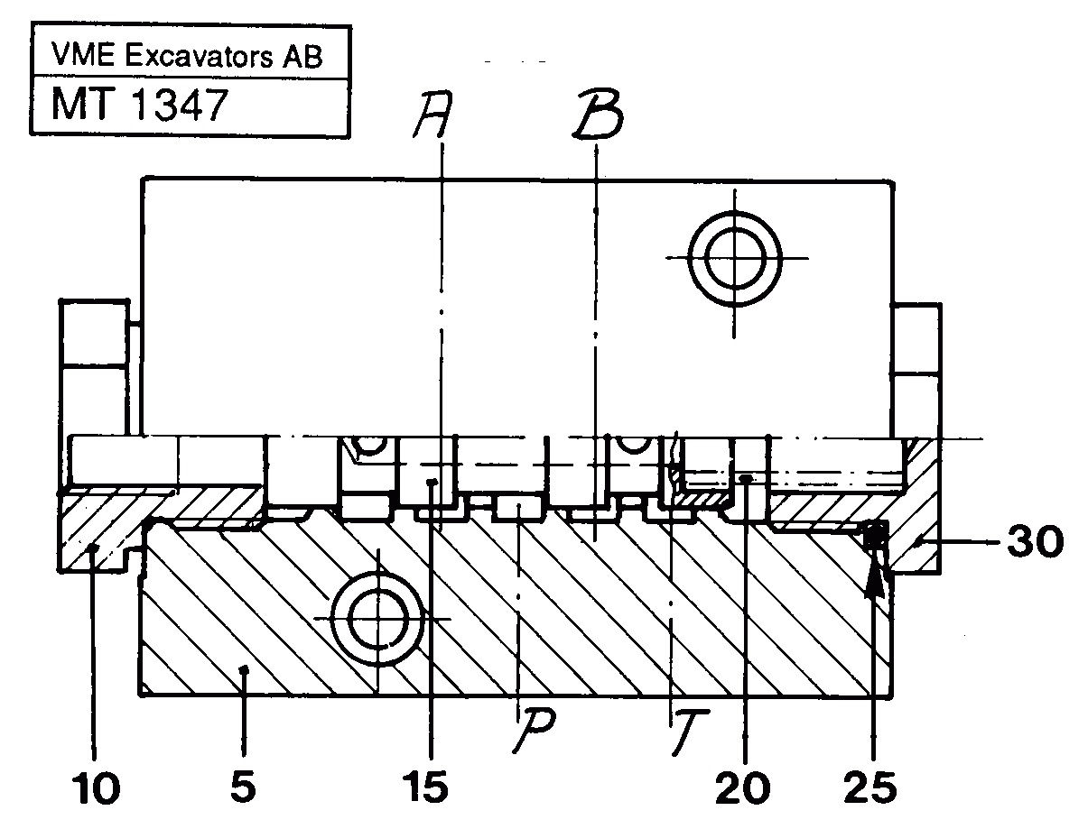
Запчасти Volvo EC230 ?KERMAN ?KERMAN EC230 SER NO - 4368 46075 Valve, circuit body and return valve

Схема запчастей Volvo EC230 ?KERMAN ?KERMAN EC230 SER NO - 4368 - 46075 Valve, circuit body and return valve
FIT
1:1
100%

Артикул

Название

Примечание

Количество

VOE 14232859

Клапан

1шт.

VOE 14232859

Клапан

1шт.

10

VOE 14012514

Rdc Bushing

1шт.

15

VOE 14232861

Slide

1шт.

20

VOE 14046520

Compression spring

1шт.

20

VOE 14046520

Compression spring

1шт.

25

VOE 925059

Кольцо уплотнительное (О-кольцо)

1шт.

25

VOE 925059

Кольцо уплотнительное (О-кольцо)

1шт.

30

VOE 14046508

Tube Plug

1шт.

5

VOE 14232860

Картер (корпус)

1шт.

5

VOE 14232860

Картер (корпус)

1шт.

Выбрано товаров: 0