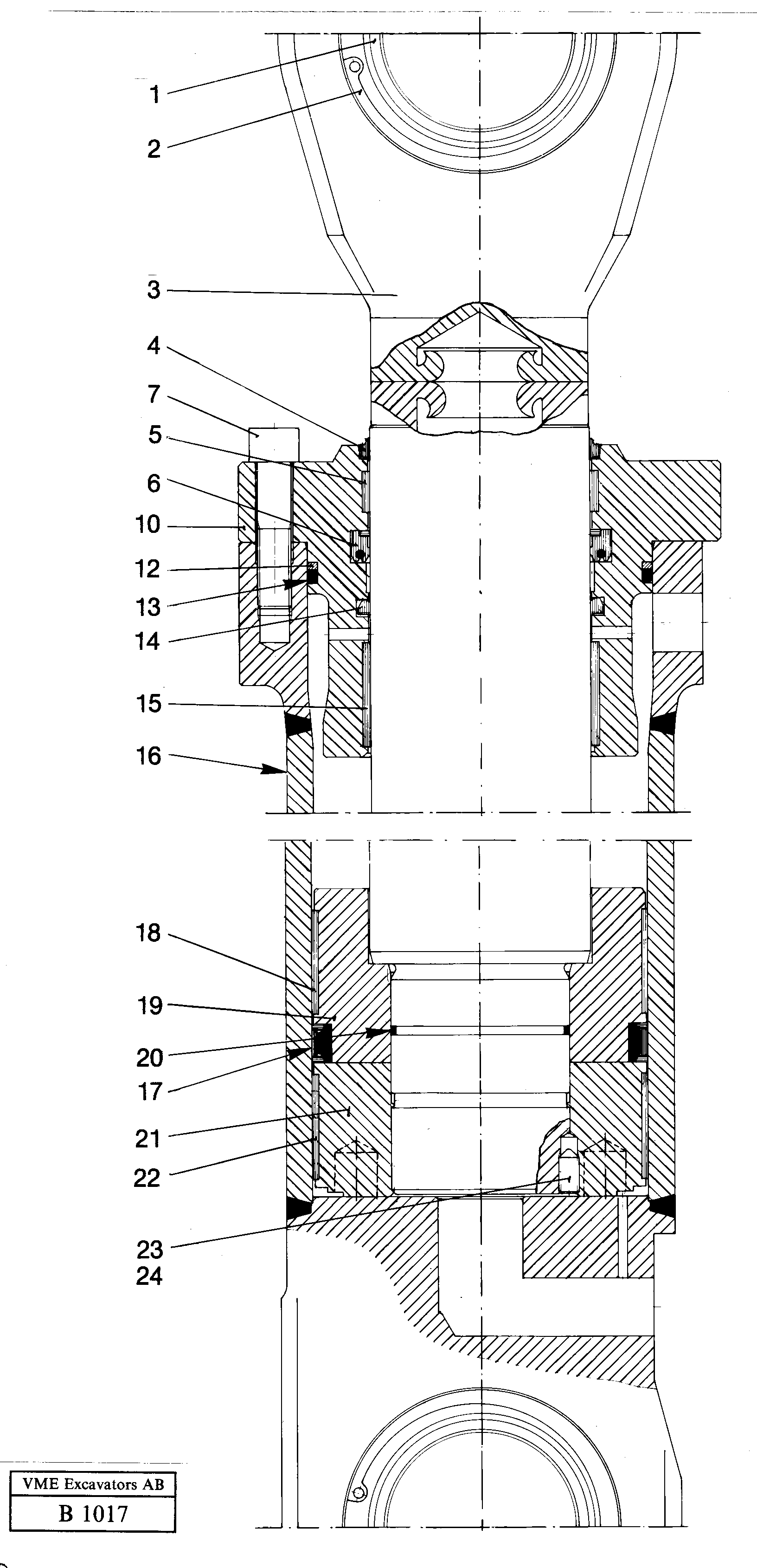
Запчасти Volvo EC230 ?KERMAN ?KERMAN EC230 SER NO - 4368 46076 Гидроцилиндр стрелы

Схема запчастей Volvo EC230 ?KERMAN ?KERMAN EC230 SER NO - 4368 - 46076 Гидроцилиндр стрелы
FIT
1:1
100%

Артикул

Название

Примечание

Количество

VOE 14247900

Гидроцилиндр

1шт.

1

VOE 14310098

Link bearing

1шт.

1

VOE 14310098

Link bearing

1шт.

10

VOE 14247449

Головка блока цилиндров

1шт.

11

VOE 14023745

Grease

1шт.

11

VOE 14023745

Grease

1шт.

12

VOE 14042995

Back-up ring

1шт.

13

VOE 925269

Кольцо уплотнительное (О-кольцо)

1шт.

13

VOE 925269

Кольцо уплотнительное (О-кольцо)

1шт.

14

VOE 14215389

Кольцо уплотнительное

1шт.

15

VOE 14247902

Втулка

1шт.

16

VOE 14231161

цилиндр

1шт.

17

VOE 11709875

Piston seal

1шт.

18

VOE 14237765

Guide ring

1шт.

19

VOE 14346169

Поршень

1шт.

2

VOE 914554

Кольцо стопорное

1шт.

2

VOE 914554

Retaining ring

1шт.

20

VOE 13960232

Кольцо уплотнительное (О-кольцо)

1шт.

20

VOE 13960232

Кольцо уплотнительное (О-кольцо)

1шт.

21

VOE 14346170

Поршень

1шт.

22

VOE 14237765

Guide ring

1шт.

23

VOE 14014737

установочный винт

1шт.

23

VOE 14014737

установочный винт

1шт.

24

VOE 14024293

Locking fluid

1шт.

24

VOE 14024293

Locking fluid

1шт.

3

VOE 14345881

Шток поршня

1шт.

4

VOE 14214058

14214058

1шт.

5

VOE 14247901

Втулка

1шт.

6

VOE 11709520

Уплотнение штока поршня

1шт.

7

VOE 949544

Винт шестигранник (торцевой ключ)

1шт.

7

VOE 949544

Hex. socket screw

1шт.

Выбрано товаров: 0