Запчасти Volvo EC230 ?KERMAN ?KERMAN EC230 SER NO - 4368 39209 Windscreen wiper, lower

Схема запчастей Volvo EC230 ?KERMAN ?KERMAN EC230 SER NO - 4368 - 39209 Windscreen wiper, lower
FIT
1:1
100%

Артикул

Название

Примечание

Количество

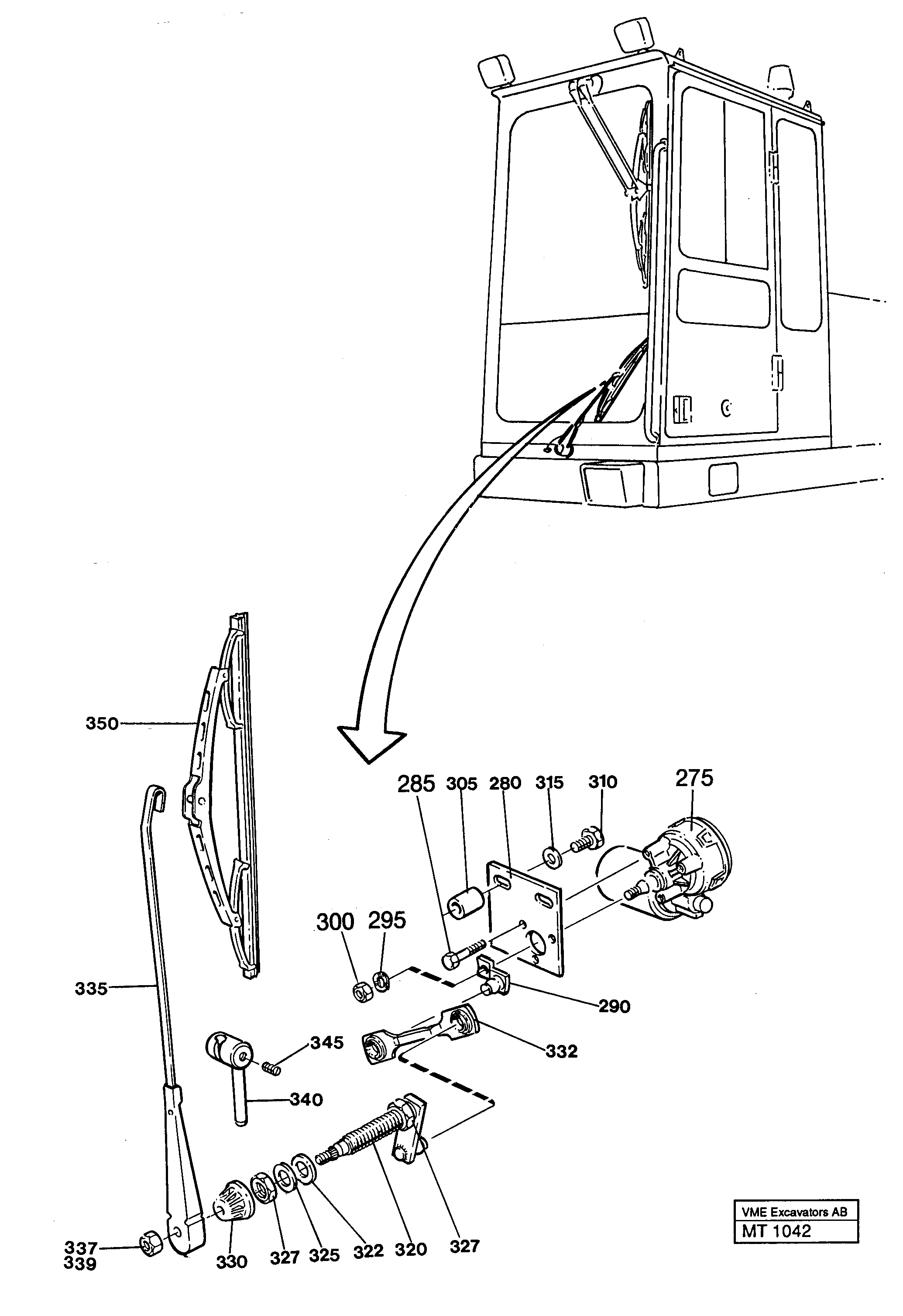
275

VOE 4803421

Wiper motor

1шт.

275

VOE 4803421

Wiper motor

1шт.

280

VOE 14244016

Wiper Mot Anch

1шт.

285

VOE 14014588

Болт

1шт.

285

VOE 14014588

Болт

1шт.

290

VOE 14341053

Рукоять

1шт.

290

VOE 14341053

Рукоять

1шт.

295

VOE 14213381

Шайба

1шт.

295

VOE 14213381

Шайба пружинная

1шт.

300

VOE 955782

Hexagon nut

1шт.

300

VOE 955782

Hexagon nut

1шт.

305

VOE 14244017

Вставка

1шт.

305

VOE 14244017

Вставка

1шт.

310

VOE 14014613

Болт

1шт.

310

VOE 14014613

Болт

1шт.

315

VOE 14015134

Шайба

1шт.

315

VOE 14015134

Шайба

1шт.

320

VOE 14213358

Wiper bearing

1шт.

320

VOE 14213358

Wiper bearing

1шт.

322

VOE 14213359

Leather

1шт.

325

VOE 14213360

Шайба

1шт.

325

VOE 14213360

Шайба

1шт.

327

VOE 14213361

Гайка

1шт.

327

VOE 14213361

Гайка

1шт.

330

VOE 14213362

Cap

1шт.

330

VOE 14213362

Cap

1шт.

332

VOE 14213357

Link rod

1шт.

332

VOE 14213357

Link rod

1шт.

335

VOE 14213363

рычаг стеклоочистителя

1шт.

335

VOE 14213363

рычаг стеклоочистителя

1шт.

337

VOE 14213381

Шайба

1шт.

337

VOE 14213381

Шайба пружинная

1шт.

339

VOE 955782

Hexagon nut

1шт.

339

VOE 955782

Hexagon nut

1шт.

340

VOE 14245112

Опора

1шт.

340

VOE 14245112

Опора

1шт.

345

VOE 14052797

установочный винт

1шт.

345

VOE 14052797

установочный винт

1шт.

350

VOE 11708309

Щетка стеклоочистителя

1шт.

350

VOE 11708309

Щетка стеклоочистителя

1шт.

Выбрано товаров: 0