Запчасти Volvo EC230 ?KERMAN ?KERMAN EC230 SER NO - 4368 39067 Gear box

Схема запчастей Volvo EC230 ?KERMAN ?KERMAN EC230 SER NO - 4368 - 39067 Gear box
FIT
1:1
100%

Артикул

Название

Примечание

Количество

VOE 14237554

Коробка передач (КПП, трансмиссия)

LH

1шт.

VOE 14237555

Коробка передач (КПП, трансмиссия)

RH

1шт.

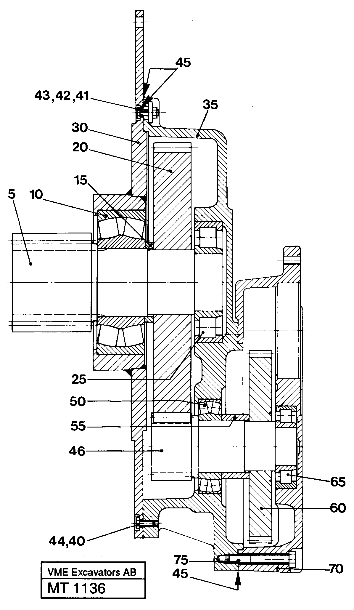
10

VOE 14101089

Подшипник

1шт.

15

VOE 14052659

Spacer sleeve

1шт.

20

VOE 14048756

Gear

1шт.

20

VOE 14048756

Gear

1шт.

25

VOE 6241672

Подшипник

1шт.

25

VOE 6241672

Подшипник

1шт.

30

VOE 14047043

Cap

1шт.

35

VOE 14233061

Gear housing

1шт.

35

VOE 14233061

Gear housing

1шт.

40

VOE 13955295

Болт

1шт.

40

VOE 13955295

Болт

1шт.

41

VOE 955297

Винт шестигранник

1шт.

41

VOE 955297

Винт шестигранник

1шт.

42

VOE 11055612

Шайба

1шт.

42

VOE 11055612

Шайба

1шт.

43

VOE 955782

Hexagon nut

1шт.

43

VOE 955782

Hexagon nut

1шт.

44

VOE 14024293

Locking fluid

1шт.

44

VOE 14024293

Locking fluid

1шт.

45

VOE 14024151

Sealant

1шт.

45

VOE 14024151

Sealant

1шт.

46

VOE 14040086

Gear

1шт.

46

VOE 14040086

Gear

1шт.

5

VOE 14230052

Gear

1шт.

50

VOE 14013568

Подшипник

1шт.

50

VOE 14013568

Подшипник

1шт.

55

VOE 14040091

Вставка

1шт.

55

VOE 14040091

Вставка

1шт.

60

VOE 14237556

Gear

1шт.

65

VOE 14013633

Подшипник

1шт.

65

VOE 14013633

Подшипник

1шт.

70

VOE 14236592

Gear housing

1шт.

70

VOE 14236592

Gear housing

1шт.

75

VOE 970980

Винт шестигранник

1шт.

75

VOE 970980

Винт шестигранник

1шт.

Выбрано товаров: 0