Запчасти Volvo EC230B 1916 Hydr. quick fit equipm. on super structure EC230B SER NO 5252-

Схема запчастей Volvo EC230B - 1916 Hydr. quick fit equipm. on super structure EC230B SER NO 5252-
FIT
1:1
100%

Артикул

Название

Примечание

Количество

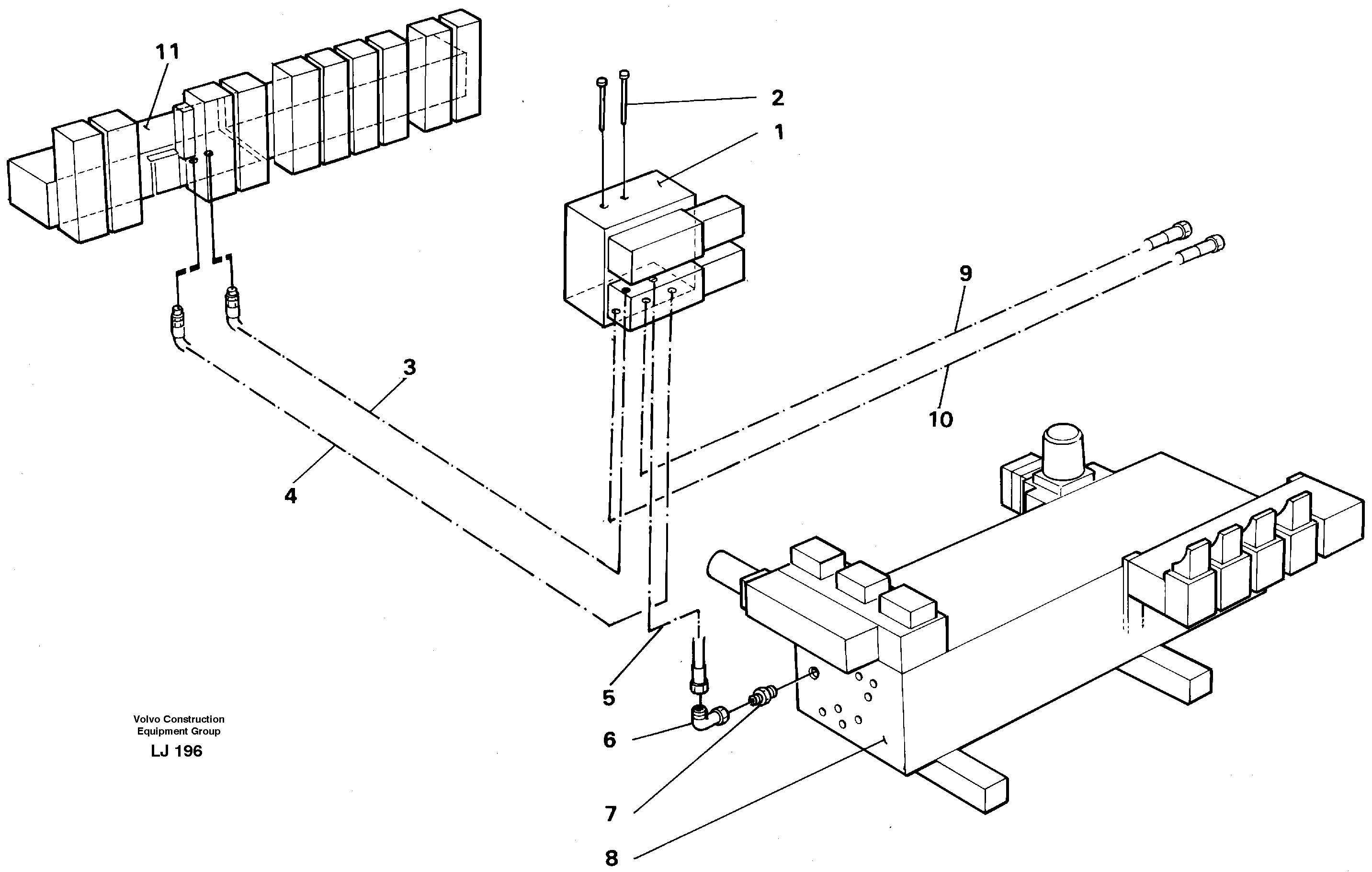
10

VOE 14243704

Hydraulic hose

Marked B

1шт.

10

VOE 14243704

Hydraulic hose

Marked B

1шт.

2

VOE 940132

Винт шестигранник

1шт.

2

VOE 940132

Винт шестигранник

1шт.

3

VOE 14237328

Hydraulic hose

Marked T

1шт.

3

VOE 14237328

Hydraulic hose

Marked T

1шт.

4

VOE 14237328

Hydraulic hose

Marked Ps

1шт.

4

VOE 14237328

Hydraulic hose

Marked Ps

1шт.

5

VOE 14053144

Hydraulic hose

Marked P3

1шт.

5

VOE 14053144

Hydraulic hose

Marked P3

1шт.

6

VOE 14012391

14012391

1шт.

7

VOE 14012413

14012413

1шт.

9

VOE 14243704

Hydraulic hose

Marked A

1шт.

9

VOE 14243704

Hydraulic hose

Marked A

1шт.

Выбрано товаров: 0