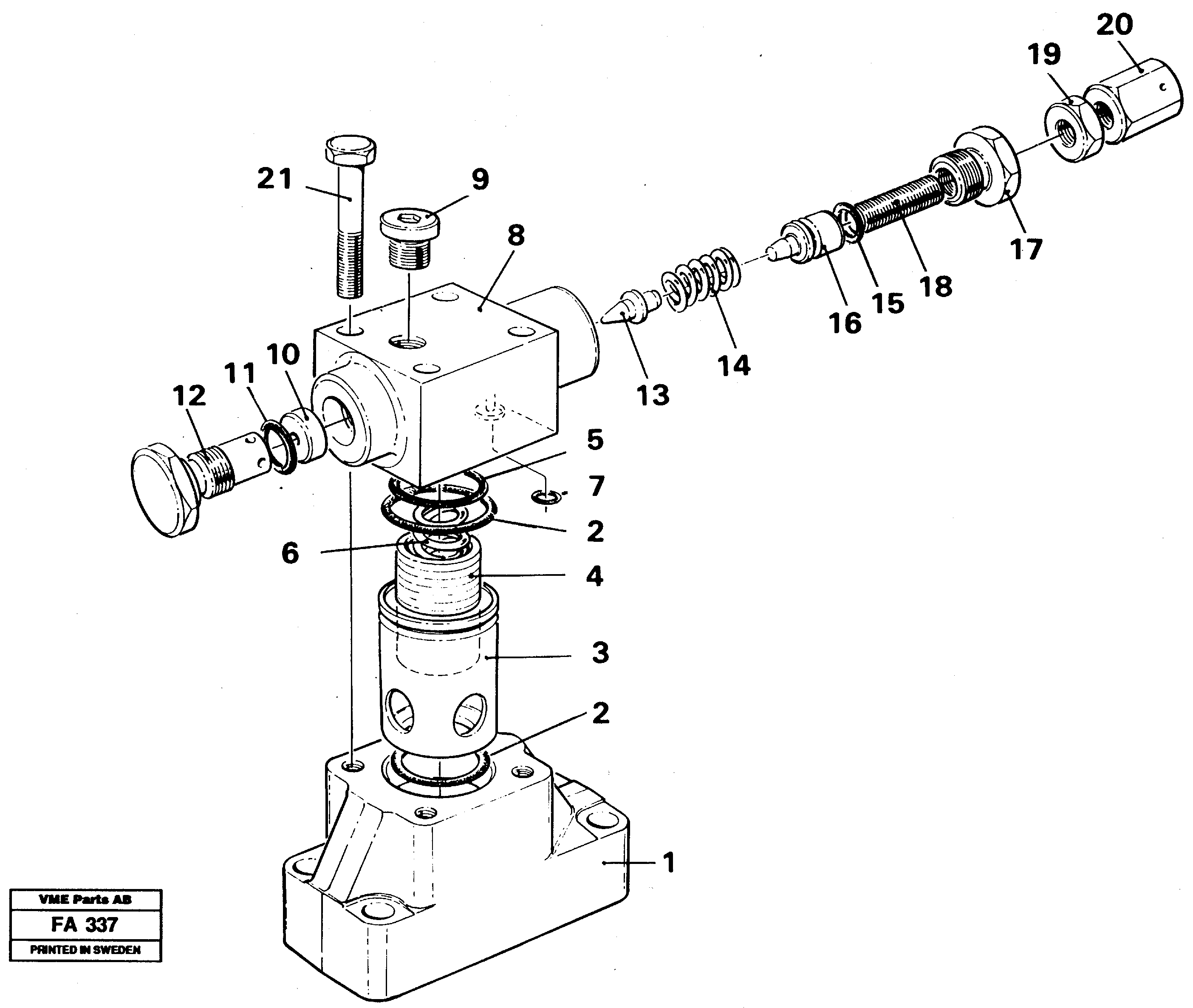
Запчасти Volvo EC230B 26870 Magnet equipment Ohio/almhult Pressure limiting valve EC230B ?KERMAN ?KERMAN EC230B

Схема запчастей Volvo EC230B - 26870 Magnet equipment Ohio/almhult Pressure limiting valve EC230B ?KERMAN ?KERMAN EC230B
FIT
1:1
100%

Артикул

Название

Примечание

Количество

VOE 14234384

Pressure limiting valve

1шт.

VOE 14014485

Grease cartridge

1шт.

VOE 14024293

Locking fluid

1шт.

VOE 14024293

Locking fluid

1шт.

1

VOE 14234386

Valve housing

1шт.

10

VOE 14234393

Seat

1шт.

11

VOE 925056

Кольцо уплотнительное (О-кольцо)

1шт.

11

VOE 925056

Кольцо уплотнительное (О-кольцо)

1шт.

12

VOE 14235232

Болт

1шт.

13

VOE 14234398

Peg

1шт.

14

VOE 14239781

Compression spring

1шт.

15

VOE 13955973

Кольцо уплотнительное (О-кольцо)

1шт.

15

VOE 13955973

Кольцо уплотнительное (О-кольцо)

1шт.

16

VOE 14234399

Guide

1шт.

17

VOE 14234501

14234501

1шт.

18

VOE 14210546

установочный винт

1шт.

19

VOE 971071

Hexagon nut

1шт.

19

VOE 971071

Hexagon nut

1шт.

2

VOE 925064

Кольцо уплотнительное (О-кольцо)

1шт.

2

VOE 925064

Кольцо уплотнительное (О-кольцо)

1шт.

20

VOE 14234502

Cap nut

1шт.

21

VOE 14023312

Болт

1шт.

3

VOE 14234388

Liner

1шт.

4

VOE 14234389

Поршень

1шт.

5

VOE 14016346

Кольцо уплотнительное (О-кольцо)

1шт.

6

VOE 14234390

Compression spring

1шт.

7

VOE 14210587

Кольцо уплотнительное (О-кольцо)

1шт.

8

VOE 14234387

Картер (корпус)

1шт.

9

VOE 14023407

Пробка (заглушка)

1шт.

9

VOE 14023407

Пробка (заглушка)

1шт.

Выбрано товаров: 30