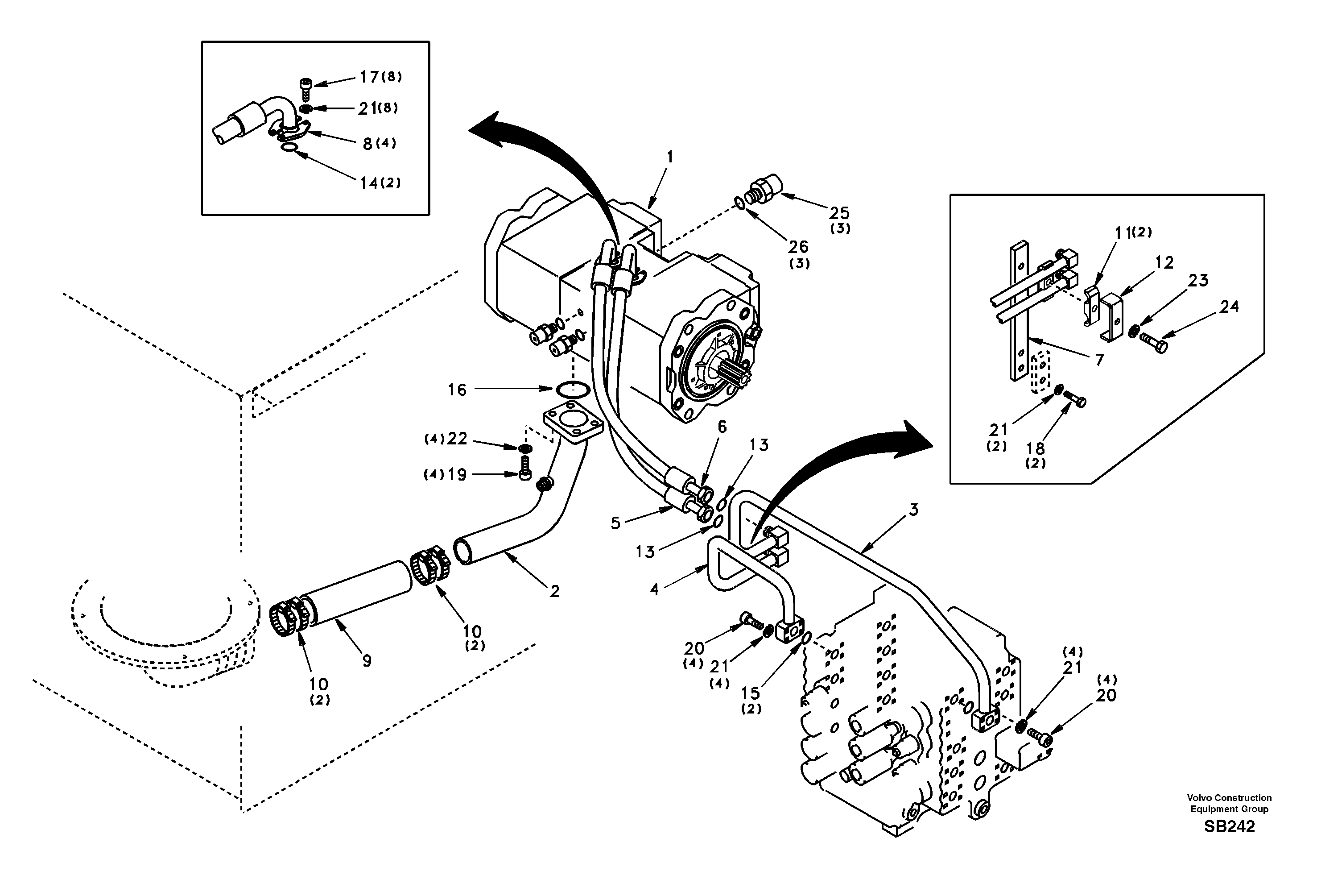
Запчасти Volvo EC240 8372 Hydraulic system, hydraulic tank to hydraulic pump

Схема запчастей Volvo EC240 - 8372 Hydraulic system, hydraulic tank to hydraulic pump
FIT
1:1
100%

Артикул

Название

Примечание

Количество

1

SA 1142-00531

Насос

1шт.

10

SA 9312-10450

Зажим

1шт.

11

SA 1142-03970

Зажим

1шт.

12

SA 1142-03920

Зажим

1шт.

13

SA 9512-02021

Кольцо уплотнительное (О-кольцо)

1шт.

14

SA 9512-02214

Кольцо уплотнительное (О-кольцо)

1шт.

15

SA 9512-02219

Кольцо уплотнительное (О-кольцо)

1шт.

16

SA 9512-02232

Кольцо уплотнительное (О-кольцо)

1шт.

16

SA 9512-02232

Кольцо уплотнительное (О-кольцо)

1шт.

17

SA 9011-11007

Болт

1шт.

17

SA 9011-11007

Болт

1шт.

18

SA 9011-21010

Болт

1шт.

19

SA 9016-11207

Болт

1шт.

2

SA 1142-01411

Трубка

1шт.

20

SA 9016-21011

Болт

1шт.

20

SA 9016-21011

Hexagon socket

1шт.

21

SA 9213-10000

Шайба пружинная

1шт.

22

SA 9213-12000

Шайба пружинная

1шт.

23

SA 9213-14000

Шайба

1шт.

23

SA 9213-14000

Шайба пружинная

1шт.

24

SA 9011-21417

Винт шестигранник

1шт.

25

SA 1042-11650

Quick Coupling

1шт.

26

SA 9511-12011

Кольцо уплотнительное (О-кольцо)

SER NO 3001-3577

1шт.

3

SA 1142-03610

Трубка

1шт.

4

SA 1142-03621

Трубка

1шт.

5

SA 9459-04120

Шланг

1шт.

6

SA 9459-04110

Шланг

1шт.

7

SA 1142-03632

Кронштейн

1шт.

8

SA 9425-51022

Фланец

1шт.

9

SA 9444-10316

Rubber hose

1шт.

Выбрано товаров: 0