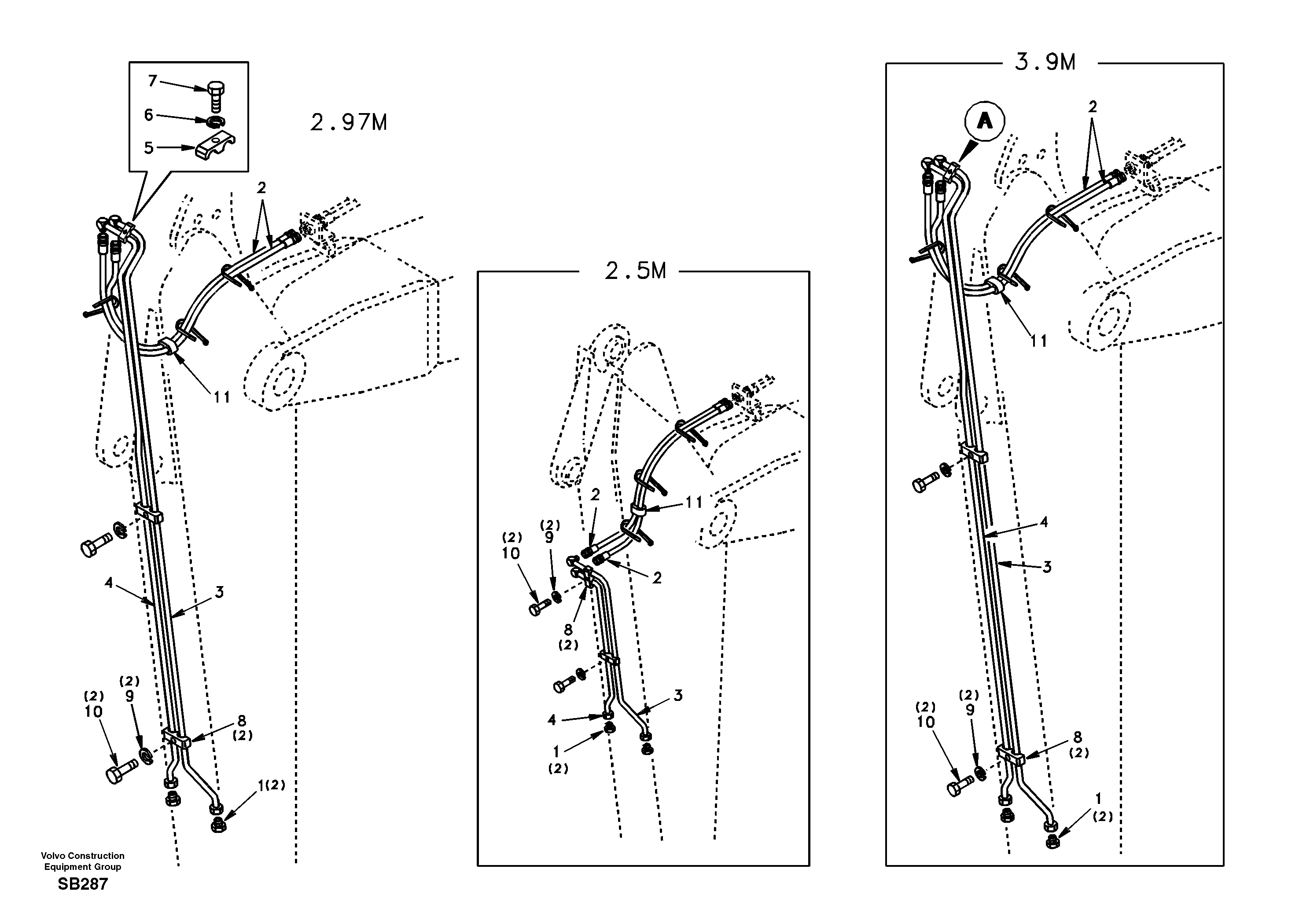
Запчасти Volvo EC240 77360 Rotator hydraulic, dipper arm

Схема запчастей Volvo EC240 - 77360 Rotator hydraulic, dipper arm
FIT
1:1
100%

Артикул

Название

Примечание

Количество

SA 9459-05700

Шланг

1шт.

SA 1174-54270

Трубка

1шт.

VOE 14880080

Шланг

SER NO 3545-

1шт.

SA 1174-53360

Зажим

SER NO 3146-

1шт.

SA 1174-53360

Зажим

SER NO 3146-

1шт.

SA 9459-05700

Шланг

SER NO 3001-3544

1шт.

SA 9213-08000

Шайба

SER NO 3146-

1шт.

SA 1174-54280

Трубка

1шт.

SA 9011-20808

Болт

SER NO 3146-

1шт.

SA 1174-54241

Трубка

1шт.

SA 1174-54231

Трубка

1шт.

1

SA 9415-43031

Пробка (заглушка)

1шт.

10

SA 9011-10804

Болт

1шт.

11

SA 1174-58220

Зажим

1шт.

11

SA 1174-58220

Rubber clamp

1шт.

2

SA 9459-05710

Шланг

1шт.

3

SA 1174-54250

Трубка

1шт.

4

SA 1174-54260

Трубка

1шт.

5

SA 9372-11840

Зажим

SER NO 3001-3145

1шт.

6

SA 9213-10000

Шайба пружинная

SER NO 3001-3145

1шт.

7

SA 9011-11008

Болт

SER NO 3001-3145

1шт.

7

SA 9011-11008

Винт шестигранник

SER NO 3001-3145

1шт.

8

SA 1174-53360

Зажим

SER NO 3001-3145

1шт.

8

SA 1174-53360

Зажим

SER NO 3001-3145

1шт.

9

SA 9213-08000

Шайба

SER NO 3001-3145

1шт.

Выбрано товаров: 0