Запчасти Volvo EC240 49822 Двигатель в сборе

Схема запчастей Volvo EC240 - 49822 Двигатель в сборе
FIT
1:1
100%

Артикул

Название

Примечание

Количество

SA 1111-00052

Двигатель в сборе

STANDARD

1шт.

SA 14507205

Кронштейн

SER NO 3411-

1шт.

SA 9211-08000

Шайба

SER NO 3001-

1шт.

SA 9211-08000

Шайба

SER NO 3001-

1шт.

SA 9213-10000

Шайба пружинная

SER NO 3001-3324

1шт.

SA 9213-10000

Шайба пружинная

1шт.

SA 9213-10000

Шайба пружинная

SER NO 3325-

1шт.

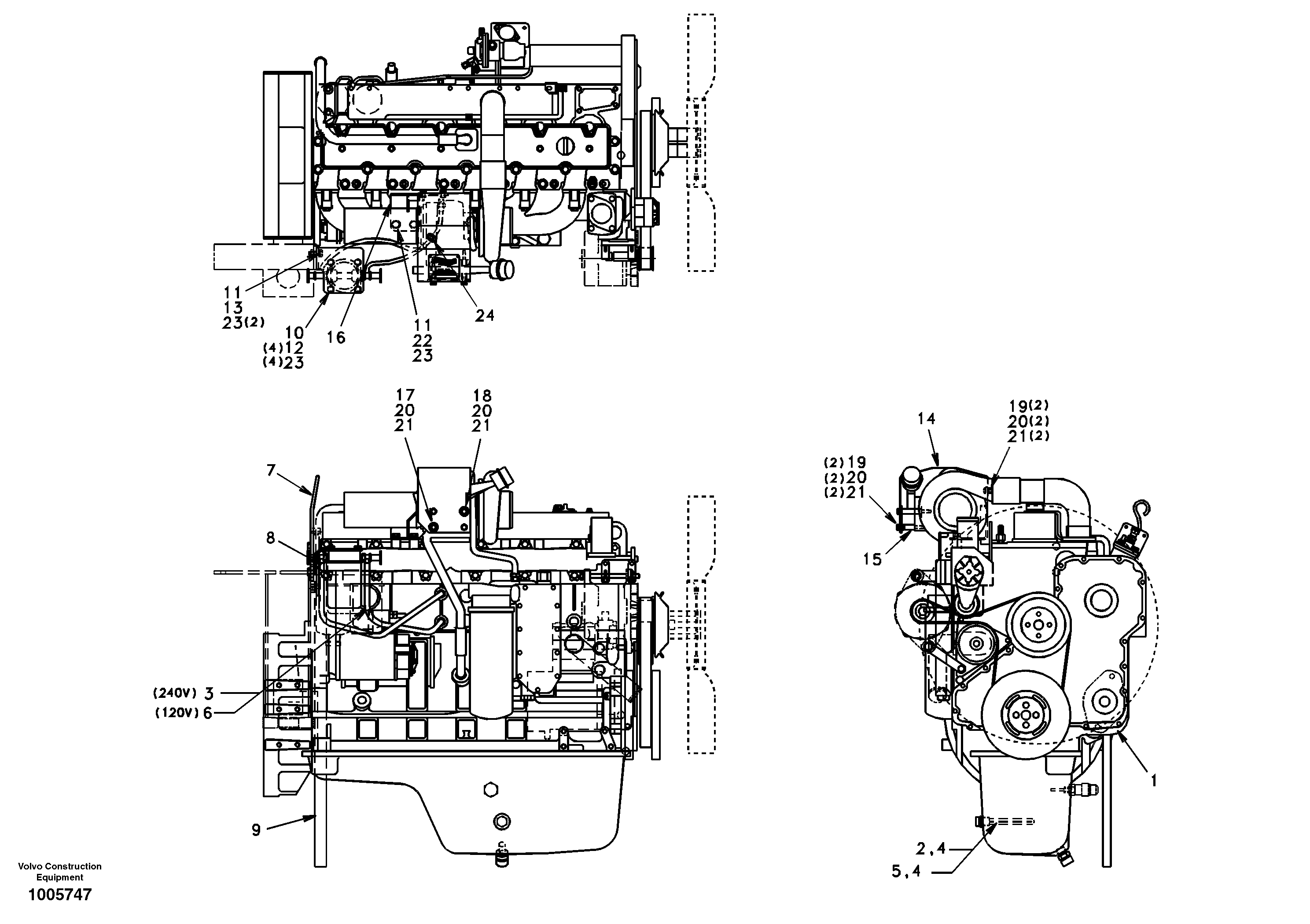
1

SA 1111-00302

Двигатель в сборе

TROPICAL

1шт.

10

SA 1111-00171

Кронштейн

SER NO 3001-3410

1шт.

11

SA 9011-11004

Болт

1шт.

12

SA 9081-11607

Болт

SER NO 3001-3324

1шт.

13

SA 9011-11006

Болт

1шт.

14

SA 1111-00360

Пластина

1шт.

15

SA 1111-00370

Кронштейн

1шт.

16

SA 1111-00381

Кронштейн

1шт.

17

SA 9011-20815

Болт

1шт.

18

SA 9011-20811

Болт

1шт.

19

SA 9011-10803

Болт

1шт.

2

SA 2011-00450

Heater

240V

1шт.

20

SA 9211-08000

Шайба

SER NO 3001-3324

1шт.

20

SA 9211-08000

Шайба

SER NO 3001-3324

1шт.

21

SA 9213-08000

Шайба

1шт.

22

SA 9211-10000

Шайба

1шт.

22

SA 9211-10000

Шайба

1шт.

23

SA 9213-10000

Шайба пружинная

SER NO 3325-

1шт.

24

SA 9314-02100

Strip Clamp

SER NO 3325-

1шт.

24

SA 9314-02100

Strip Clamp

SER NO 3325-

1шт.

3

SA 2011-00510

Heater

1шт.

4

SA 9426-20080

Прокладка

1шт.

5

SA 2011-00460

Heater

120V

1шт.

6

SA 2011-00520

Heater

1шт.

7

SA 1111-00561

Кронштейн

1шт.

8

SA 9312-10175

Зажим

1шт.

9

SA 9952-26020

Шланг

1шт.

Выбрано товаров: 0