Запчасти Volvo EC240 34141 Ковш

Схема запчастей Volvo EC240 - 34141 Ковш
FIT
1:1
100%

Артикул

Название

Примечание

Количество

SA 1171-80171

Ковш

1.35CU M SAE

1шт.

SA 1171-80211

Ковш

1.46CU M SAE

1шт.

SA 1171-89510

Адаптер

1шт.

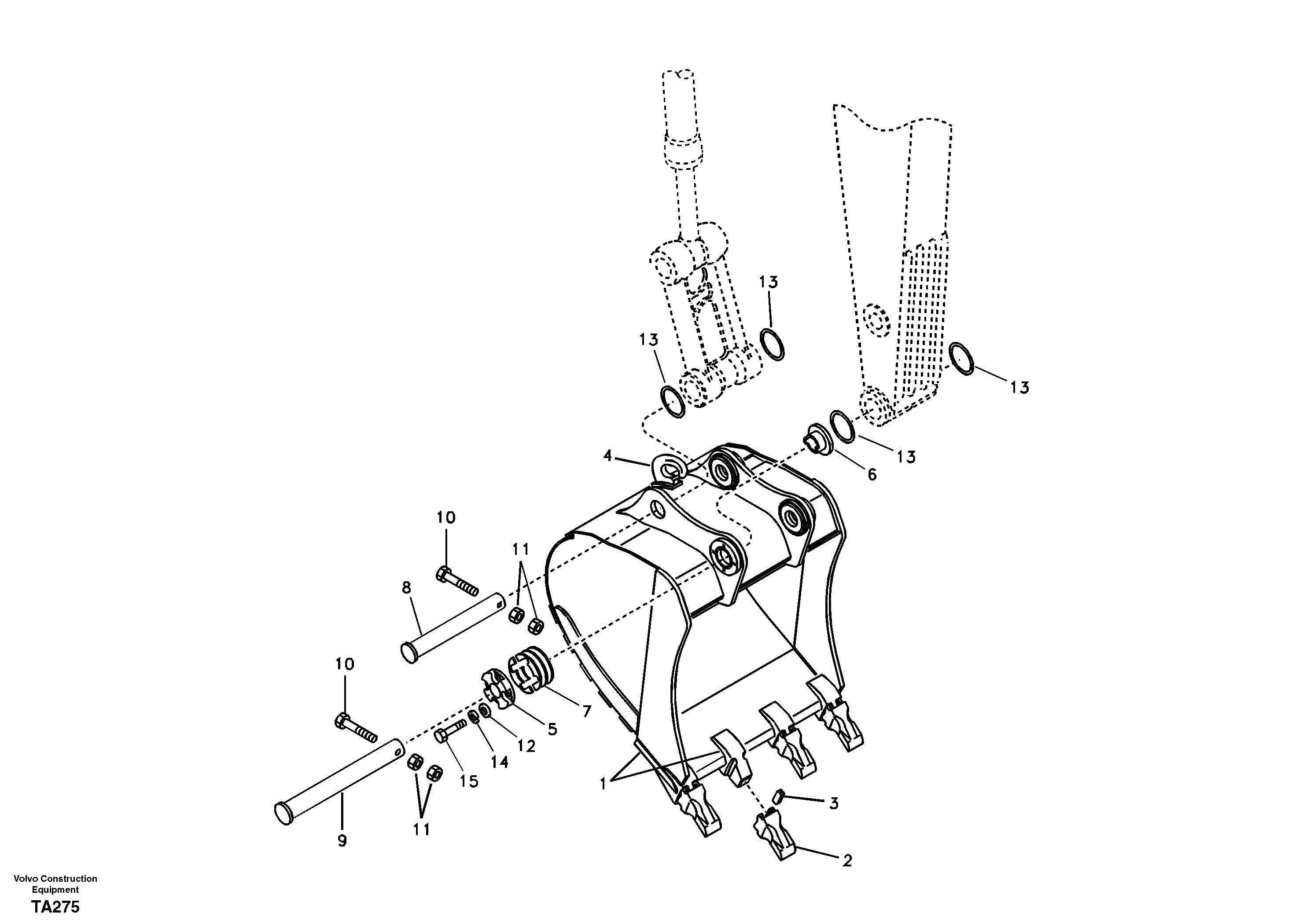
1

SA 1171-80131

Ковш

1.23CU M SAE

1шт.

10

SA 9011-21624

Винт шестигранник

1шт.

10

SA 9011-21624

Болт

1шт.

11

SA 9111-11600

Гайка

1шт.

12

SA 9211-16000

Шайба

1шт.

13

SA 9524-00127

Кольцо

1шт.

14

SA 9213-16000

Шайба пружинная

1шт.

15

SA 9011-11614

Болт

1шт.

2

SA 1171-89520

Зуб ковша

1шт.

3

SA 1171-89530

Палец

1шт.

4

SA 1171-88250

Hook

1шт.

5

SA 1172-00791

Крышка

1шт.

5

SA 1172-00791

Крышка

1шт.

6

SA 1172-00801

Втулка

1шт.

6

SA 1172-00801

Втулка

1шт.

7

SA 1172-03260

Прокладка

1шт.

7

SA 1172-03260

Прокладка

1шт.

8

SA 1172-07070

Палец

1шт.

9

SA 1172-07150

Палец

1шт.

Выбрано товаров: 0