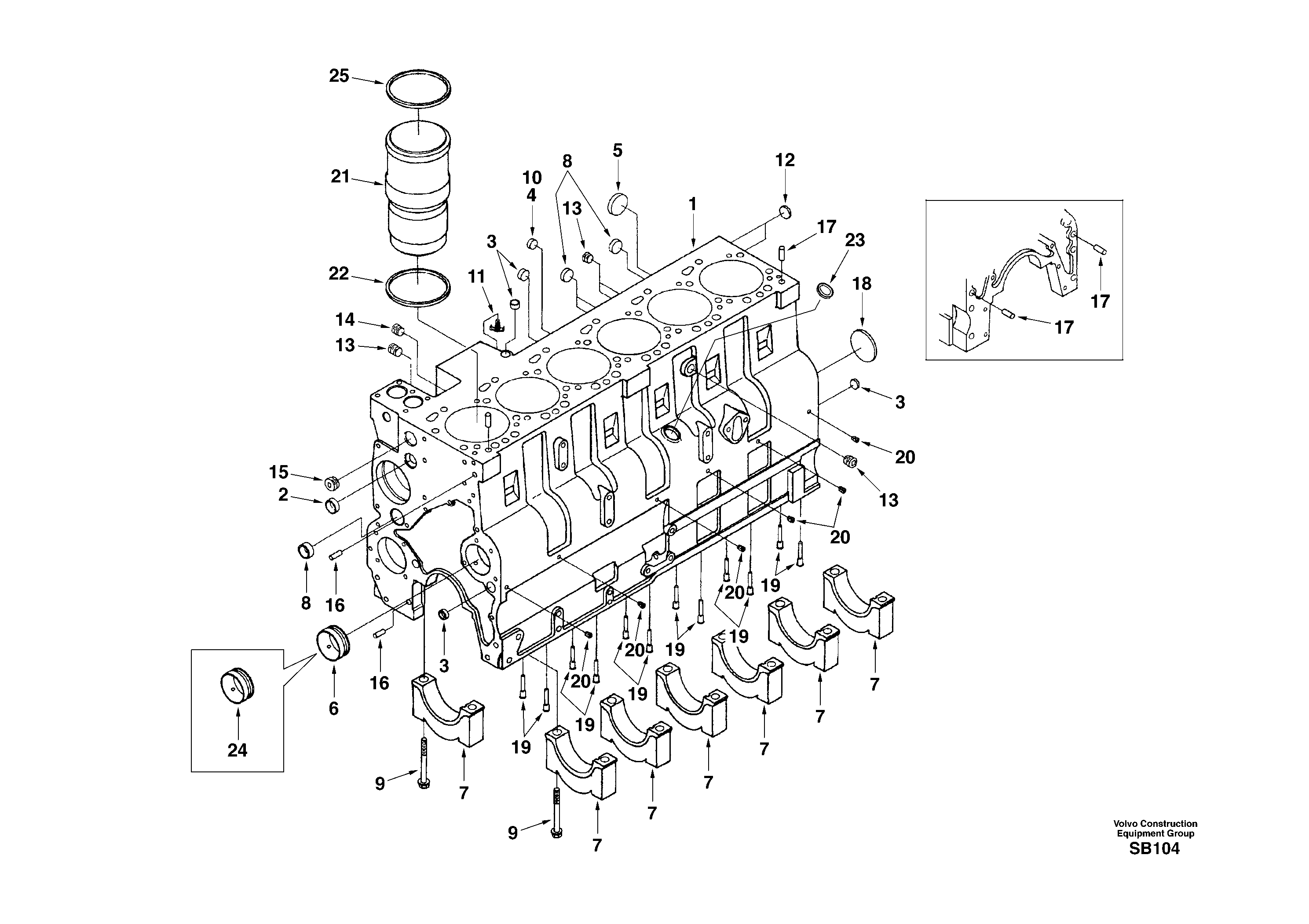
Запчасти Volvo EC240 33841 Блок цилиндров

Схема запчастей Volvo EC240 - 33841 Блок цилиндров
FIT
1:1
100%

Артикул

Название

Примечание

Количество

SA 3914654

Прокладка

0.38MM OS

1шт.

SA 3914655

Прокладка

0.50MM OS

1шт.

SA 3812090

Пробка (заглушка)

1шт.

1

SA 3802408

Корпус клапана

1шт.

10

SA 3802367

Kit

SET-HARDWARE

1шт.

100

SA 3802403

цилиндр

CYLINDER KIT

1шт.

11

SA S923E

Shut-off Cock

1шт.

12

SA 3920706

Пробка (заглушка)

1шт.

13

SA 3008468

Plug

1шт.

13

SA 3008468

Пробка (заглушка)

1шт.

14

SA 3008469

Пробка (заглушка)

1шт.

15

SA 3008470

Пробка (заглушка)

1шт.

16

SA 3900257

Locating pin

1шт.

17

SA 3901846

Locating pin

1шт.

18

SA 3901969

Пробка (заглушка)

1шт.

19

SA 3919003

Nozzle

1шт.

2

SA 143066

Пробка (заглушка)

1шт.

20

SA 3906619

Пробка (заглушка)

1шт.

21

SA 3802407

Liner

1шт.

22

SA 3907177

Сальник

1шт.

23

SA 3905401

Пробка (заглушка)

1шт.

24

SA 3908280

Втулка

OS CAMSHAFT

1шт.

25

SA 3914653

Прокладка

0.25MM OS

1шт.

3

SA 3004258

Пробка (заглушка)

1шт.

4

SA 156075

Пробка (заглушка)

1шт.

5

SA 3900965

Пробка (заглушка)

1шт.

6

SA 3901685

Втулка

1шт.

7

SA 3917313

Cap

1шт.

8

SA 3905401

Пробка (заглушка)

1шт.

9

SA 3916369

Болт

1шт.

Выбрано товаров: 0