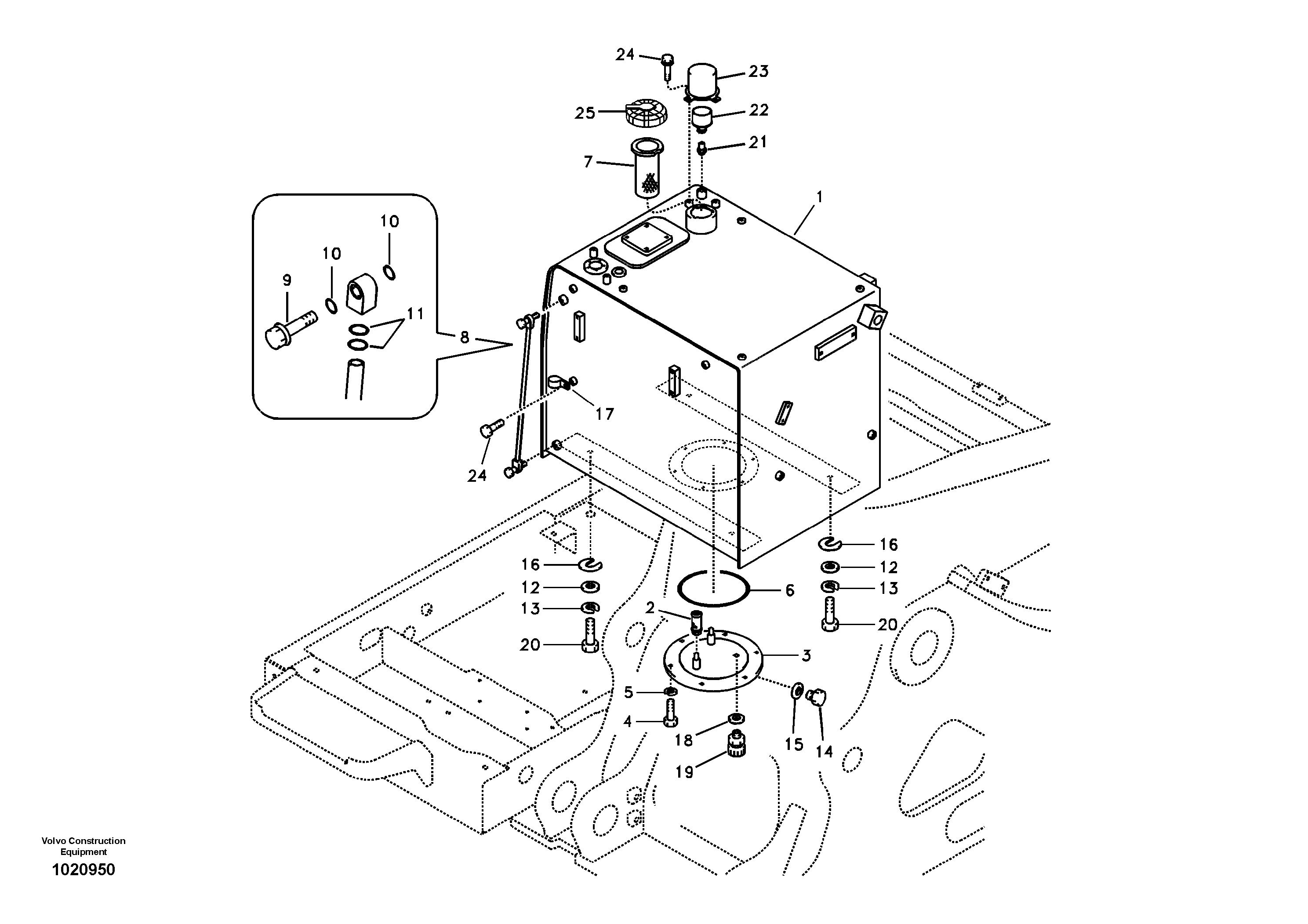
Запчасти Volvo EC240B 34829 Fuel tank with fitting parts EC240B SER NO INT 12641- EU & NA 80001-

Схема запчастей Volvo EC240B - 34829 Fuel tank with fitting parts EC240B SER NO INT 12641- EU & NA 80001-
FIT
1:1
100%

Артикул

Название

Примечание

Количество

VOE 14559396

Топливный бак (бензобак)

SER NO 80829-

1шт.

VOE 14539978

Gauge

SER NO 80829-

1шт.

VOE 14539978

Gauge

SER NO 80829-

1шт.

VOE 14528919

Cap

Master

1шт.

1

VOE 14528945

Топливный бак (бензобак)

SER NO 80001-80828

1шт.

10

VOE 983497

Кольцо уплотнительное (О-кольцо)

1шт.

10

VOE 983497

Кольцо уплотнительное (О-кольцо)

1шт.

11

VOE 990557

Кольцо уплотнительное (О-кольцо)

1шт.

11

VOE 990557

Кольцо уплотнительное (О-кольцо)

1шт.

12

SA 9211-20000

Шайба

1шт.

13

SA 9213-20000

Шайба пружинная

1шт.

14

SA 9415-22051

Пробка (заглушка)

1шт.

14

SA 9415-22051

Пробка (заглушка)

1шт.

15

VOE 13947622

Plane gasket

1шт.

15

VOE 13947622

Plane gasket

1шт.

16

VOE 14881065

Прокладка

1шт.

16

VOE 14881065

Прокладка

1шт.

17

VOE 14500294

Скоба (хомут)

SER NO 80001-80828

1шт.

17

VOE 14500294

Скоба (хомут)

SER NO 80001-80828

1шт.

18

SA 9426-20090

Прокладка

1шт.

19

VOE 14521728

Клапан

1шт.

19

VOE 14521728

Клапан

1шт.

2

VOE 14532260

Фильтр

1шт.

2

VOE 14532260

Фильтр

1шт.

20

SA 9011-12009

Болт

1шт.

20

SA 9011-12009

Болт

1шт.

21

VOE 14537347

Соединитель

1шт.

22

VOE 11172907

Фильтр воздушный

1шт.

22

VOE 11172907

Фильтр воздушный

1шт.

23

VOE 14529947

Крышка

1шт.

24

VOE 946441

Flange screw

1шт.

24

VOE 946441

Flange screw

1шт.

25

VOE 14528922

Cap

Specific

1шт.

25

VOE 14528922

Cap

Specific

1шт.

3

VOE 14539711

Крышка

1шт.

4

VOE 983251

Винт шестигранник

1шт.

4

VOE 983251

Винт шестигранник

1шт.

5

SA 9211-10000

Шайба

1шт.

5

SA 9211-10000

Шайба

1шт.

6

VOE 960259

Кольцо уплотнительное (О-кольцо)

1шт.

6

VOE 960259

Кольцо уплотнительное (О-кольцо)

1шт.

7

VOE 14537348

Фильтр топливный

1шт.

7

VOE 14537348

Фильтр

1шт.

8

VOE 14539976

Level indicator

SER NO 80001-80828

1шт.

8

VOE 14539976

Level indicator

SER NO 80001-80828

1шт.

9

VOE 14517557

Болт

1шт.

Выбрано товаров: 46