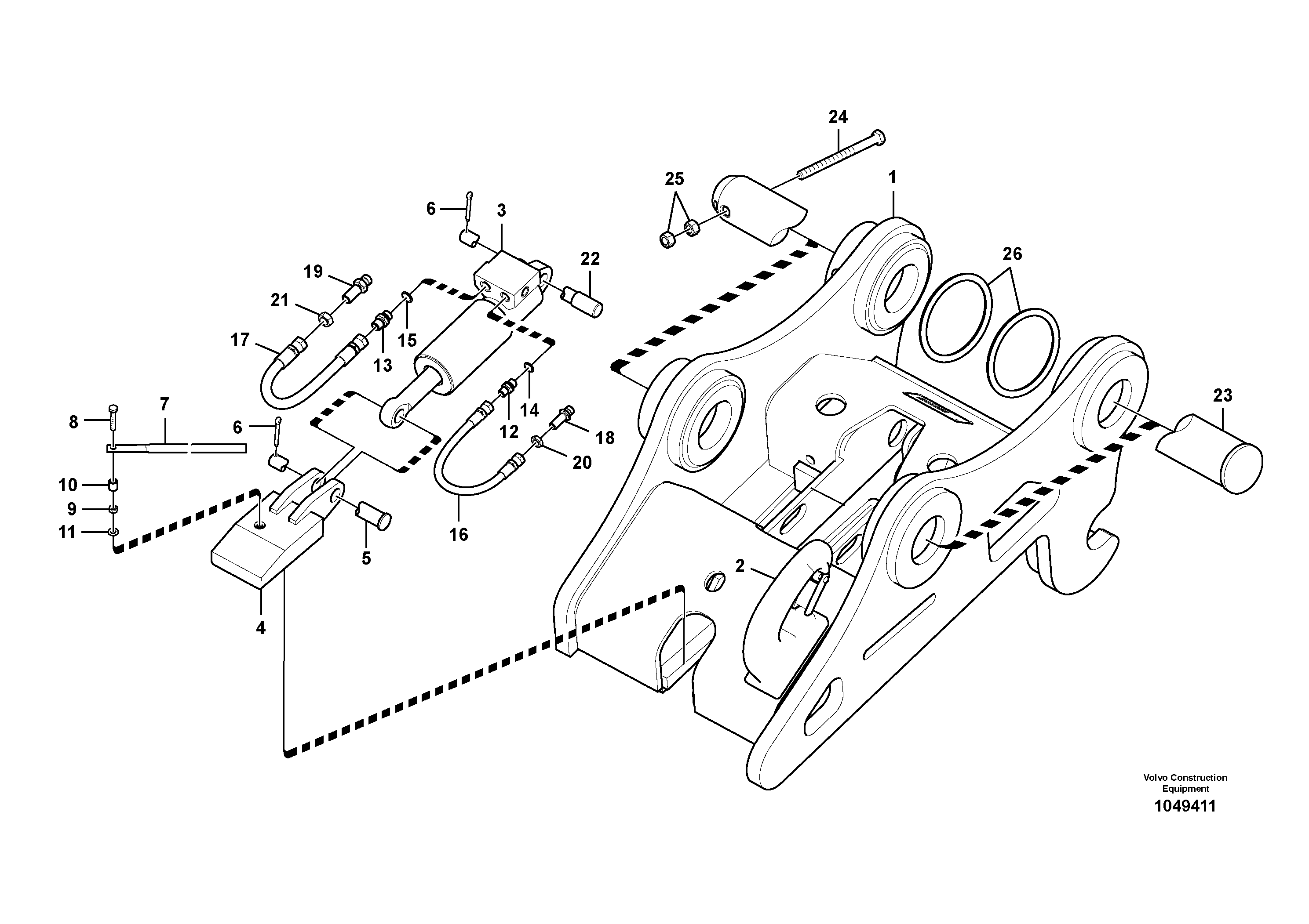
Запчасти Volvo EC240B 102548 Attachment bracket, quickfit EC240B PRIME S/N 15001-/35001-

Схема запчастей Volvo EC240B - 102548 Attachment bracket, quickfit EC240B PRIME S/N 15001-/35001-
FIT
1:1
100%

Артикул

Название

Примечание

Количество

VOE 983246

Винт шестигранник

1шт.

VOE 983246

Винт шестигранник

1шт.

VOE 14529588

Quick attachment

1шт.

1

VOE 14529584

Quick attachment

1шт.

10

SA 1171-75100

Вставка

1шт.

11

VOE 993835

Шайба

1шт.

12

SA 9412-22020

Соединитель

1шт.

13

SA 9412-22050

Соединитель

1шт.

13

SA 9412-22050

Соединитель

1шт.

14

SA 9426-20040

Прокладка

1шт.

15

SA 9426-20050

Прокладка

1шт.

16

SA 9459-05190

Шланг

1шт.

17

SA 9459-05200

Шланг

1шт.

18

SA 9416-11091

Соединитель

1шт.

19

SA 9416-11101

Соединитель

1шт.

2

VOE 14529886

Hook

1шт.

2

VOE 14529886

Hook

1шт.

20

SA 1040-80490

Гайка

1шт.

21

SA 2043-00120

Гайка

1шт.

21

SA 2043-00120

Hexagon nut

1шт.

22

SA 1171-75082

Палец

1шт.

23

VOE 14511730

Палец

1шт.

23

VOE 14511730

Палец

1шт.

24

VOE 978943

Винт шестигранник

1шт.

24

VOE 978943

Болт

1шт.

25

VOE 979021

Hexagon nut

1шт.

25

VOE 979021

Hexagon nut

1шт.

26

VOE 14880693

Кольцо

1шт.

26

VOE 14880693

Кольцо

1шт.

3

VOE 14522370

цилиндр

1шт.

4

SA 1171-75060

Key

1шт.

5

SA 1171-75072

Палец

1шт.

6

SA 9323-05922

Split Pin

1шт.

7

SA 1171-75090

Опора

1шт.

8

VOE 991123

Винт шестигранник

1шт.

9

VOE 983303

Гайка

1шт.

9

VOE 983303

Hexagon nut

1шт.

Выбрано товаров: 0