Запчасти Volvo EC280 100740 Насос масляный EC280 SER NO 1001-

Схема запчастей Volvo EC280 - 100740 Насос масляный EC280 SER NO 1001-
FIT
1:1
100%

Артикул

Название

Примечание

Количество

VOE 276156

Ремкомплект

1шт.

VOE 276156

Ремкомплект

1шт.

VOE 471579

Вал

1шт.

VOE 471579

Вал приводной (ведущий)

1шт.

VOE 13965183

Flange screw

1шт.

VOE 13965183

Flange screw

1шт.

VOE 477547

Насос масляный

ENG - 97292

1шт.

VOE 864760

Насос масляный

ENG 97293 -

1шт.

VOE 478273

Промежуточный вал

1шт.

VOE 478273

Вал

1шт.

VOE 276152

Ремкомплект

1шт.

VOE 276152

Ремкомплект

1шт.

VOE 470345

Oil pump housing

1шт.

VOE 470345

Картер (корпус)

1шт.

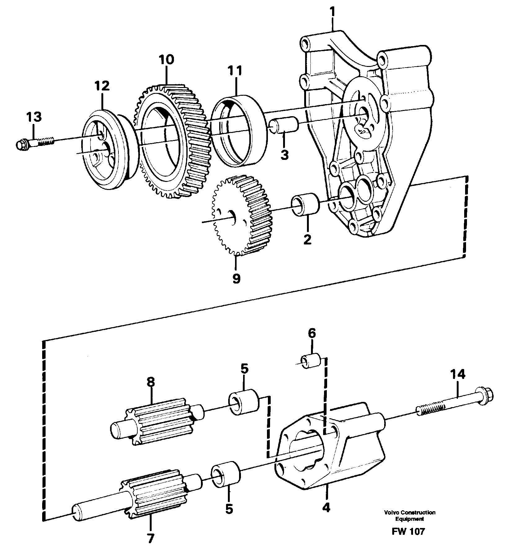
1

VOE 471571

471571

1шт.

10

VOE 471942

Drive Gear

1шт.

11

VOE 471585

Втулка

1шт.

11

VOE 471585

Bushing

1шт.

11

VOE 471585

Промежуточная шестерня

1шт.

12

VOE 420048

Bearing sleeve

1шт.

13

VOE 471586

Screw

1шт.

13

VOE 471586

Болт

1шт.

14

VOE 13965218

Болт

1шт.

2

VOE 470347

Втулка

1шт.

3

VOE 191171

Палец

1шт.

4

VOE 471727

Oil pump housing

1шт.

5

VOE 470347

Втулка

1шт.

6

VOE 401146

Guide sleeve

1шт.

9

VOE 471941

Drive Gear

1шт.

Выбрано товаров: 29