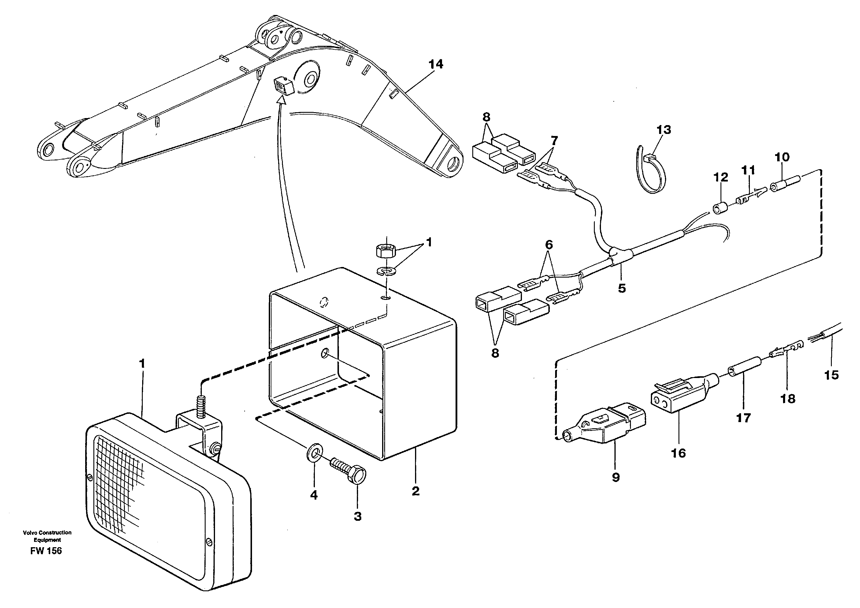
Запчасти Volvo EC280 53521 Working lamp on boom EC280 SER NO 1001-

Схема запчастей Volvo EC280 - 53521 Working lamp on boom EC280 SER NO 1001-
FIT
1:1
100%

Артикул

Название

Примечание

Количество

VOE 943903

Bulb

1шт.

VOE 943903

Bulb

1шт.

1

VOE 14340075

Фара

1шт.

10

VOE 1608765

Tab housing

1шт.

10

VOE 1608765

Tab housing

1шт.

11

VOE 965825

Cable terminal

1шт.

11

VOE 965825

Cable terminal

1шт.

12

VOE 1608766

Сальник

1шт.

13

VOE 4881440

Cable tie

1шт.

13

VOE 4881440

Cable tie

1шт.

16

VOE 1624477

Receptacle housing

1шт.

16

VOE 1624477

Receptacle housing

1шт.

17

VOE 1598753

Insulation

1шт.

18

VOE 965823

Cable terminal

1шт.

18

VOE 965823

Cable terminal

1шт.

2

VOE 14342951

Lantern bracket

1шт.

3

VOE 13946817

Болт

1шт.

3

VOE 13946817

Болт

1шт.

4

VOE 13960145

Шайба

1шт.

4

VOE 13960145

Шайба

1шт.

5

VOE 14342826

14342826

1шт.

6

VOE 973120

Cable terminal

1шт.

6

VOE 973120

Cable terminal

1шт.

7

VOE 14342430

Cable terminal

1шт.

8

VOE 943511

Картер (корпус)

1шт.

8

VOE 943511

Изолятор

1шт.

9

VOE 8143240

Изолятор

1шт.

9

VOE 8143240

Картер (корпус)

1шт.

Выбрано товаров: 28