Запчасти Volvo EC280 85784 Шайба лобового стекла (ветрового) EC280 SER NO 1001-

Схема запчастей Volvo EC280 - 85784 Шайба лобового стекла (ветрового) EC280 SER NO 1001-
FIT
1:1
100%

Артикул

Название

Примечание

Количество

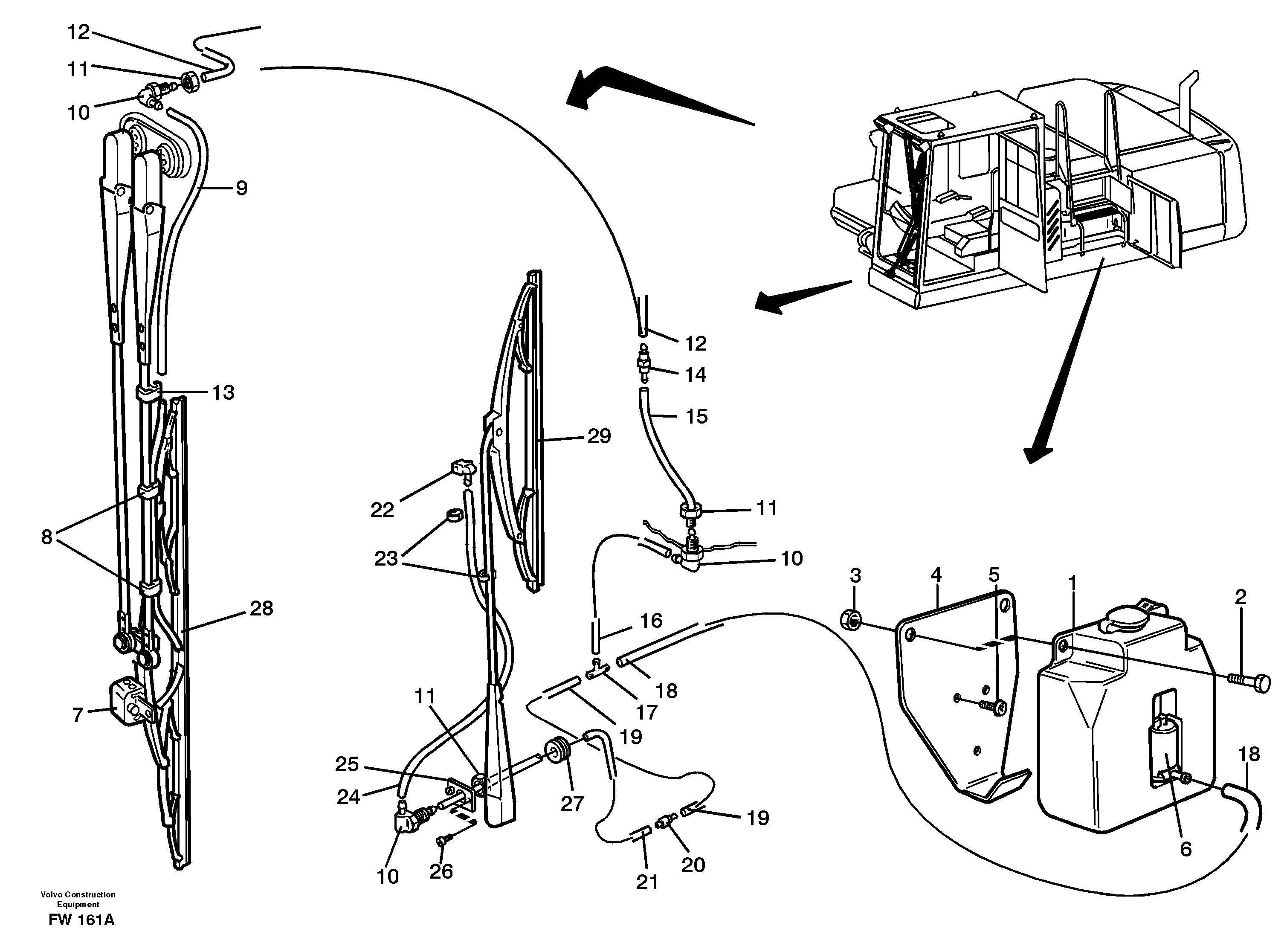
1

VOE 14262795

Fluid reservoir

1шт.

10

VOE 14213369

L-connection

1шт.

10

VOE 14213369

L-connection

1шт.

11

VOE 13945408

Гайка

1шт.

11

VOE 13945408

Гайка

1шт.

12

VOE 14014211

Plastic hose

L=3055MM

1шт.

12

VOE 14014211

Plastic hose

L=3055MM

1шт.

13

VOE 14213459

Hose retainer

1шт.

14

VOE 1210139

Non-return valve

1шт.

14

VOE 1210139

Клапан обратный

1шт.

15

VOE 1304841

Шланг

L=400MM

1шт.

15

VOE 1304841

Шланг

L=400MM

1шт.

16

VOE 1304841

Шланг

L=270MM

1шт.

16

VOE 1304841

Шланг

L=270MM

1шт.

17

VOE 688658

Трубка

1шт.

17

VOE 688658

Трубка

1шт.

18

VOE 1304841

Шланг

L=1800MM

1шт.

18

VOE 1304841

Шланг

L=1800MM

1шт.

19

VOE 1304841

Шланг

L=60MM

1шт.

19

VOE 1304841

Шланг

L=60MM

1шт.

2

VOE 971306

Винт шестигранник (торцевой ключ)

1шт.

2

VOE 971306

Болт

1шт.

20

VOE 1210139

Non-return valve

1шт.

20

VOE 1210139

Клапан обратный

1шт.

21

VOE 1304841

Шланг

L=1800MM

1шт.

21

VOE 1304841

Шланг

L=1800MM

1шт.

22

VOE 14213366

Nozzle

1шт.

23

VOE 14213368

Зажим

1шт.

24

VOE 14212954

Rubber hose

L=600MM

1шт.

25

VOE 14252345

Тарелка клапана

1шт.

26

VOE 14213814

Болт

1шт.

26

VOE 14213814

Болт

1шт.

27

VOE 14014291

Уплотнительная втулка

1шт.

27

VOE 14014291

Уплотнительная втулка

1шт.

3

VOE 13965483

Nut

1шт.

3

VOE 13965483

Гайка

1шт.

4

VOE 14262965

14262965

1шт.

5

VOE 969738

Болт

1шт.

5

VOE 969738

Винт шестигранник (торцевой ключ)

1шт.

6

VOE 4803571

Washer pump

1шт.

7

VOE 14213365

Nozzle

1шт.

8

VOE 14213367

Зажим

1шт.

9

VOE 14212954

Rubber hose

L=900MM

1шт.

Выбрано товаров: 43