Запчасти Volvo EC290 11224 Anti slip

Схема запчастей Volvo EC290 - 11224 Anti slip
FIT
1:1
100%

Артикул

Название

Примечание

Количество

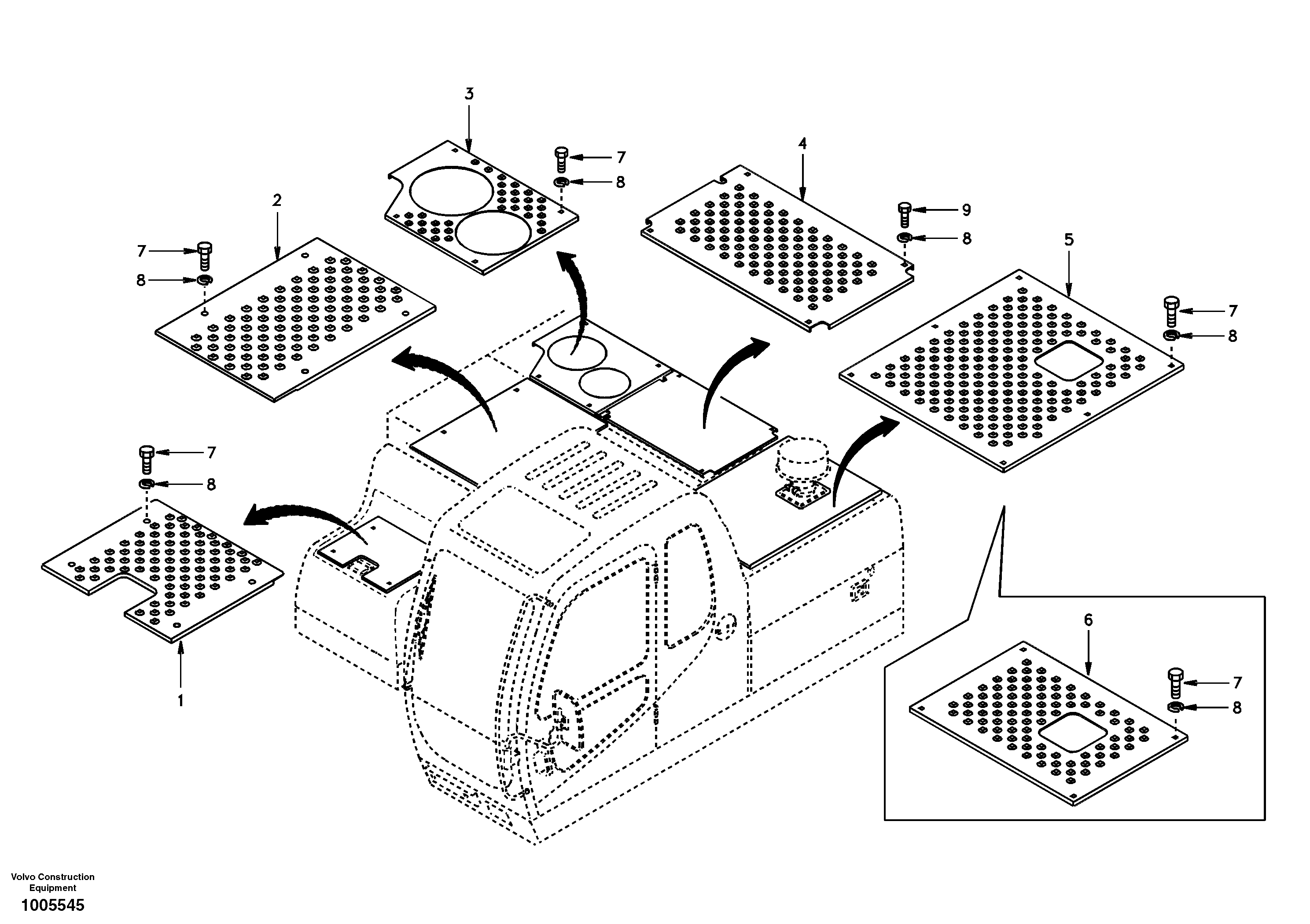
VOE 14513536

Slip Protection

SER NO 3746-

1шт.

1

SA 1166-03931

Slip Protection

1шт.

2

SA 1166-04320

Slip Protection

1шт.

3

SA 1166-04330

Slip Protection

1шт.

4

SA 1166-04340

Slip Protection

SER NO 3001-3745

1шт.

5

VOE 14500216

Slip Protection

1шт.

6

SA 1166-04350

Slip Protection

1шт.

7

SA 9011-11203

Болт

1шт.

8

SA 1012-00160

Шайба

1шт.

9

SA 9011-11205

Болт

SER NO 3746-

1шт.

Выбрано товаров: 10