Запчасти Volvo EC290 100410 Гидробак

Схема запчастей Volvo EC290 - 100410 Гидробак
FIT
1:1
100%

Артикул

Название

Примечание

Количество

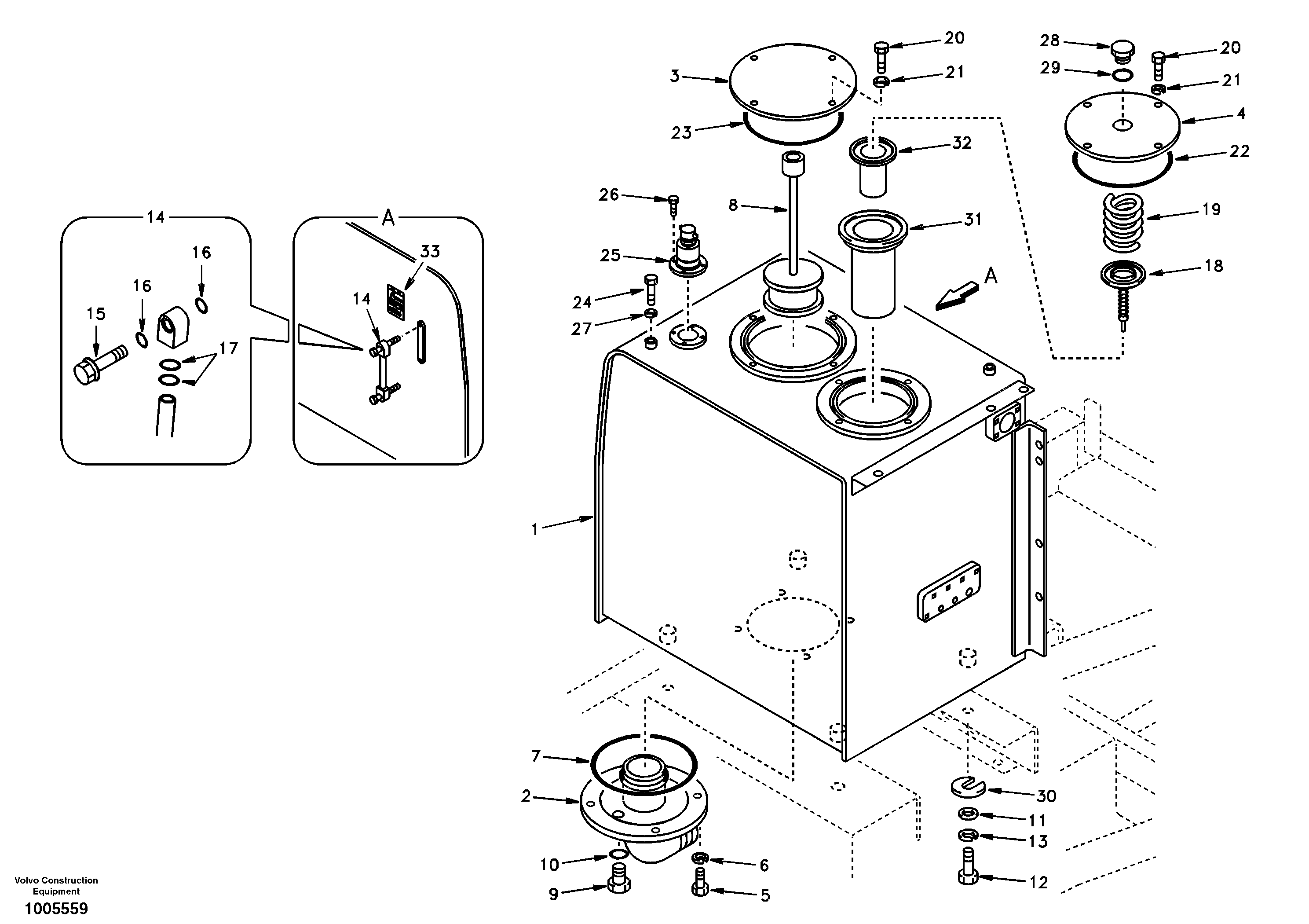
SA 1192-04710

Decal

1шт.

SA 9213-10000

Шайба пружинная

SER NO 3045-

1шт.

SA 9011-11005

Болт

SER NO 3045-

1шт.

VOE 14500233

Муфта

1шт.

SA 1192-04880

Decal

1шт.

1

SA 1141-02220

Hydr fluid tank

1шт.

10

SA 9511-12028

Кольцо уплотнительное (О-кольцо)

1шт.

11

SA 9211-20000

Шайба

1шт.

12

SA 9011-12009

Болт

1шт.

12

SA 9011-12009

Болт

1шт.

13

SA 9213-20000

Шайба пружинная

1шт.

14

SA 1141-01720

Lvl Ind Pipe

1шт.

15

VOE 14517557

Болт

1шт.

16

SA 9511-12010

Кольцо уплотнительное (О-кольцо)

1шт.

17

SA 9511-12018

Кольцо уплотнительное (О-кольцо)

1шт.

18

SA 1041-00140

Клапан

1шт.

19

SA 1041-00150

Пружина

1шт.

2

SA 1141-01410

Крышка

1шт.

20

SA 9011-11005

Болт

SER NO 3001-3044

1шт.

21

SA 9213-10000

Шайба пружинная

SER NO 3001-3044

1шт.

22

SA 9511-22190

Кольцо уплотнительное (О-кольцо)

1шт.

23

SA 9511-22230

Кольцо уплотнительное (О-кольцо)

1шт.

24

SA 9011-11203

Болт

SER NO 3001-3044

1шт.

25

SA 1141-00080

Breather

1шт.

26

SA 9016-10603

Болт

1шт.

27

SA 9213-12000

Шайба пружинная

SER NO 3001-3044

1шт.

28

SA 1141-02161

Пробка (заглушка)

1шт.

29

SA 9511-12040

Кольцо уплотнительное (О-кольцо)

1шт.

3

SA 1141-01021

Крышка

1шт.

30

SA 9742-50020

Прокладка

1шт.

31

SA 1141-00040

Муфта

1шт.

32

SA 1041-00750

Фильтр

1шт.

33

SA 1192-04700

Decal

1шт.

4

SA 1141-02230

Крышка

1шт.

5

SA 9011-11005

Болт

1шт.

6

SA 9213-10000

Шайба пружинная

1шт.

7

SA 9511-22230

Кольцо уплотнительное (О-кольцо)

1шт.

8

SA 1141-00030

Фильтр

1шт.

9

SA 1010-60030

Пробка (заглушка)

1шт.

Выбрано товаров: 39