Запчасти Volvo EC290 28753 Intercooler

Схема запчастей Volvo EC290 - 28753 Intercooler
FIT
1:1
100%

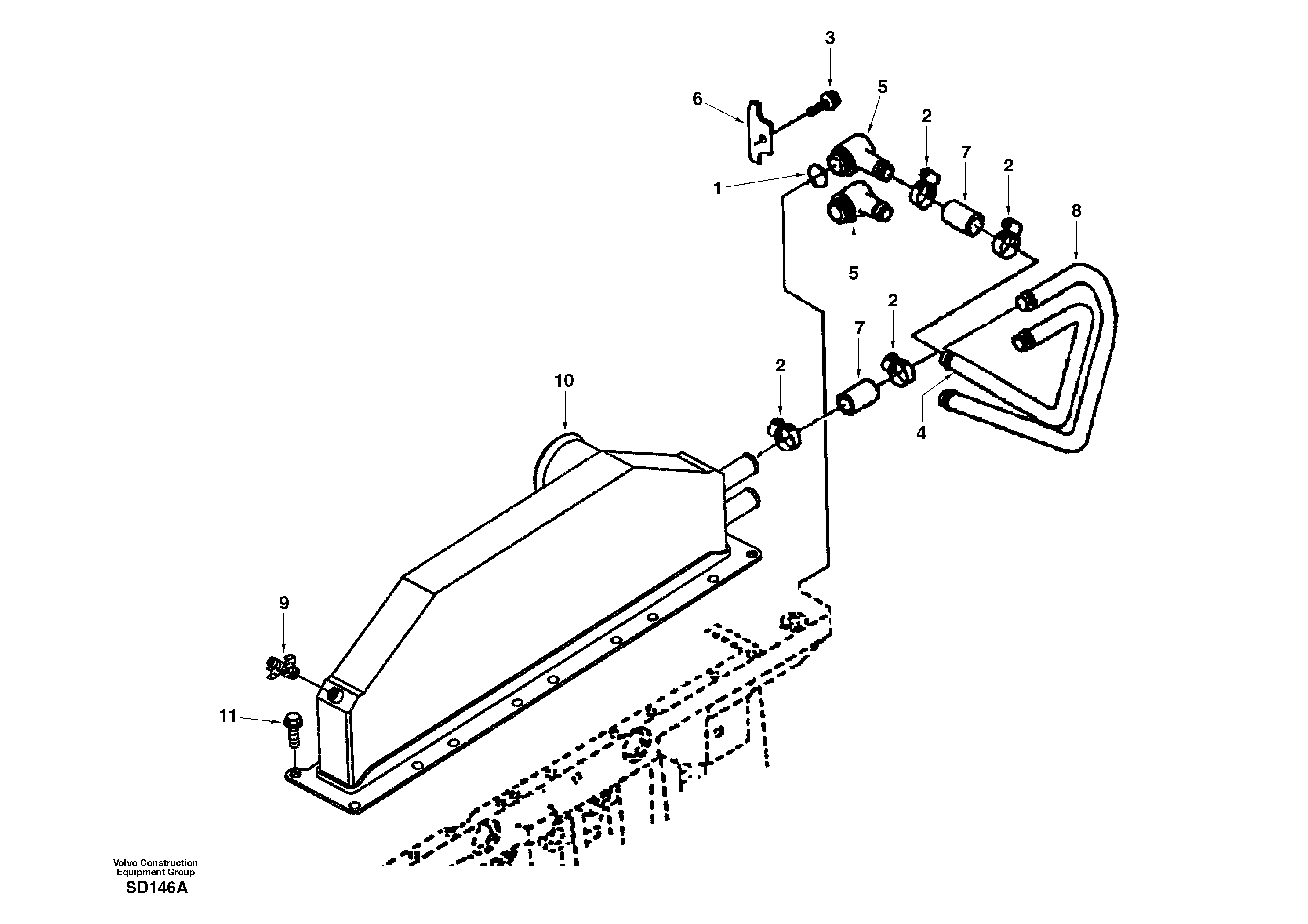
Артикул

Название

Примечание

Количество

1

SA 145530

Сальник

1шт.

10

SA 3924733

Chg Air Cooler

1шт.

11

SA 3918109

Болт

1шт.

11

SA 3918109

Болт

1шт.

2

SA 3918163

Зажим

1шт.

3

SA 3925883

Болт

1шт.

4

SA 3906436

Трубка

1шт.

5

SA 3917394

Соединитель

1шт.

6

SA 3906439

Пластина

1шт.

7

SA 3918611

Шланг

1шт.

8

SA 3908402

Трубка

1шт.

9

SA 3909394

Shut-off Cock

1шт.

Выбрано товаров: 12