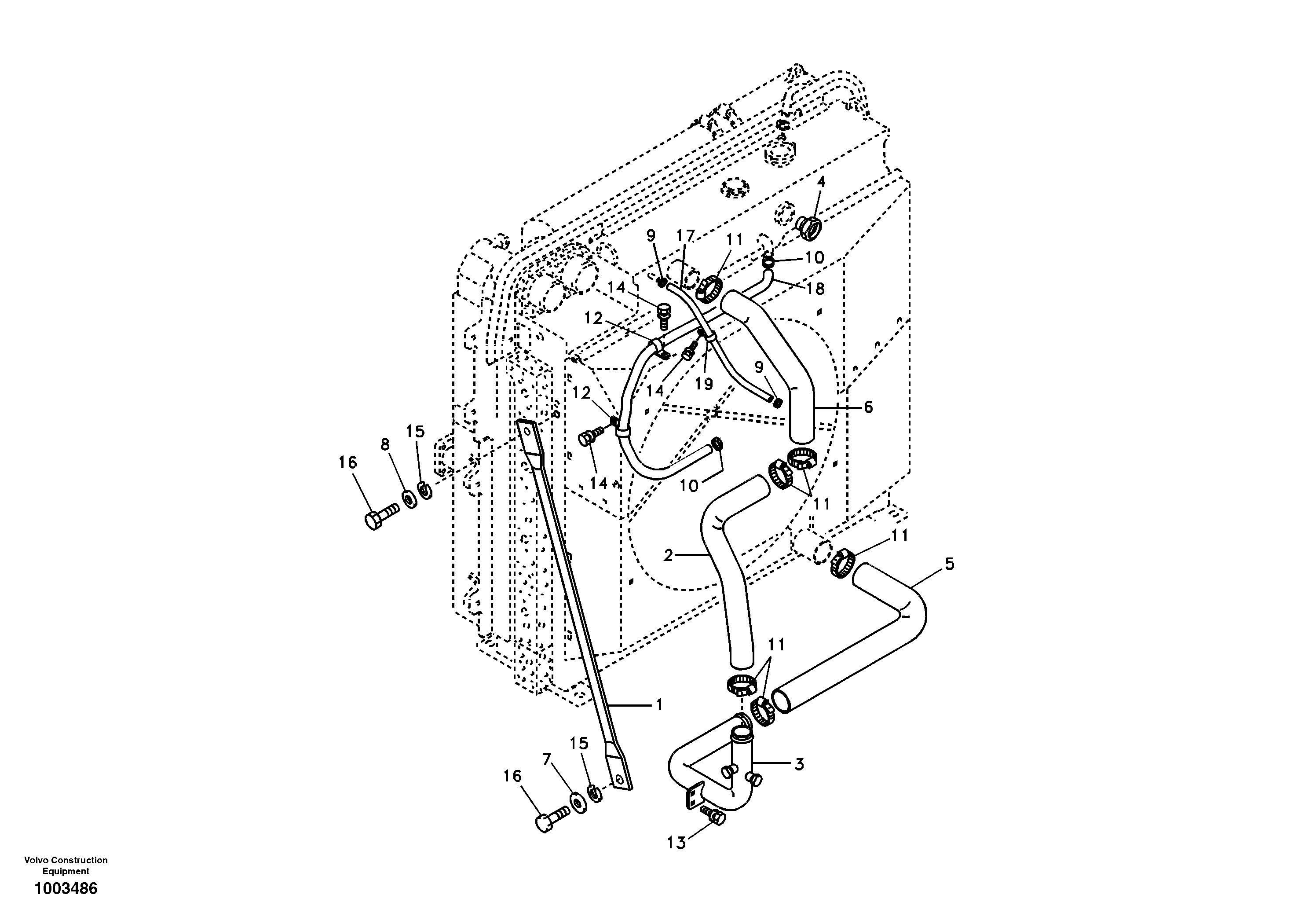
Запчасти Volvo EC290B 23894 Система охлаждения EC290B SER NO INT 13562- EU & NA 80001-

Схема запчастей Volvo EC290B - 23894 Система охлаждения EC290B SER NO INT 13562- EU & NA 80001-
FIT
1:1
100%

Артикул

Название

Примечание

Количество

VOE 14523904

Опора

SER NO 11395-

1шт.

VOE 14523904

Опора

SER NO 11395-

1шт.

VOE 14521368

Трубка

SER NO 11101-

1шт.

VOE 14521368

Трубка

SER NO 13562-13948

1шт.

VOE 14548946

Трубка

SER NO 13949-

1шт.

VOE 14881166

Шланг

SER NO 11101-

1шт.

VOE 14881166

Шланг

SER NO 11101-

1шт.

VOE 14881506

Зажим

SER NO 12946-

1шт.

VOE 14881506

Зажим

SER NO 12946-

1шт.

VOE 946471

Flange screw

SER NO 10061-

1шт.

VOE 946471

Flange screw

SER NO 10061-

1шт.

1

SA 1015-02830

Опора

SER NO 10001-11394

1шт.

10

SA 9312-10175

Зажим

1шт.

11

SA 9312-10250

Зажим

SER NO 10001-12945

1шт.

12

SA 9315-03001

Скоба (хомут)

1шт.

13

VOE 946441

Flange screw

1шт.

13

VOE 946441

Flange screw

1шт.

14

VOE 946471

Flange screw

SER NO 10001-10060

1шт.

14

VOE 946471

Flange screw

SER NO 10001-10060

1шт.

15

VOE 955923

Шайба пружинная

1шт.

15

VOE 955923

Шайба пружинная

1шт.

16

VOE 978932

Болт

1шт.

16

VOE 978932

Винт шестигранник

1шт.

17

VOE 14881150

Шланг

1шт.

17

VOE 14881150

Шланг

1шт.

18

SA 9962-02127

Шланг

SER NO 10001-11100

1шт.

18

SA 9962-02127

Шланг

SER NO 10001-11100

1шт.

19

SA 9315-01401

Insulating clip

SER NO 10061-

1шт.

19

SA 9315-01401

Скоба (хомут)

SER NO 10061-

1шт.

2

VOE 14501342

Шланг

1шт.

2

VOE 14501342

Шланг

1шт.

3

VOE 14501344

Трубка

SER NO 10001-11100

1шт.

4

VOE 14506388

Gauge

SIGHT

1шт.

5

VOE 14510779

Шланг

1шт.

5

VOE 14510779

Шланг

1шт.

6

VOE 14510866

Шланг

1шт.

6

VOE 14510866

Шланг

1шт.

7

VOE 14532477

Шайба

1шт.

7

VOE 14532477

Шайба

1шт.

8

SA 9211-12000

Шайба

1шт.

8

SA 9211-12000

Шайба

1шт.

9

SA 9312-00004

Зажим

1шт.

Выбрано товаров: 42