Запчасти Volvo EC300 25317 Magnet equipment Ohio, alternator 20 kw EC300 ?KERMAN ?KERMAN EC300

Схема запчастей Volvo EC300 - 25317 Magnet equipment Ohio, alternator 20 kw EC300 ?KERMAN ?KERMAN EC300
FIT
1:1
100%

Артикул

Название

Примечание

Количество

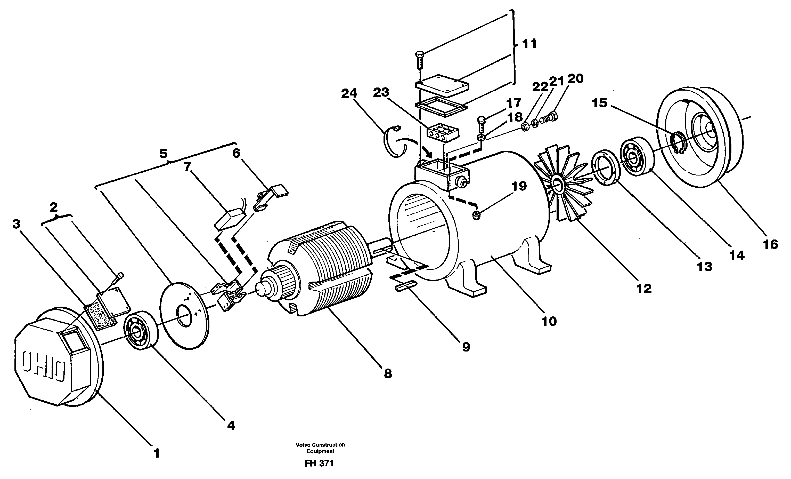
VOE 14264978

Alternator

1шт.

14

VOE 11701873

Ball bearing

1шт.

15

VOE 11701875

Retaining ring

1шт.

17

VOE 13955271

Болт

1шт.

17

VOE 13955271

Болт

1шт.

18

VOE 955893

Шайба

1шт.

18

VOE 955893

Шайба

1шт.

19

VOE 13955781

Гайка

1шт.

19

VOE 13955781

Гайка

1шт.

20

VOE 13955295

Болт

1шт.

20

VOE 13955295

Болт

1шт.

21

VOE 13955894

Шайба

1шт.

21

VOE 13955894

Шайба

1шт.

22

VOE 955782

Hexagon nut

1шт.

22

VOE 955782

Hexagon nut

1шт.

23

VOE 14213202

Mult Connection

1шт.

24

VOE 14016673

Strip clamp

1шт.

24

VOE 14016673

Strip clamp

1шт.

3

VOE 11701864

Сальник

1шт.

4

VOE 11701872

Ball bearing

1шт.

5

VOE 11701866

Carbon Br Rtnr

1шт.

6

VOE 11701865

Пружина

1шт.

7

VOE 11701863

Carbon brush

1шт.

9

VOE 11701867

Key

1шт.

Выбрано товаров: 24