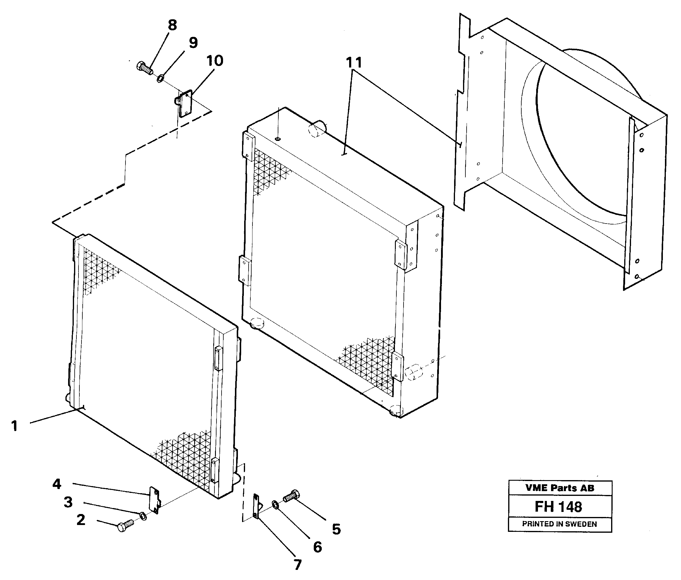
Запчасти Volvo EC300 36399 Радиатор масляной для гидравлики EC300 ?KERMAN ?KERMAN EC300

Схема запчастей Volvo EC300 - 36399 Радиатор масляной для гидравлики EC300 ?KERMAN ?KERMAN EC300
FIT
1:1
100%

Артикул

Название

Примечание

Количество

1

VOE 14261581

Hydr Oil Cooler

1шт.

10

VOE 14254266

Hinge

1шт.

10

VOE 14254266

Hinge

1шт.

2

VOE 13970947

Винт шестигранник

1шт.

2

VOE 13970947

Винт шестигранник

1шт.

3

VOE 976945

Шайба

1шт.

3

VOE 976945

Шайба

1шт.

4

VOE 14256177

Lock Plate

1шт.

4

VOE 14256177

Lock Plate

1шт.

5

VOE 13970947

Винт шестигранник

1шт.

5

VOE 13970947

Винт шестигранник

1шт.

6

VOE 976945

Шайба

1шт.

6

VOE 976945

Шайба

1шт.

7

VOE 14254398

Lock Wedge

1шт.

7

VOE 14254398

Lock Wedge

1шт.

8

VOE 13970947

Винт шестигранник

1шт.

8

VOE 13970947

Винт шестигранник

1шт.

9

VOE 976945

Шайба

1шт.

9

VOE 976945

Шайба

1шт.

Выбрано товаров: 19