Запчасти Volvo EC300 40853 Steering block hammer EC300 ?KERMAN ?KERMAN EC300

Схема запчастей Volvo EC300 - 40853 Steering block hammer EC300 ?KERMAN ?KERMAN EC300
FIT
1:1
100%

Артикул

Название

Примечание

Количество

VOE 14016347

Кольцо уплотнительное (О-кольцо)

1шт.

VOE 14016347

Кольцо уплотнительное (О-кольцо)

1шт.

VOE 14230050

Valve body

1шт.

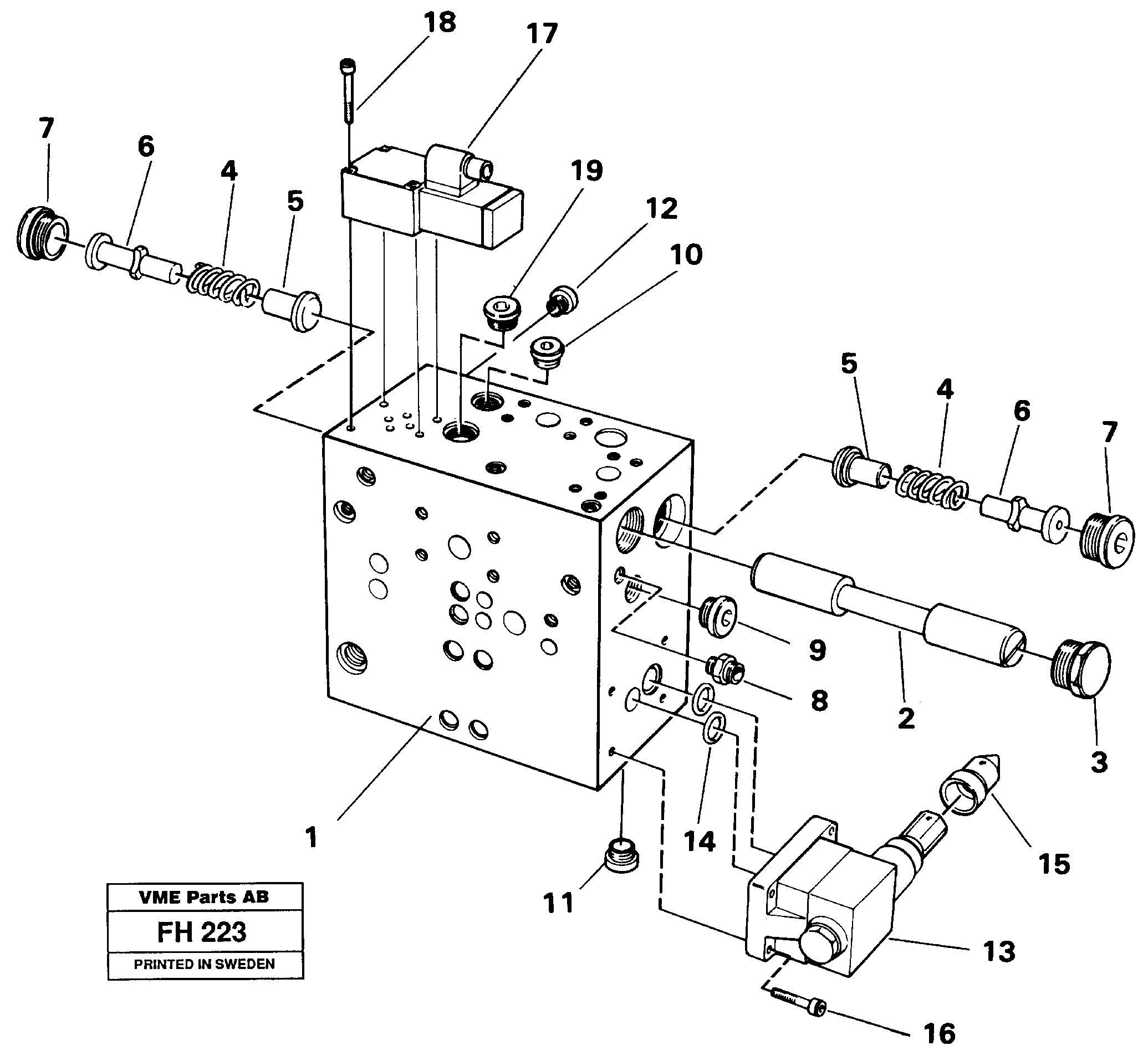
1

VOE 14230051

14230051

1шт.

10

VOE 14023409

Пробка (заглушка)

1шт.

10

VOE 14023409

Пробка (заглушка)

1шт.

11

VOE 14023409

Пробка (заглушка)

1шт.

11

VOE 14023409

Пробка (заглушка)

1шт.

12

VOE 14023406

Tube Plug

1шт.

14

VOE 13949721

Кольцо уплотнительное (О-кольцо)

1шт.

14

VOE 13949721

Кольцо уплотнительное (О-кольцо)

1шт.

15

VOE 14236470

Cap

1шт.

16

VOE 959241

Винт шестигранник (торцевой ключ)

1шт.

17

VOE 11716048

Встроенный клапан в сборе

1шт.

17

VOE 11716048

Встроенный клапан в сборе

1шт.

18

VOE 959197

Allen Hd Screw

1шт.

19

VOE 14023410

Tube Plug

1шт.

2

VOE 14230049

Valve slide

1шт.

3

VOE 14023411

Tube Plug

1шт.

4

VOE 14024209

Пружина

1шт.

4

VOE 14024209

Пружина

1шт.

5

VOE 14241311

Peg

1шт.

5

VOE 14241311

Peg

1шт.

6

VOE 14253214

Valve guide

1шт.

6

VOE 14253214

Valve guide

1шт.

7

VOE 14023411

Tube Plug

1шт.

8

VOE 14012413

14012413

1шт.

9

VOE 14023409

Пробка (заглушка)

1шт.

9

VOE 14023409

Пробка (заглушка)

1шт.

Выбрано товаров: 29