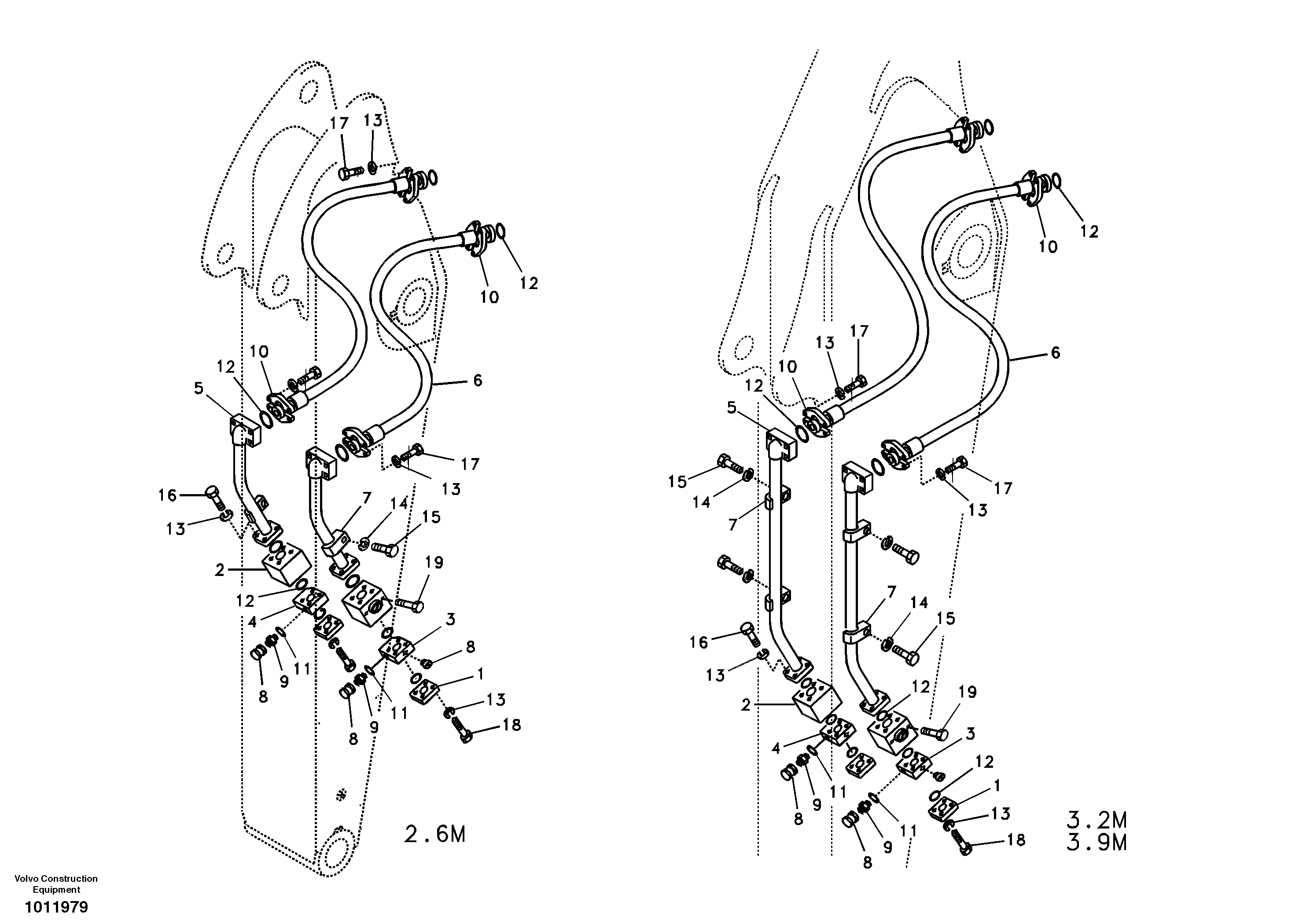
Запчасти Volvo EC330B 78763 Working hydraulic, hammer and shear for dipper arm EC330B

Схема запчастей Volvo EC330B - 78763 Working hydraulic, hammer and shear for dipper arm EC330B
FIT
1:1
100%

Артикул

Название

Примечание

Количество

VOE 14524929

Корпус клапана

SER NO 10242-

1шт.

VOE 984135

Болт

SER NO 10166-

1шт.

VOE 984135

Винт шестигранник (торцевой ключ)

SER NO 10166-

1шт.

VOE 984359

Винт шестигранник (торцевой ключ)

SER NO 10166-

1шт.

VOE 984359

Болт

SER NO 10166-

1шт.

VOE 14524930

Корпус клапана

SER NO 10242-

1шт.

VOE 14524930

Корпус клапана

SER NO 10242-

1шт.

SA 9411-91000

Пробка (заглушка)

SER NO 10486-

1шт.

VOE 984254

Винт шестигранник (торцевой ключ)

SER NO 10166-

1шт.

VOE 984360

Болт

SER NO 10166-

1шт.

VOE 984360

Винт шестигранник (торцевой ключ)

SER NO 10166-

1шт.

VOE 14514467

Трубка

1шт.

VOE 14532955

Соединитель

SER NO 10486-

1шт.

SA 9459-05240

Шланг

1шт.

1

VOE 14531121

Пробка (заглушка)

1шт.

10

SA 9425-51042

Фланец

1шт.

11

SA 9511-12014

Кольцо уплотнительное (О-кольцо)

1шт.

12

SA 9512-02222

Кольцо уплотнительное (О-кольцо)

1шт.

12

SA 9512-02222

Кольцо уплотнительное (О-кольцо)

1шт.

13

SA 9213-14000

Шайба

1шт.

13

SA 9213-14000

Шайба пружинная

1шт.

14

VOE 955926

Шайба пружинная

1шт.

14

VOE 955926

Шайба пружинная

1шт.

15

VOE 978940

Винт шестигранник

1шт.

15

VOE 978940

Винт шестигранник

1шт.

16

VOE 983317

Болт

SER NO 10001-10165

1шт.

16

VOE 983317

Винт шестигранник (торцевой ключ)

SER NO 10001-10165

1шт.

17

VOE 983318

Винт шестигранник (торцевой ключ)

SER NO 10001-10165

1шт.

17

VOE 983318

Болт

SER NO 10001-10165

1шт.

18

VOE 983319

Винт шестигранник (торцевой ключ)

SER NO 10001-10165

1шт.

19

VOE 983320

Винт шестигранник (торцевой ключ)

SER NO 10001-10165

1шт.

2

VOE 14531125

Клапан

1шт.

2

VOE 14531125

Клапан

1шт.

3

SA 1174-54880

Корпус клапана

SER NO 10001-10241

1шт.

4

SA 1174-54890

Корпус клапана

SER NO 10001-10241

1шт.

5

VOE 14515457

Трубка

1шт.

6

SA 9495-17635

Шланг

1шт.

7

VOE 14881236

Зажим

1шт.

7

VOE 14881236

Зажим

1шт.

8

SA 9411-90410

Пробка (заглушка)

SER NO 10001-10485

1шт.

9

SA 9411-95980

Соединитель

SER NO 10001-10485

1шт.

9

SA 9411-95980

Соединитель

SER NO 10001-10485

1шт.

Выбрано товаров: 42