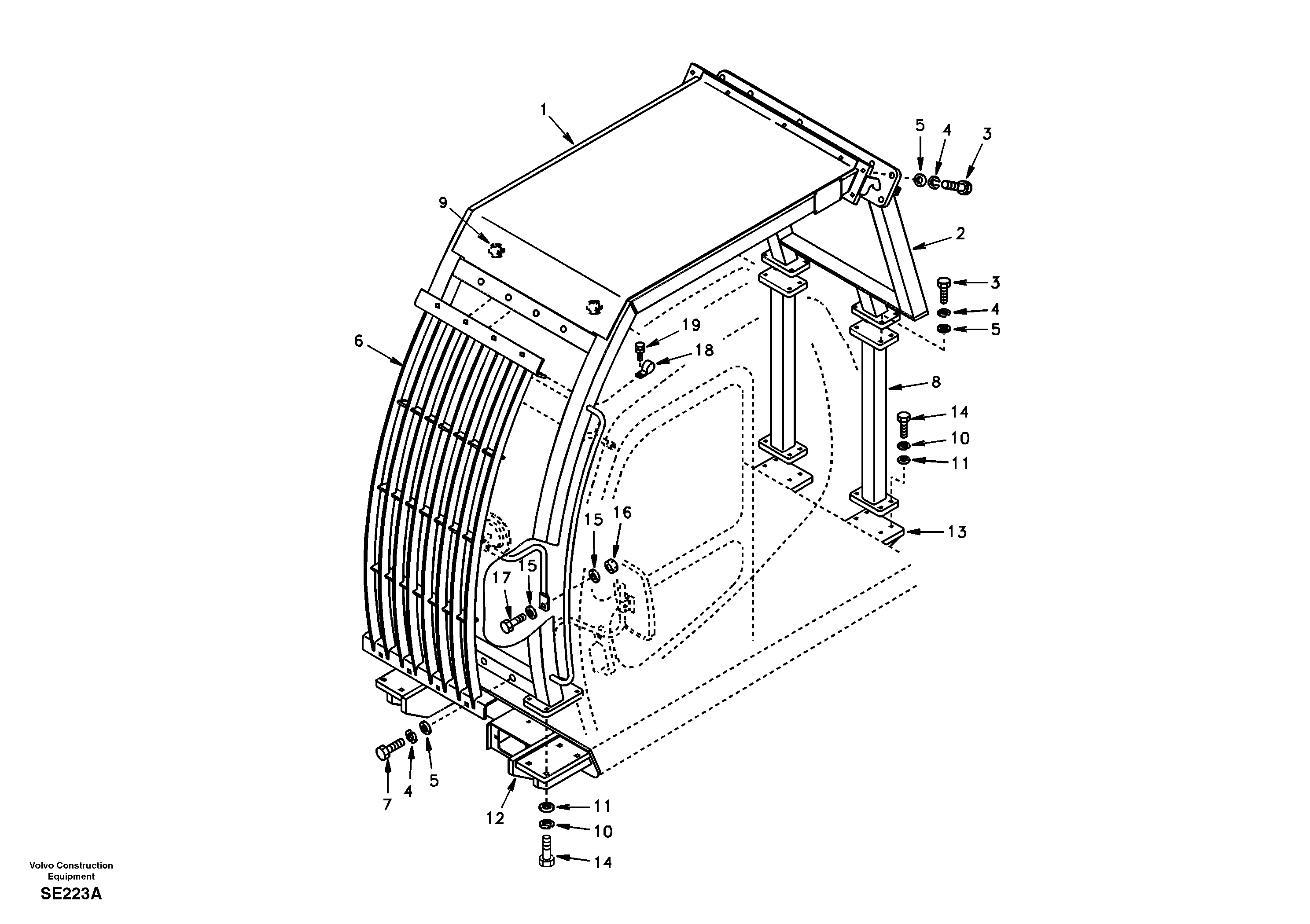
Запчасти Volvo EC360 45148 Falling object guards

Схема запчастей Volvo EC360 - 45148 Falling object guards
FIT
1:1
100%

Артикул

Название

Примечание

Количество

VOE 1629544

Винт шестигранник

SER NO 3119-

1шт.

VOE 1629544

Болт

SER NO 3119-

1шт.

SA 1166-02520

Fall Protection

1шт.

1

SA 1166-02540

Fall Protection

1шт.

10

VOE 955926

Шайба пружинная

1шт.

10

VOE 955926

Шайба пружинная

1шт.

11

VOE 955900

Шайба

1шт.

11

VOE 955900

Шайба

1шт.

12

SA 1151-03940

Кронштейн

1шт.

13

SA 1151-02270

Кронштейн

1шт.

13

SA 1151-02270

Кронштейн

1шт.

14

SA 9011-21613

Винт шестигранник

SER NO 3001-3118

1шт.

14

SA 9011-21613

Болт

SER NO 3001-3118

1шт.

15

VOE 960148

Шайба

SER NO 3119-

1шт.

15

VOE 960148

Шайба

SER NO 3119-

1шт.

16

VOE 983304

Hexagon Nut

SER NO 3119-

1шт.

16

VOE 983304

Hexagon Nut

SER NO 3119-

1шт.

17

VOE 983251

Винт шестигранник

SER NO 3119-

1шт.

17

VOE 983251

Винт шестигранник

SER NO 3119-

1шт.

18

SA 9315-01201

Скоба (хомут)

SER NO 3203-

1шт.

19

VOE 946471

Flange screw

SER NO 3203-

1шт.

19

VOE 946471

Flange screw

SER NO 3203-

1шт.

2

SA 1166-02550

Fall Protection

1шт.

3

SA 9011-21613

Винт шестигранник

1шт.

3

SA 9011-21613

Болт

1шт.

4

SA 9213-16000

Шайба пружинная

1шт.

5

SA 9211-16000

Шайба

1шт.

6

SA 1166-02570

Guard

1шт.

7

SA 9011-21620

Болт

1шт.

8

SA 1166-02560

Fall Protection

1шт.

9

SA 9751-12504

Уплотнительная втулка

1шт.

Выбрано товаров: 31