Запчасти Volvo EC360 23773 Rotating beacon

Схема запчастей Volvo EC360 - 23773 Rotating beacon
FIT
1:1
100%

Артикул

Название

Примечание

Количество

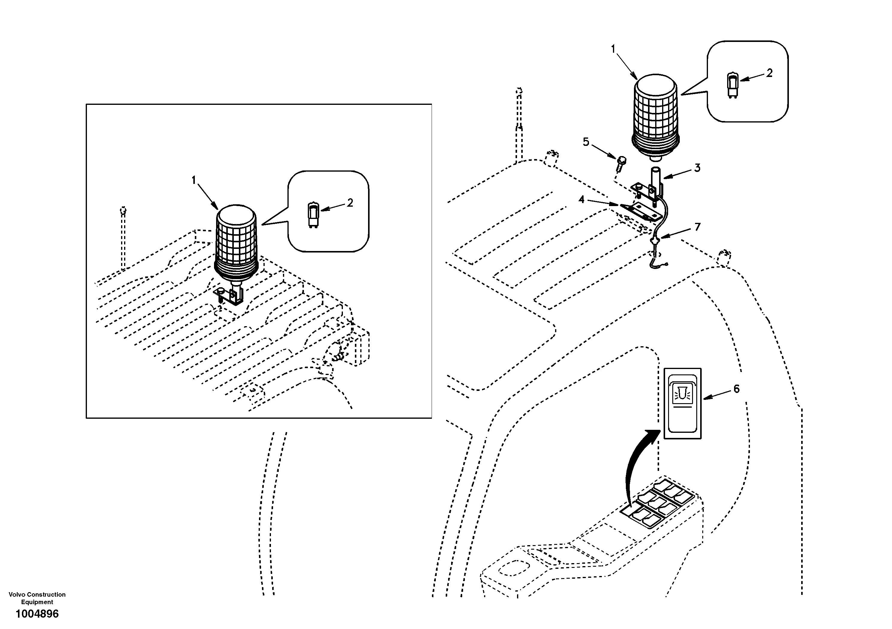
1

SA 1122-04520

Rotating Beacon

1шт.

2

VOE 14500272

Bulb

24V-70W

1шт.

3

SA 1122-04530

Кронштейн

1шт.

4

SA 1122-04570

Кронштейн

1шт.

5

VOE 946440

Flange screw

1шт.

5

VOE 946440

Flange screw

1шт.

6

SA 1123-03250

Переключатель

1шт.

7

SA 1123-05170

Wire harness

1шт.

Выбрано товаров: 8