Запчасти Volvo EC360B 37918 Фильтр топливный EC360B

Схема запчастей Volvo EC360B - 37918 Фильтр топливный EC360B
FIT
1:1
100%

Артикул

Название

Примечание

Количество

VOE 11128955

Filter Housing

1шт.

VOE 11128955

Filter Housing

1шт.

VOE 11128956

Фильтр топливный

1шт.

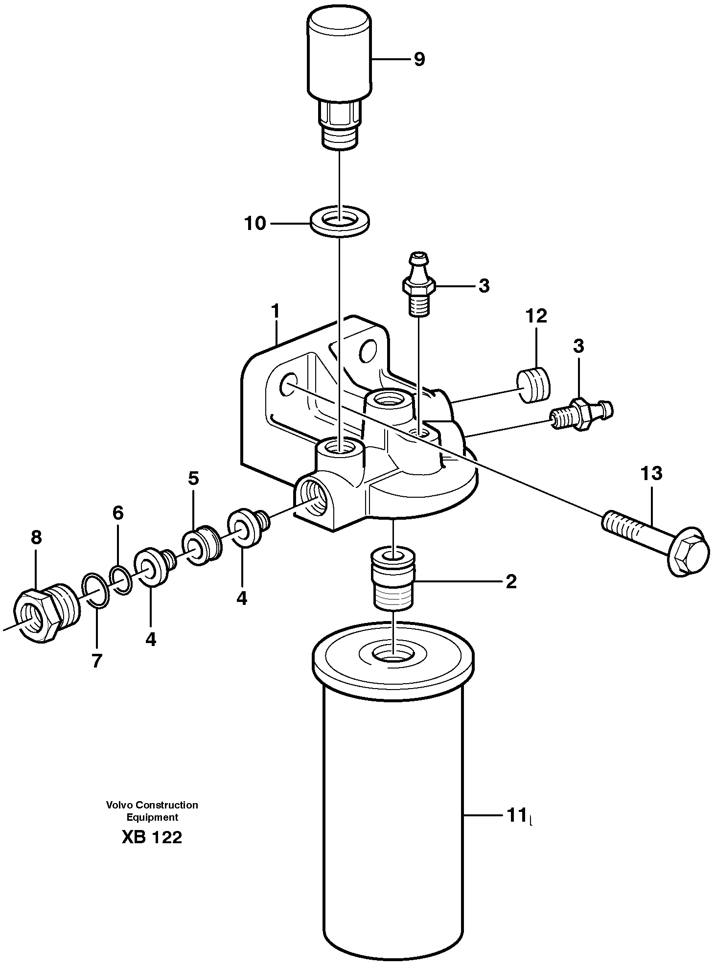
1

VOE 8148562

Картер (корпус)

1шт.

10

VOE 13947622

Plane Gasket

1шт.

10

VOE 13947622

Plane Gasket

1шт.

11

VOE 8193841

Фильтр топливный

1шт.

11

VOE 8193841

Фильтр топливный

1шт.

12

VOE 13968063

Пробка (заглушка)

1шт.

12

VOE 13968063

Пробка (заглушка)

1шт.

13

VOE 946472

Flange screw

1шт.

13

VOE 946472

Flange screw

1шт.

2

VOE 3964813

Nipple

1шт.

3

VOE 1330191

Nipple

1шт.

3

VOE 1330191

Nipple

1шт.

4

VOE 244834

Клапан

1шт.

4

VOE 244834

Клапан

1шт.

5

VOE 3964717

Spacer Sleeve

1шт.

5

VOE 3964717

Spacer Sleeve

1шт.

6

VOE 976971

Кольцо уплотнительное (О-кольцо)

1шт.

6

VOE 976971

Кольцо уплотнительное (О-кольцо)

1шт.

7

VOE 1526474

Кольцо уплотнительное (О-кольцо)

1шт.

7

VOE 1526474

Кольцо уплотнительное (О-кольцо)

1шт.

8

VOE 8148328

Nipple

1шт.

8

VOE 8148328

Nipple

1шт.

9

VOE 3094547

Hand Pump

1шт.

9

VOE 3094547

Hand Pump

1шт.

Выбрано товаров: 0