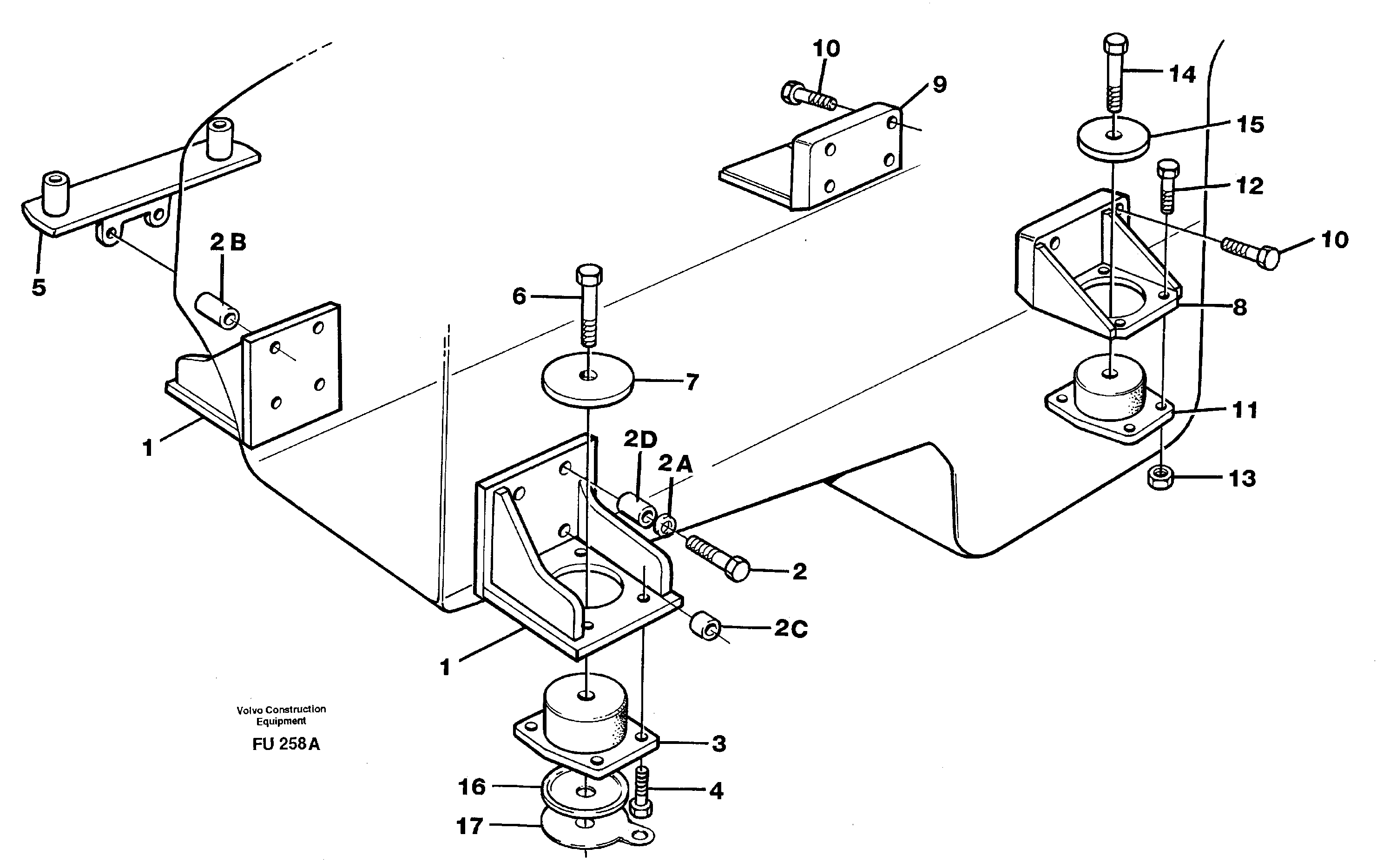
Запчасти Volvo EC390 14117 Установка двигателя EC390 SER NO 1001-

Схема запчастей Volvo EC390 - 14117 Установка двигателя EC390 SER NO 1001-
FIT
1:1
100%

Артикул

Название

Примечание

Количество

VOE 13970910

Винт шестигранник

L = 100MM

1шт.

1

VOE 14344757

Engine anchorage

LH, FRONT AND REAR

1шт.

10

VOE 14310035

Lock screw

1шт.

10A

VOE 955899

Шайба

1шт.

10A

VOE 955899

Шайба

1шт.

11

VOE 14343643

Rubber cushion

1шт.

12

VOE 13965185

Screw

1шт.

12

VOE 13965185

Болт

1шт.

13

VOE 13971098

Flange nut

1шт.

13

VOE 13971098

Flange nut

1шт.

14

VOE 963347

Винт шестигранник

1шт.

15

VOE 14343874

Шайба

1шт.

16

VOE 14343658

Шайба

SER NO 1039 -

1шт.

17

VOE 14343689

Прокладка

SER NO 1039 -

1шт.

2

VOE 13970906

Винт шестигранник

L = 70MM

1шт.

2A

VOE 14248129

Шайба

1шт.

2A

VOE 14248129

Шайба

1шт.

2B

VOE 14344699

Вставка

1шт.

2C

VOE 14344696

Вставка

1шт.

2D

VOE 14344698

Вставка

1шт.

3

VOE 14343643

Rubber cushion

1шт.

4

VOE 14310063

Болт

1шт.

5

VOE 14268025

14268025

1шт.

6

VOE 963347

Винт шестигранник

1шт.

7

VOE 14343874

Шайба

1шт.

8

VOE 14344716

Engine anchorage

RH, REAR

1шт.

9

VOE 14344717

Engine anchorage

RH, FRONT

1шт.

Выбрано товаров: 27