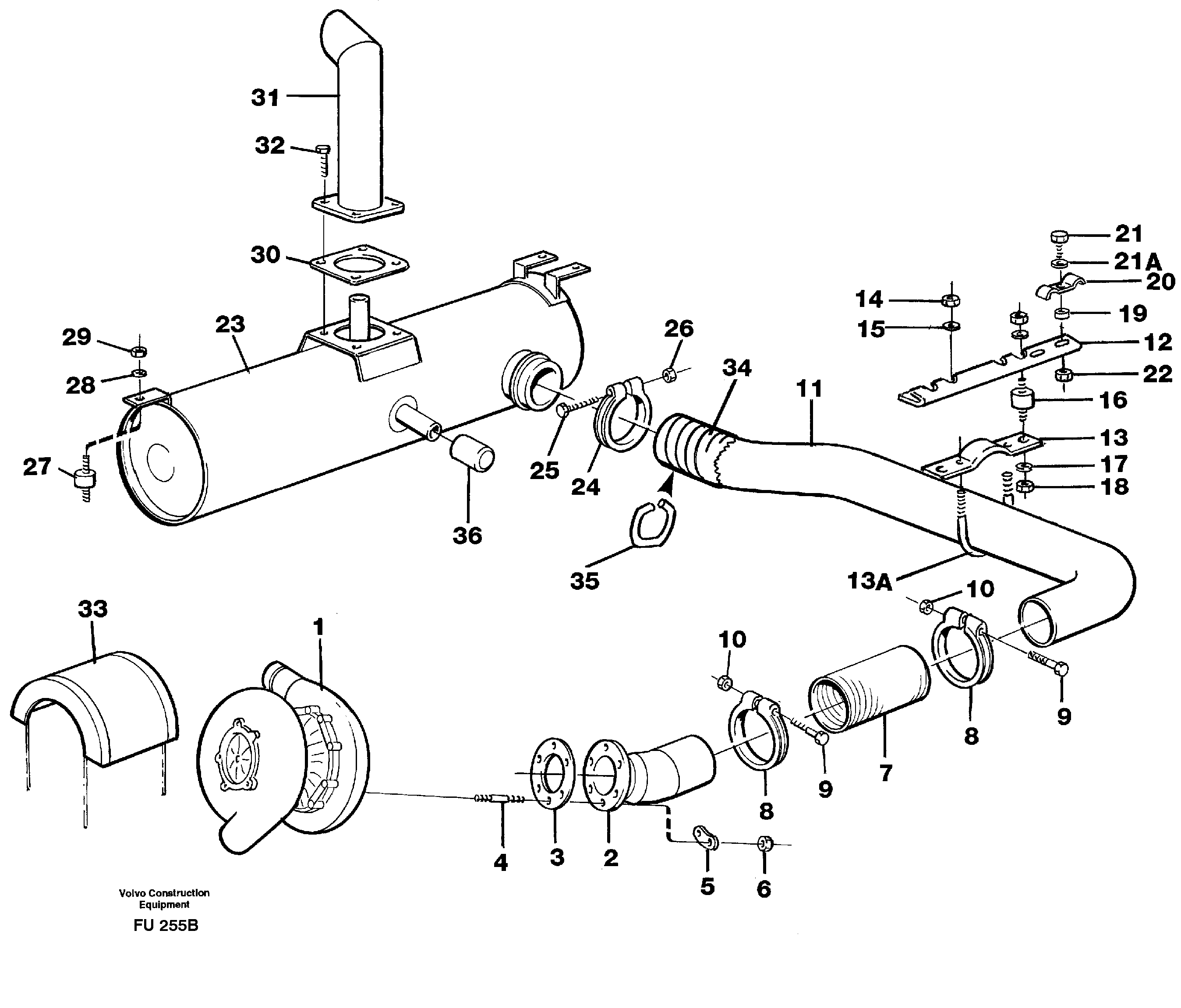
Запчасти Volvo EC390 82165 Exhaust system: Turbocharger - Muffler EC390 SER NO 1001-

Схема запчастей Volvo EC390 - 82165 Exhaust system: Turbocharger - Muffler EC390 SER NO 1001-
FIT
1:1
100%

Артикул

Название

Примечание

Количество

10

VOE 13971095

Flange nut

E PROD

1шт.

10

VOE 13971095

Flange nut

E PROD

1шт.

11

VOE 14265350

Exhaust pipe

1шт.

12

VOE 14345961

Elbow

1шт.

13

VOE 14345967

Anchorage

1шт.

13A

VOE 14345968

Brace

1шт.

14

VOE 948645

Flange lock nut

1шт.

14

VOE 948645

Flange lock nut

1шт.

15

VOE 976944

Шайба

1шт.

15

VOE 976944

Шайба

1шт.

16

VOE 11110276

Rubber cushion

1шт.

16

VOE 11110276

Rubber cushion

1шт.

17

VOE 13960145

Шайба

1шт.

17

VOE 13960145

Шайба

1шт.

18

VOE 13971096

Flange nut

1шт.

18

VOE 13971096

Flange nut

1шт.

19

VOE 14346163

Вставка

1шт.

2

VOE 14265348

Exhaust pipe

1шт.

20

VOE 14266385

Attaching clamp

1шт.

21

VOE 13947760

Болт

1шт.

21

VOE 13947760

Screw

1шт.

21A

VOE 976944

Шайба

1шт.

21A

VOE 976944

Шайба

1шт.

22

VOE 13945408

Гайка

1шт.

22

VOE 13945408

Гайка

1шт.

23

VOE 14344692

Silencer

1шт.

24

VOE 3033054

Зажим

1шт.

24

VOE 3033054

Зажим

1шт.

25

VOE 13948217

Screw

1шт.

25

VOE 13948217

Болт

1шт.

26

VOE 13971098

Flange nut

1шт.

26

VOE 13971098

Flange nut

1шт.

27

VOE 11110276

Rubber cushion

1шт.

27

VOE 11110276

Rubber cushion

1шт.

28

VOE 13960145

Шайба

1шт.

28

VOE 13960145

Шайба

1шт.

29

VOE 13971096

Flange nut

1шт.

29

VOE 13971096

Flange nut

1шт.

3

VOE 862603

Прокладка

1шт.

30

VOE 11033318

Прокладка

1шт.

30

VOE 11033318

Прокладка

1шт.

31

VOE 14344693

End pipe

1шт.

32

VOE 13965191

Screw

1шт.

32

VOE 13965191

Болт

1шт.

33

VOE 14344733

Protection

1шт.

34

VOE 14344598

Heat insulation

SER NO 1028 -

1шт.

35

VOE 14344024

Lock ring

SER NO 1028 - 1090

1шт.

36

VOE 14344606

Rubber sleeve

1шт.

4

VOE 924064

Шпилька

1шт.

4

VOE 924064

Шпилька

1шт.

5

VOE 7015193

Стопорная шайба (кольцо)

1шт.

5

VOE 7015193

Стопорная шайба (кольцо)

1шт.

6

VOE 946330

Hexagon nut

1шт.

6

VOE 946330

Hexagon nut

1шт.

7

VOE 14344928

Exhaust pipe

1шт.

8

VOE 8151616

Зажим

1шт.

9

VOE 13965190

Болт

E PROD

1шт.

9

VOE 13965190

Болт

E PROD

1шт.

Выбрано товаров: 58