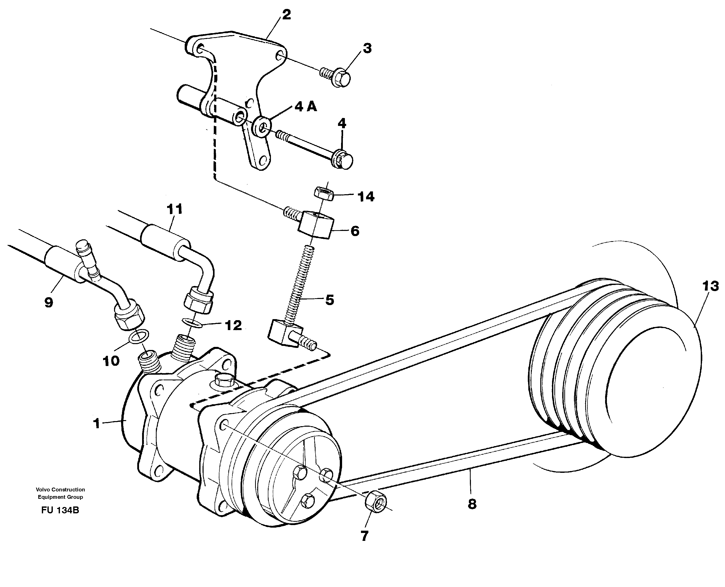
Запчасти Volvo EC390 66709 Compressor with fitting parts, cooling agent R134a EC390 SER NO 1001-

Схема запчастей Volvo EC390 - 66709 Compressor with fitting parts, cooling agent R134a EC390 SER NO 1001-
FIT
1:1
100%

Артикул

Название

Примечание

Количество

VOE 14346575

Шпилька

SER NO 1140 -

1шт.

10

VOE 3537503

Кольцо уплотнительное (О-кольцо)

1шт.

10

VOE 3537503

Кольцо уплотнительное (О-кольцо)

1шт.

12

VOE 3537507

Кольцо уплотнительное (О-кольцо)

1шт.

12

VOE 3537507

Кольцо уплотнительное (О-кольцо)

1шт.

14

VOE 13971095

Flange nut

1шт.

14

VOE 13971095

Flange nut

1шт.

2

VOE 14346306

14346306

1шт.

3

VOE 955536

Болт

1шт.

3

VOE 955536

Винт шестигранник

1шт.

4

VOE 973096

Flange screw

1шт.

4

VOE 973096

Flange screw

1шт.

4A

VOE 13930842

Шайба

1шт.

4A

VOE 13930842

Шайба

1шт.

5

VOE 14341731

Tensioner

SER NO - 1139

1шт.

6

VOE 14341730

Eye

1шт.

7

VOE 13971089

Lock nut

1шт.

7

VOE 13971089

Lock nut

1шт.

8

VOE 967130

Ремень клиновой (приводной)

1шт.

Выбрано товаров: 19