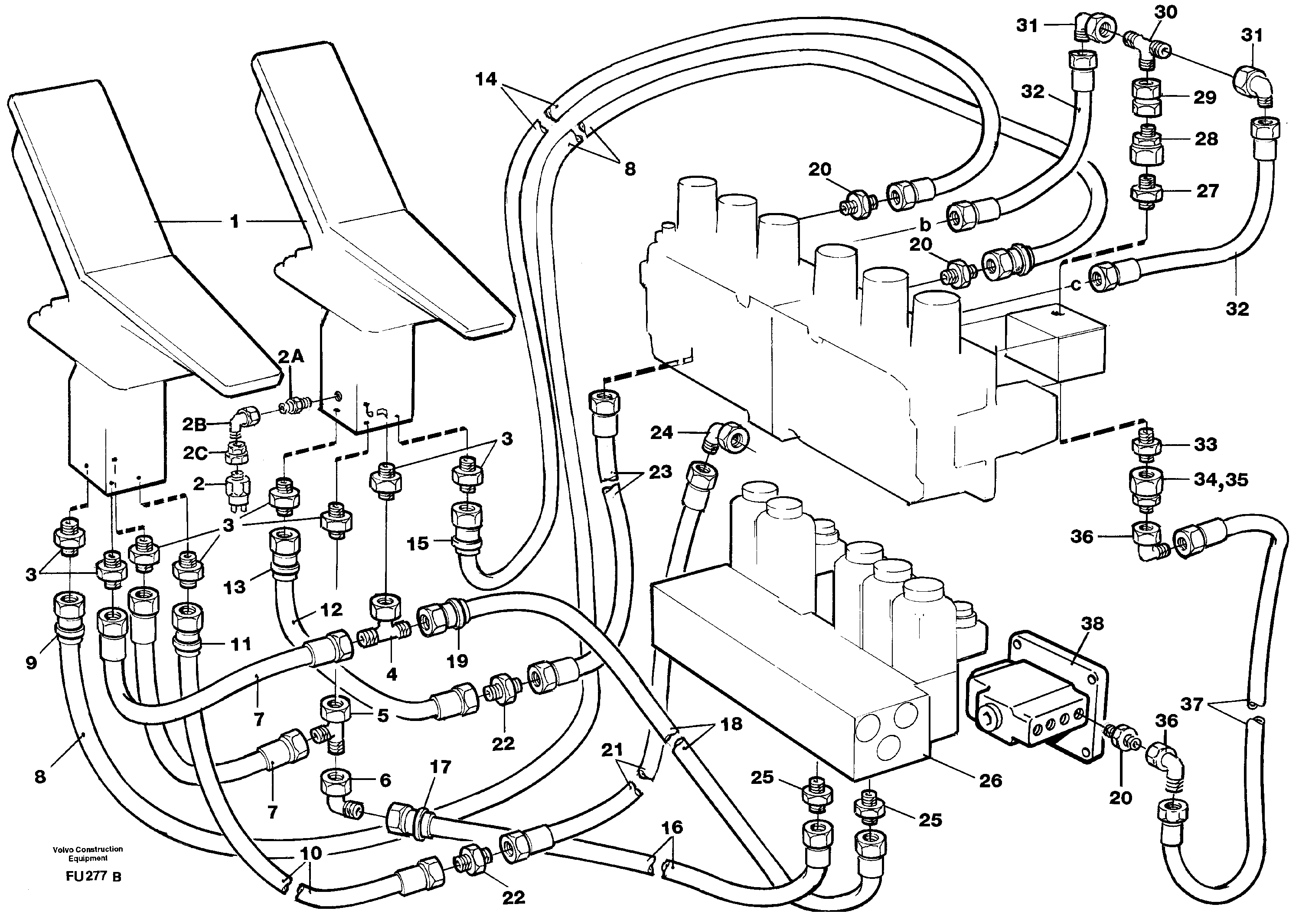
Запчасти Volvo EC390 14384 Servohydraulik, travel EC390 SER NO 1001-

Схема запчастей Volvo EC390 - 14384 Servohydraulik, travel EC390 SER NO 1001-
FIT
1:1
100%

Артикул

Название

Примечание

Количество

VOE 14345377

Pressure monitor

SER NO 1145 -

1шт.

VOE 14211856

Кольцо уплотнительное

1шт.

VOE 14211856

Кольцо уплотнительное

1шт.

VOE 14211900

Кольцо уплотнительное (О-кольцо)

1шт.

VOE 14211900

Кольцо уплотнительное (О-кольцо)

1шт.

VOE 14213279

Кольцо уплотнительное (О-кольцо)

1шт.

VOE 14211900

Кольцо уплотнительное (О-кольцо)

1шт.

VOE 14211856

Кольцо уплотнительное

1шт.

VOE 14211856

Кольцо уплотнительное

1шт.

VOE 14211900

Кольцо уплотнительное (О-кольцо)

1шт.

VOE 14211856

Кольцо уплотнительное

1шт.

VOE 14211856

Кольцо уплотнительное

1шт.

VOE 14211900

Кольцо уплотнительное (О-кольцо)

1шт.

VOE 14211900

Кольцо уплотнительное (О-кольцо)

1шт.

10

VOE 14264532

Hydraulic hose

MARKED 43

1шт.

11

VOE 14213143

Marking strip

1шт.

12

VOE 14250318

Hydraulic hose

MARKED 46

1шт.

13

VOE 14213146

Marking strip

1шт.

14

VOE 14250319

Hydraulic hose

MARKED 45

1шт.

15

VOE 14213145

Marking strip

1шт.

16

VOE 14264523

Hydraulic hose

MARKED 41

1шт.

17

VOE 14213141

Marking strip

1шт.

18

VOE 14250313

Hydraulic hose

MARKED 42

1шт.

19

VOE 14213142

Marking strip

1шт.

2

VOE 14344855

Pressure monitor

B56, B57. SER NO - 1144

1шт.

20

VOE 14100430

14100430

1шт.

21

VOE 14341779

Hydraulic hose

1шт.

22

VOE 957055

Nipple

1шт.

22

VOE 957055

Nipple

1шт.

23

VOE 14343607

Hydraulic hose

1шт.

24

VOE 14012393

14012393

1шт.

25

VOE 14100430

14100430

1шт.

27

VOE 14012424

14012424

1шт.

28

VOE 14213276

14213276

1шт.

29

VOE 14213730

14213730

1шт.

2A

VOE 14310147

14310147

SER NO 1145 -

1шт.

2B

VOE 14265809

14265809

SER NO 1145 -

1шт.

2C

VOE 14346179

14346179

SER NO 1145 -

1шт.

3

VOE 14100430

14100430

1шт.

30

VOE 14025146

Челночный клапан

1шт.

31

VOE 14012393

14012393

1шт.

32

VOE 14265073

Hydraulic hose

1шт.

33

VOE 14012424

14012424

1шт.

34

VOE 14213276

14213276

1шт.

35

VOE 14213279

Кольцо уплотнительное (О-кольцо)

1шт.

36

VOE 14012393

14012393

1шт.

37

VOE 14263263

Hydraulic hose

1шт.

4

VOE 14012388

14012388

1шт.

5

VOE 14052740

14052740

1шт.

6

VOE 14012393

14012393

1шт.

7

VOE 14265420

Hydraulic hose

1шт.

8

VOE 14264532

Hydraulic hose

MARKED 44

1шт.

9

VOE 14213144

Marking strip

1шт.

9

VOE 14213144

Marking strip

1шт.

Выбрано товаров: 54