Запчасти Volvo EC420 39775 Visor cylinder, front loading equ ATTACHMENTS ATTACHMENTS BUCKETS

Схема запчастей Volvo EC420 - 39775 Visor cylinder, front loading equ ATTACHMENTS ATTACHMENTS BUCKETS
FIT
1:1
100%

Артикул

Название

Примечание

Количество

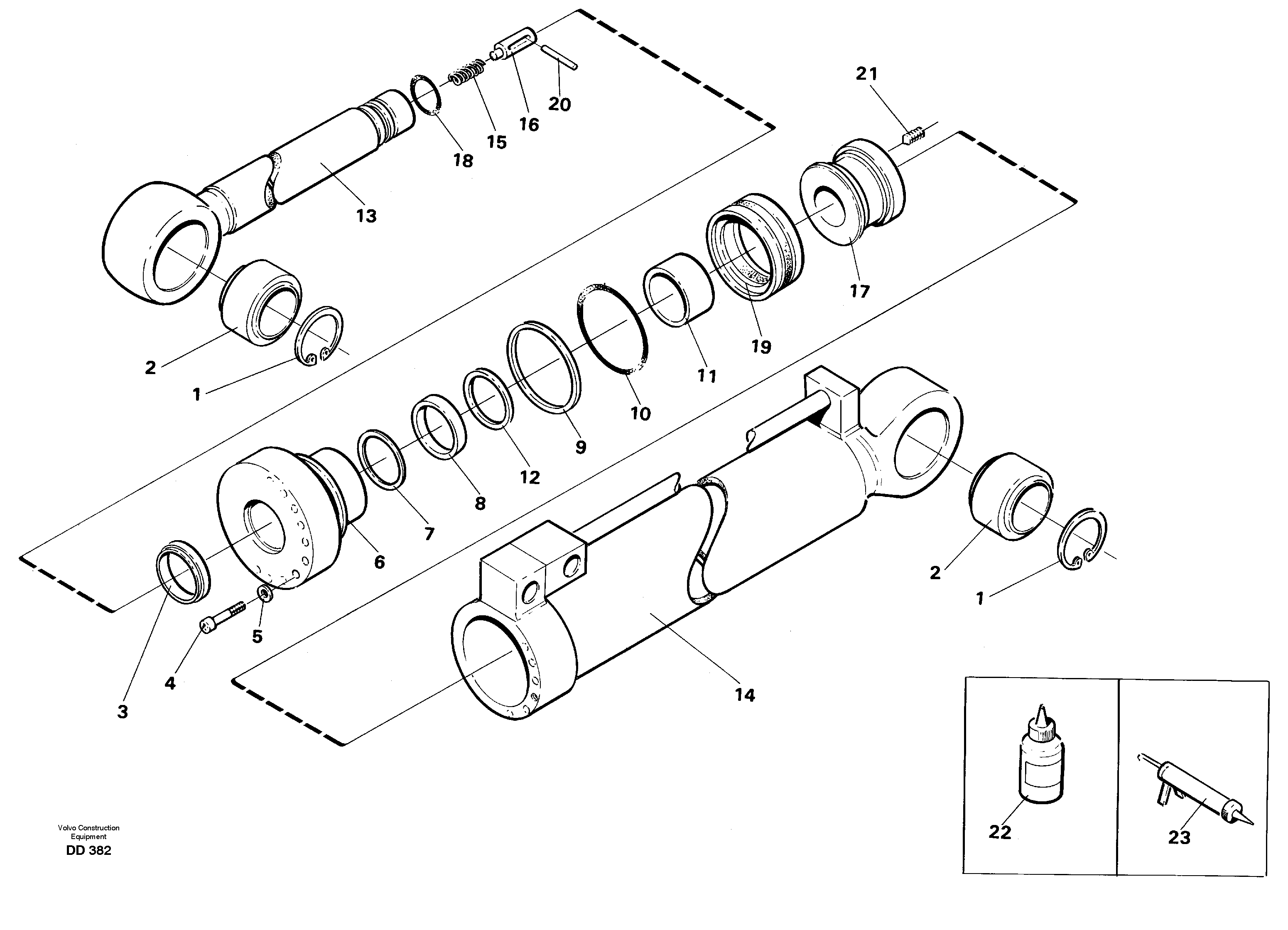
VOE 11700806

Sealing kit

1шт.

VOE 11700806

Sealing kit

1шт.

VOE 14260829

Гидроцилиндр

1шт.

1

VOE 951090

Retaining ring

1шт.

1

VOE 951090

Retaining ring

1шт.

10

VOE 925027

Кольцо уплотнительное (О-кольцо)

1шт.

10

VOE 925027

Кольцо уплотнительное (О-кольцо)

1шт.

11

VOE 14250565

Втулка

1шт.

12

VOE 14216263

Сальник

1шт.

13

VOE 14260801

Шток поршня

1шт.

14

VOE 14230198

цилиндр

1шт.

15

VOE 14050839

Compression spring

1шт.

16

VOE 14054622

Slide

1шт.

17

VOE 14260782

Поршень

1шт.

18

VOE 960226

Кольцо уплотнительное (О-кольцо)

1шт.

18

VOE 960226

Кольцо уплотнительное (О-кольцо)

1шт.

19

VOE 4833027

Сальник

1шт.

2

VOE 14013647

Link bearing

1шт.

2

VOE 14013647

Link bearing

1шт.

20

VOE 14232766

14232766

1шт.

21

VOE 14014737

установочный винт

1шт.

21

VOE 14014737

установочный винт

1шт.

22

VOE 14024293

Locking fluid

1шт.

22

VOE 14024293

Locking fluid

1шт.

23

VOE 14023745

Grease

1шт.

23

VOE 14023745

Grease

1шт.

3

VOE 11005057

Scraper

1шт.

4

VOE 14014661

Allen Hd Screw

1шт.

5

VOE 14015134

Шайба

1шт.

5

VOE 14015134

Шайба

1шт.

6

VOE 14260783

End plate

1шт.

7

VOE 4784048

Уплотнение штока поршня

1шт.

7

VOE 4784048

Уплотнение штока поршня

1шт.

8

VOE 14216267

Back-up ring

1шт.

9

VOE 14053359

Back-up ring

1шт.

Выбрано товаров: 35