Запчасти Volvo EC420 49577 Hydraulics in undercarriage EC420 ?KERMAN ?KERMAN EC420 SER NO - 1550

Схема запчастей Volvo EC420 - 49577 Hydraulics in undercarriage EC420 ?KERMAN ?KERMAN EC420 SER NO - 1550
FIT
1:1
100%

Артикул

Название

Примечание

Количество

VOE 914553

Кольцо стопорное

1шт.

VOE 914553

Retaining ring

1шт.

VOE 14211604

Radial Seal

1шт.

VOE 14211819

Кольцо уплотнительное (О-кольцо)

1шт.

VOE 14211819

Кольцо уплотнительное (О-кольцо)

1шт.

VOE 11702192

Pressure limiting valve

1шт.

VOE 11702192

Pressure limiting valve

1шт.

VOE 11702195

Sealing kit

For 11702192

1шт.

VOE 11702195

Sealing kit

For 11702192

1шт.

VOE 14258928

Protection

RH

1шт.

VOE 14258672

Assembly Drawing

1шт.

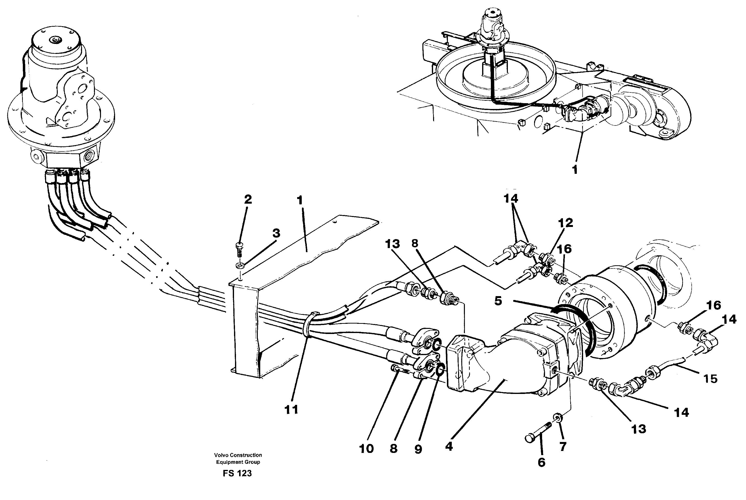
1

VOE 14258927

Protection

LH

1шт.

10

VOE 13970997

Винт шестигранник

1шт.

10

VOE 13970997

Винт шестигранник

1шт.

11

VOE 4881440

Cable tie

1шт.

11

VOE 4881440

Cable tie

1шт.

12

VOE 14012413

14012413

1шт.

13

VOE 14012424

14012424

1шт.

14

VOE 14012395

14012395

1шт.

15

VOE 14232151

Hydraulic hose

1шт.

16

VOE 14012423

14012423

1шт.

2

VOE 13955366

Болт

1шт.

2

VOE 13955366

Болт

1шт.

3

VOE 13955900

Шайба

1шт.

3

VOE 13955900

Шайба

1шт.

4

VOE 14216047

Гидромотор

LH + RH

1шт.

5

VOE 14012340

Кольцо уплотнительное (О-кольцо)

1шт.

5

VOE 14012340

Кольцо уплотнительное (О-кольцо)

1шт.

6

VOE 13955370

Болт

1шт.

6

VOE 13955370

Болт

1шт.

7

VOE 13955900

Шайба

1шт.

7

VOE 13955900

Шайба

1шт.

8

VOE 14236931

Flange half

1шт.

8

VOE 14236931

Flange half

1шт.

9

VOE 14215716

Кольцо уплотнительное

1шт.

9

VOE 14215716

Кольцо уплотнительное

1шт.

Выбрано товаров: 0