Запчасти Volvo EC420 100812 Feed pump EC420 ?KERMAN ?KERMAN EC420 SER NO - 1550

Схема запчастей Volvo EC420 - 100812 Feed pump EC420 ?KERMAN ?KERMAN EC420 SER NO - 1550
FIT
1:1
100%

Артикул

Название

Примечание

Количество

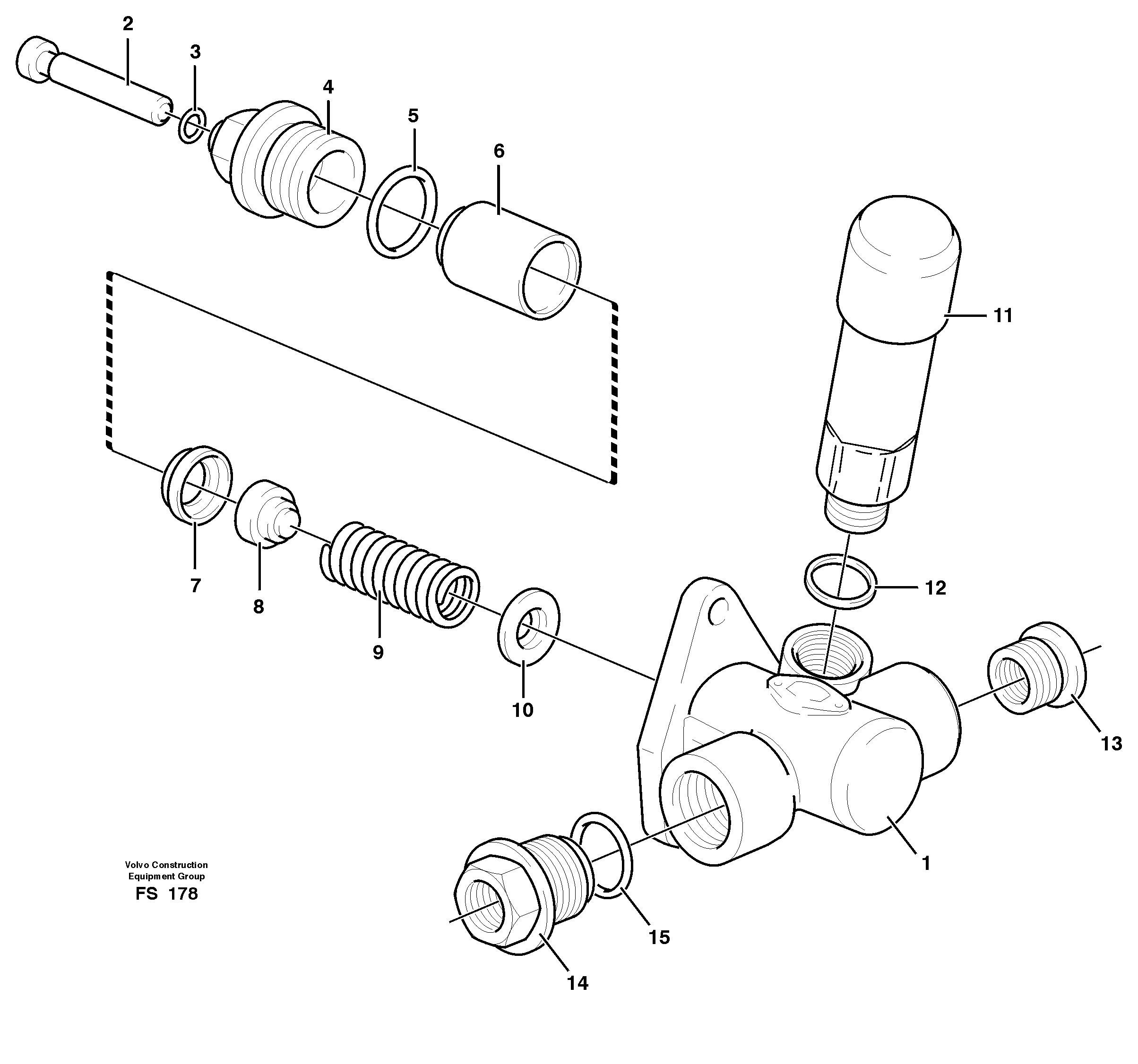
VOE 244825

Feed pump

1шт.

10

VOE 244833

Spring disc

1шт.

10

VOE 244833

Spring disc

1шт.

11

VOE 3094547

Hand pump

1шт.

11

VOE 3094547

Hand pump

1шт.

12

VOE 240572

Прокладка

1шт.

12

VOE 240572

Прокладка

1шт.

13

VOE 244836

Втулка

1шт.

13

VOE 244836

Втулка

1шт.

14

VOE 244837

Nipple

1шт.

14

VOE 244837

Nipple

1шт.

15

VOE 244838

Кольцо уплотнительное (О-кольцо)

1шт.

2

VOE 244826

Толкатель штанги

1шт.

3

VOE 11716292

Кольцо уплотнительное (О-кольцо)

1шт.

4

VOE 244827

Nipple

1шт.

4

VOE 244827

Nipple

1шт.

5

VOE 15031180

Кольцо уплотнительное (О-кольцо)

1шт.

6

VOE 244831

Поршень

1шт.

6

VOE 244831

Поршень

1шт.

7

VOE 11706665

Spacer ring

1шт.

7

VOE 11706665

Spacer ring

1шт.

8

VOE 244834

Клапан

1шт.

8

VOE 244834

Клапан

1шт.

9

VOE 862462

Compression spring

1шт.

9

VOE 862462

Compression spring

1шт.

Выбрано товаров: 25