Запчасти Volvo EC420 50539 Valve, circuit body and return valve EC420 ?KERMAN ?KERMAN EC420 SER NO - 1550

Схема запчастей Volvo EC420 - 50539 Valve, circuit body and return valve EC420 ?KERMAN ?KERMAN EC420 SER NO - 1550
FIT
1:1
100%

Артикул

Название

Примечание

Количество

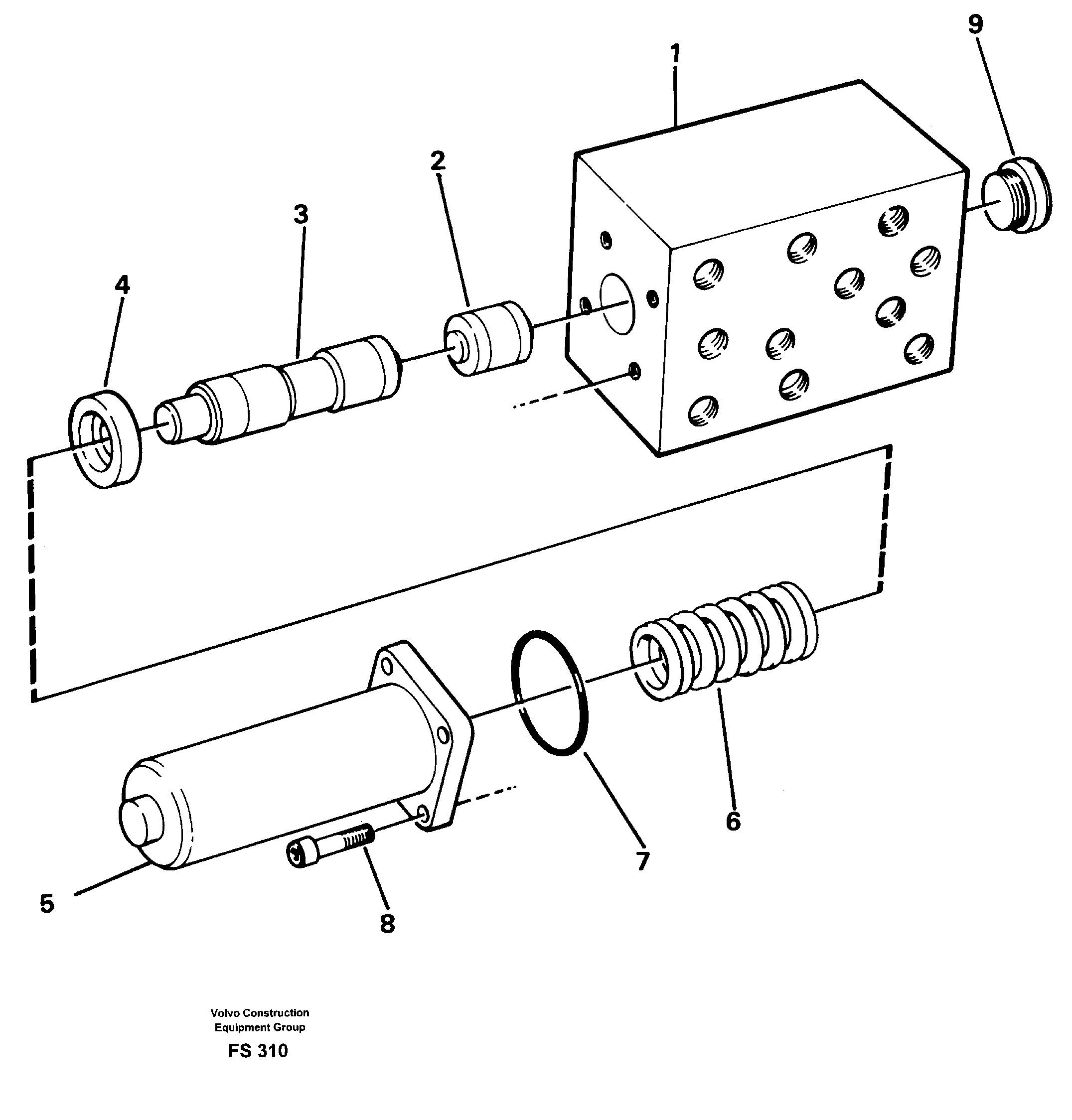
VOE 14247365

Клапан

1шт.

1

VOE 14246001

Картер (корпус)

1шт.

1

VOE 14246001

Картер (корпус)

1шт.

2

VOE 14042464

Поршень

1шт.

2

VOE 14042464

Поршень

1шт.

3

VOE 14042463

Slide

1шт.

4

VOE 14042362

Шайба

1шт.

4

VOE 14042362

Шайба

1шт.

5

VOE 14041877

Spring housing

1шт.

5

VOE 14041877

Spring housing

1шт.

6

VOE 14059530

Compression spring

1шт.

6

VOE 14059530

Compression spring

1шт.

7

VOE 949659

Кольцо уплотнительное (О-кольцо)

1шт.

7

VOE 949659

Кольцо уплотнительное (О-кольцо)

1шт.

8

VOE 14023236

Болт

1шт.

8

VOE 14023236

Болт

1шт.

9

VOE 14023409

Пробка (заглушка)

1шт.

9

VOE 14023409

Пробка (заглушка)

1шт.

Выбрано товаров: 18