Запчасти Volvo EC450 28578 Cold start control EC450 ?KERMAN ?KERMAN EC450 SER NO - 1781

Схема запчастей Volvo EC450 - 28578 Cold start control EC450 ?KERMAN ?KERMAN EC450 SER NO - 1781
FIT
1:1
100%

Артикул

Название

Примечание

Количество

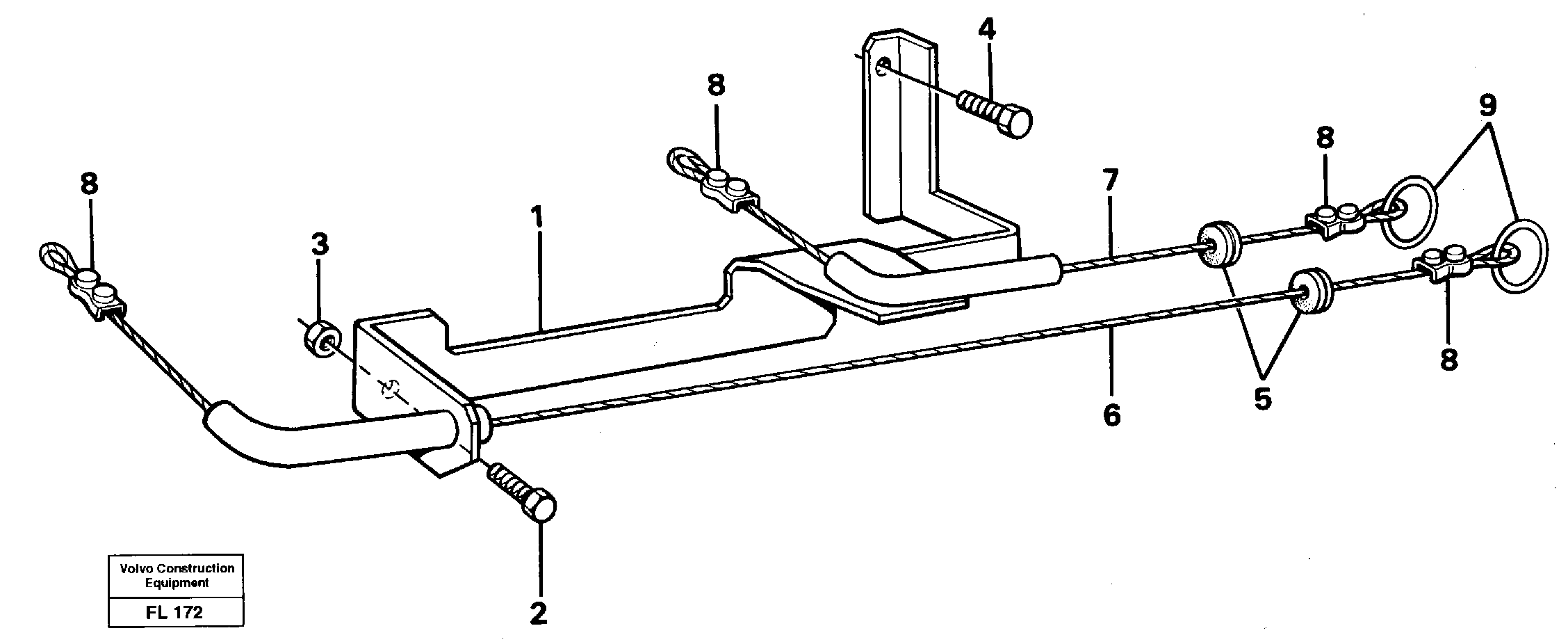
1

VOE 14265736

Кронштейн

1шт.

2

VOE 13955295

Болт

1шт.

2

VOE 13955295

Болт

1шт.

3

VOE 955782

Hexagon Nut

1шт.

3

VOE 955782

Hexagon Nut

1шт.

4

VOE 955534

Винт шестигранник

1шт.

4

VOE 955534

Винт шестигранник

1шт.

5

VOE 14024300

Уплотнительная втулка

1шт.

6

VOE 14265310

Wire rope

L = 1880mm

1шт.

7

VOE 14265310

Wire rope

L = 1570mm

1шт.

8

VOE 14265309

Cable Clamp

1шт.

9

VOE 14247607

Кольцо

1шт.

9

VOE 14247607

Кольцо

1шт.

Выбрано товаров: 13