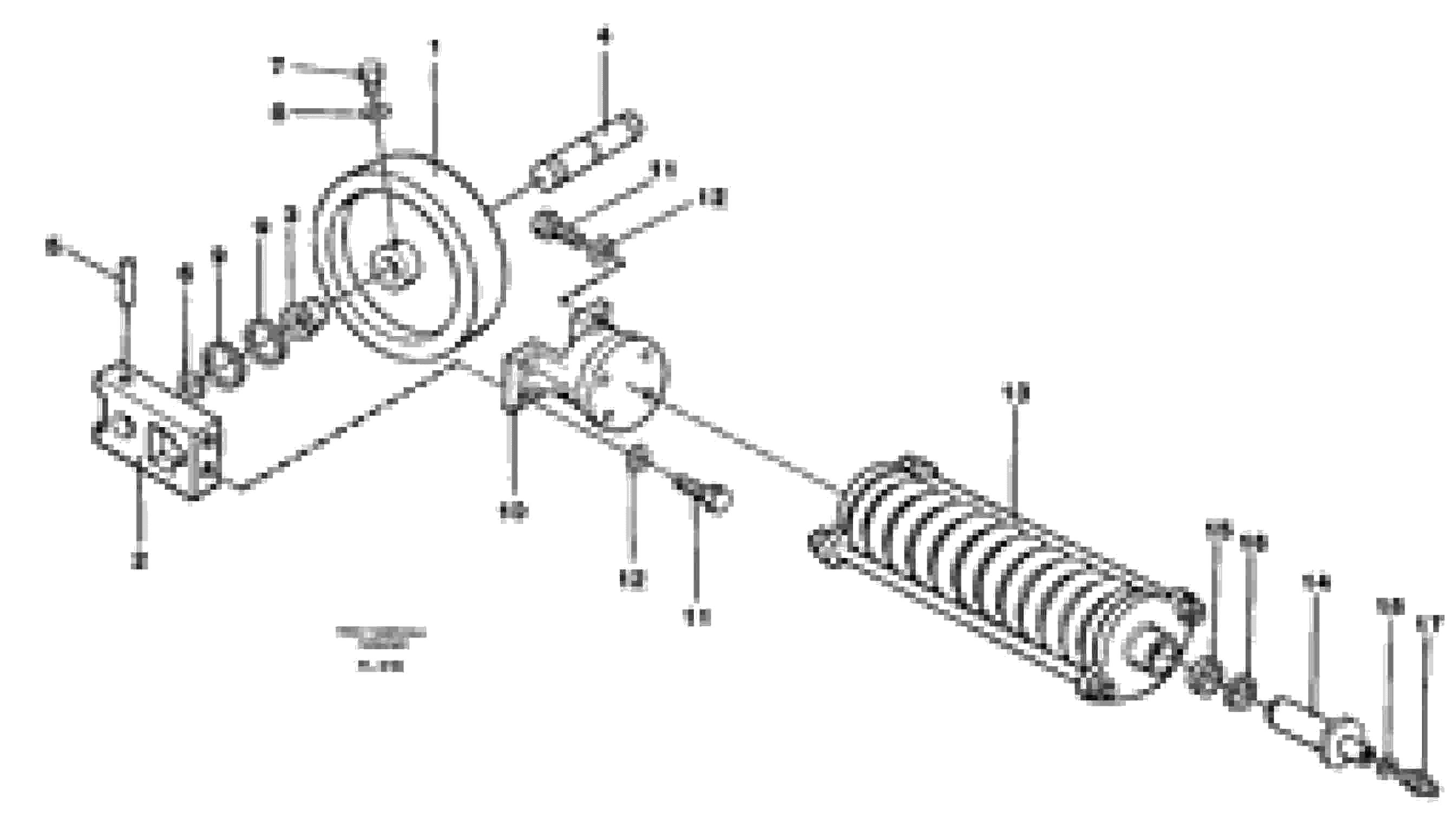
Запчасти Volvo EC450 29573 Front wheel, spring package and tension cylinder EC450 ?KERMAN ?KERMAN EC450 SER NO - 1781

Схема запчастей Volvo EC450 - 29573 Front wheel, spring package and tension cylinder EC450 ?KERMAN ?KERMAN EC450 SER NO - 1781
FIT
1:1
100%

Артикул

Название

Примечание

Количество

VOE 11700056

Front wheel

1шт.

VOE 11700057

Strain unit

1шт.

10

VOE 11700058

Fork

1шт.

11

VOE 11700059

Болт

1шт.

12

VOE 11700060

Шайба пружинная

1шт.

14

VOE 11700069

Поршень

1шт.

15

VOE 11700070

Кольцо уплотнительное

1шт.

16

VOE 11700071

11700071

1шт.

17

VOE 14260872

Клапан

1шт.

18

VOE 14042936

Sealing washer

1шт.

18

VOE 14042936

Sealing washer

1шт.

2

VOE 11700061

Направляющая

1шт.

3

VOE 11700062

Втулка

1шт.

4

VOE 11700063

Вал

1шт.

5

VOE 11700064

Spring pin

1шт.

6

VOE 11700065

Кольцо уплотнительное (О-кольцо)

1шт.

7

VOE 14261103

Пробка (заглушка)

1шт.

7

VOE 14261103

Пробка (заглушка)

1шт.

8

VOE 11700067

Кольцо уплотнительное (О-кольцо)

1шт.

9

VOE 11700068

Sealing kit

1шт.

Выбрано товаров: 20