Запчасти Volvo EC450 8668 Fuel miser valve EC450 ?KERMAN ?KERMAN EC450 SER NO - 1781

Схема запчастей Volvo EC450 - 8668 Fuel miser valve EC450 ?KERMAN ?KERMAN EC450 SER NO - 1781
FIT
1:1
100%

Артикул

Название

Примечание

Количество

VOE 14244436

Клапан

1шт.

VOE 14244436

Клапан

1шт.

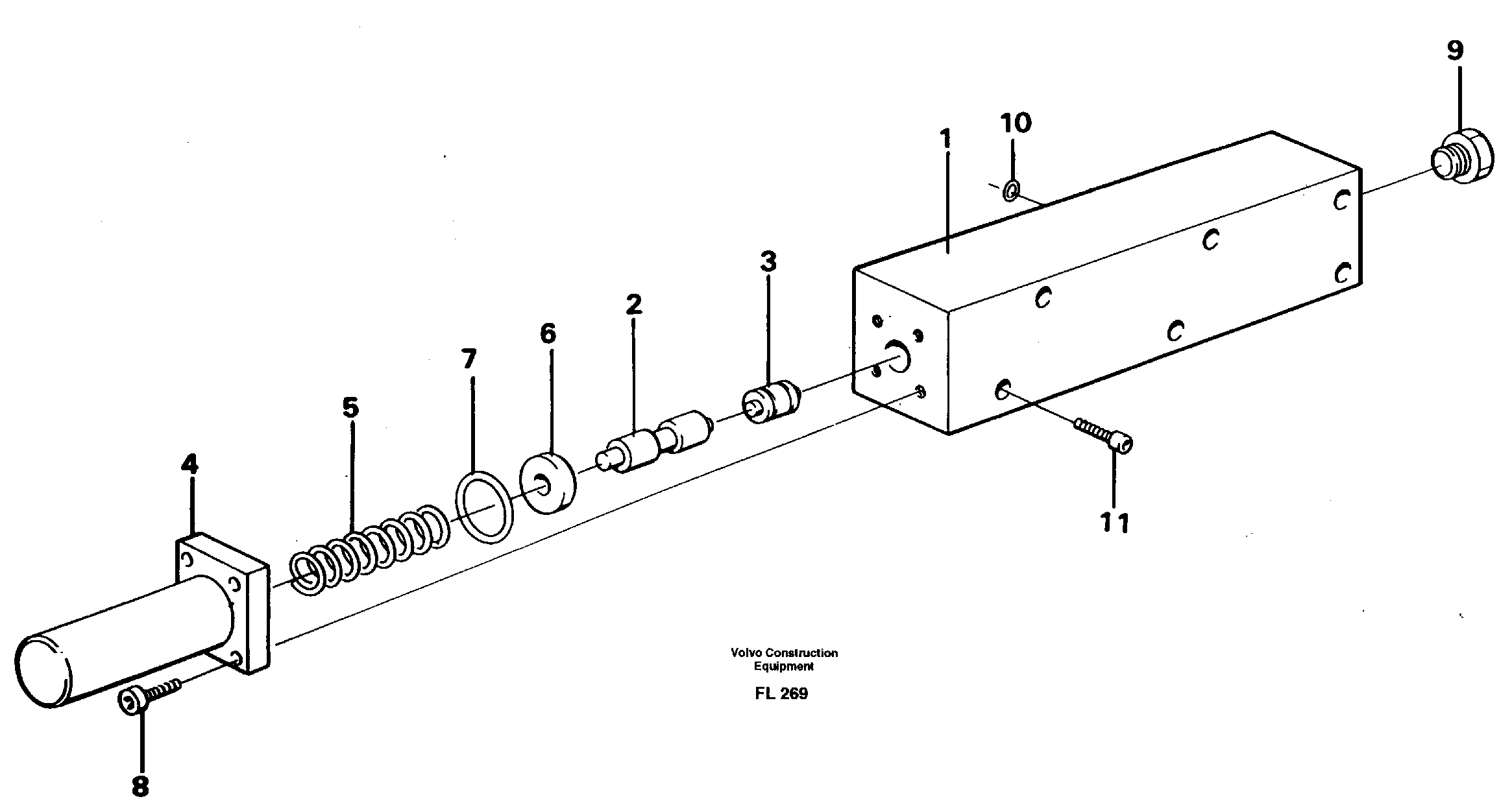
1

VOE 14243108

Картер (корпус)

1шт.

1

VOE 14243108

Картер (корпус)

1шт.

10

VOE 13955973

Кольцо уплотнительное (О-кольцо)

1шт.

10

VOE 13955973

Кольцо уплотнительное (О-кольцо)

1шт.

11

VOE 14023237

Болт

1шт.

11

VOE 14023237

Болт

1шт.

2

VOE 14042463

Slide

1шт.

3

VOE 14042464

Поршень

1шт.

3

VOE 14042464

Поршень

1шт.

4

VOE 14041877

Spring Housing

1шт.

4

VOE 14041877

Spring Housing

1шт.

5

VOE 14059530

Compression Spring

1шт.

5

VOE 14059530

Compression Spring

1шт.

6

VOE 14015145

Шайба

1шт.

6

VOE 14015145

Шайба

1шт.

7

VOE 949659

Кольцо уплотнительное (О-кольцо)

1шт.

7

VOE 949659

Кольцо уплотнительное (О-кольцо)

1шт.

8

VOE 14023236

Болт

1шт.

8

VOE 14023236

Болт

1шт.

9

VOE 14023409

Пробка (заглушка)

1шт.

9

VOE 14023409

Пробка (заглушка)

1шт.

Выбрано товаров: 23