Качественные детали и логистика
Оригинальные и аналоговые запчасти с доставкой по России, Казахстану и Беларуси
©2022 PartSell ООО "Система" ИНН 2463123282 ОГРН 1212400004838
Центральный офис: г. Красноярск, Академика Киренского, д.87, пом.4
Телефон: 8 (800) 777-65-74 Email: zakaz@partsell.ru
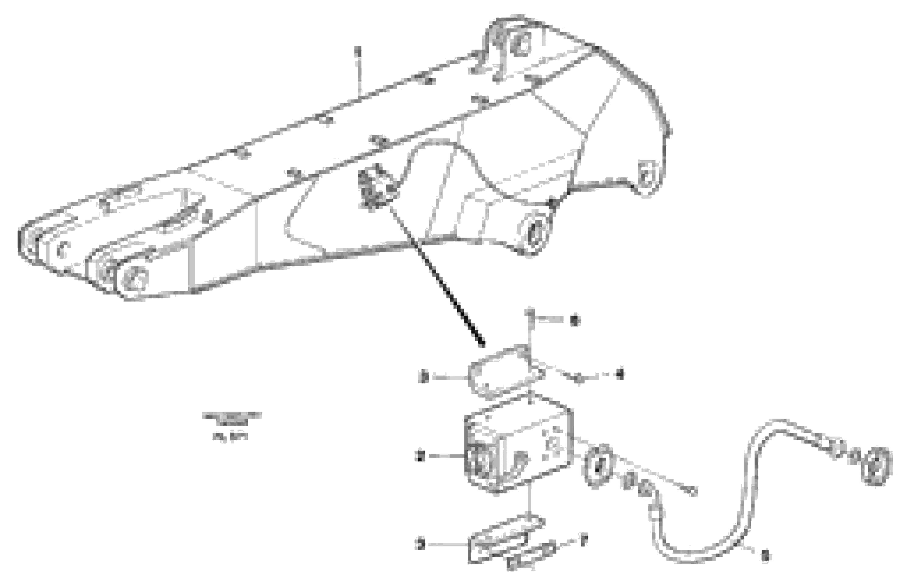
1590 Hammer hydraulics on dipper arm, 2.25 M
№
Артикул
Название
Примечание
Количество
3
VOE 14340164
Attachment
1шт.
4
VOE 13970969
Винт шестигранник
5
VOE 14341896
Hydraulic hose
6
7
VOE 14342084
Striker plate
Выбрано товаров: 0