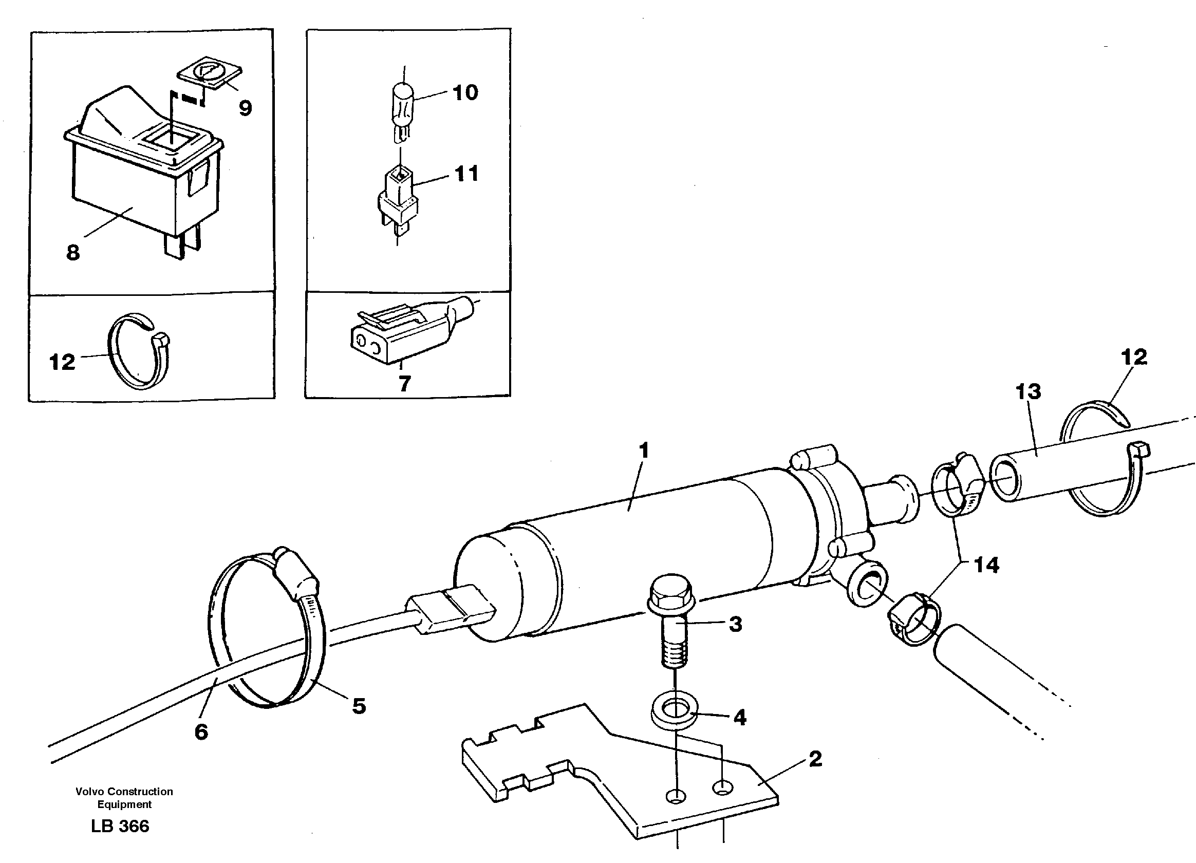
Запчасти Volvo EC450 85861 Cirkulation pump EC450 SER NO 1782-1909

Схема запчастей Volvo EC450 - 85861 Cirkulation pump EC450 SER NO 1782-1909
FIT
1:1
100%

Артикул

Название

Примечание

Количество

VOE 14345272

14345272

SER NO 1850-

1шт.

1

VOE 3714782

Водяной насос

1шт.

10

VOE 11997242

Bulb

1шт.

11

VOE 14214082

Lamp retainer

1шт.

12

VOE 14016673

Strip clamp

1шт.

12

VOE 14016673

Strip clamp

1шт.

13

VOE 943368

Шланг

1шт.

13

VOE 943368

Шланг

1шт.

14

VOE 13943472

Hose clamp

1шт.

2

VOE 14340725

14340725

1шт.

3

VOE 13970947

Винт шестигранник

1шт.

3

VOE 13970947

Винт шестигранник

1шт.

4

VOE 976945

Шайба

1шт.

4

VOE 976945

Шайба

1шт.

5

VOE 943279

End Piece

1шт.

6

VOE 14254066

14254066

SER NO - 1849

1шт.

7

VOE 948295

Insulator

1шт.

7

VOE 948295

Изолятор

1шт.

8

VOE 14211421

14211421

1шт.

9

VOE 14211579

Symbol plate

1шт.

Выбрано товаров: 20