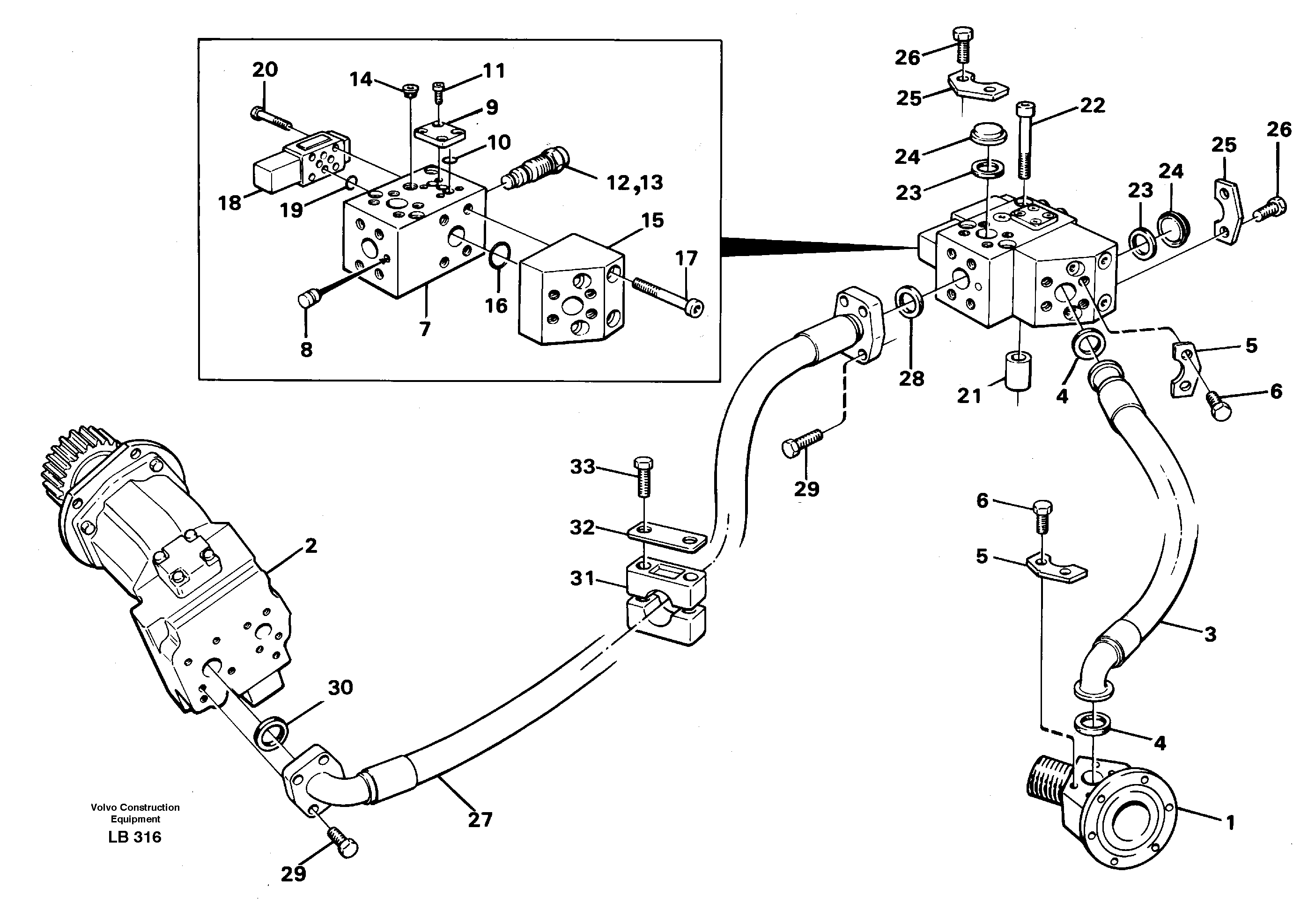
Запчасти Volvo EC450 91445 Hydraulic system, Feeed line P4 EC450 SER NO 1782-1909

Схема запчастей Volvo EC450 - 91445 Hydraulic system, Feeed line P4 EC450 SER NO 1782-1909
FIT
1:1
100%

Артикул

Название

Примечание

Количество

10

VOE 925053

Кольцо уплотнительное (О-кольцо)

1шт.

10

VOE 925053

Кольцо уплотнительное (О-кольцо)

1шт.

11

VOE 14213039

Болт

1шт.

11

VOE 14213039

Болт

1шт.

12

VOE 14211114

Pressure limiting valve

1шт.

12

VOE 14211114

Pressure limiting valve

1шт.

13

VOE 15081662

Sealing Kit

1шт.

14

VOE 14211623

Plug

1шт.

14

VOE 14211623

Пробка (заглушка)

1шт.

15

VOE 14264524

Connecting block

1шт.

16

VOE 925064

Кольцо уплотнительное (О-кольцо)

1шт.

16

VOE 925064

Кольцо уплотнительное (О-кольцо)

1шт.

17

VOE 959261

Allen Hd Screw

L = 60MM

1шт.

17

VOE 959265

Allen Hd Screw

L = 80MM

1шт.

18

VOE 11716048

Встроенный клапан в сборе

1шт.

18

VOE 11716048

Встроенный клапан в сборе

1шт.

19

VOE 14016347

Кольцо уплотнительное (О-кольцо)

1шт.

19

VOE 14016347

Кольцо уплотнительное (О-кольцо)

1шт.

20

VOE 959197

Allen Hd Screw

1шт.

21

VOE 14230329

Вставка

1шт.

22

VOE 13943842

Allen Hd Screw

1шт.

23

VOE 990742

Кольцо уплотнительное (О-кольцо)

1шт.

23

VOE 990742

Кольцо уплотнительное (О-кольцо)

1шт.

24

VOE 14053001

Пробка (заглушка)

1шт.

25

VOE 935312

Flange half

1шт.

25

VOE 935312

Flange half

1шт.

26

VOE 959242

Allen Hd Screw

1шт.

27

VOE 14265216

Hydraulic hose

1шт.

28

VOE 14215715

Кольцо уплотнительное

1шт.

28

VOE 14215715

Кольцо уплотнительное

1шт.

29

VOE 959259

Allen Hd Screw

1шт.

3

VOE 14263463

Hydraulic hose

1шт.

30

VOE 990742

Кольцо уплотнительное (О-кольцо)

1шт.

30

VOE 990742

Кольцо уплотнительное (О-кольцо)

1шт.

31

VOE 14236150

Hose retainer

1шт.

31

VOE 14236150

Hose retainer

1шт.

32

VOE 14236049

14236049

1шт.

33

VOE 13970959

Винт шестигранник

1шт.

33

VOE 13970959

Винт шестигранник

1шт.

4

VOE 14215716

Кольцо уплотнительное

1шт.

4

VOE 14215716

Кольцо уплотнительное

1шт.

5

VOE 935594

Flange half

1шт.

5

VOE 935594

Flange half

1шт.

6

VOE 959256

Allen Hd Screw

1шт.

7

VOE 14264387

Картер (корпус)

1шт.

8

VOE 14212578

Sealing plug

1шт.

8

VOE 14212578

Sealing plug

1шт.

9

VOE 14264448

Blind plate

1шт.

Выбрано товаров: 48