Запчасти Volvo EC450 22452 Pressure limiting valve EC450 SER NO 1782-1909

Схема запчастей Volvo EC450 - 22452 Pressure limiting valve EC450 SER NO 1782-1909
FIT
1:1
100%

Артикул

Название

Примечание

Количество

VOE 14265961

Pr Limit Valve

1шт.

VOE 14265961

Pr Limit Valve

1шт.

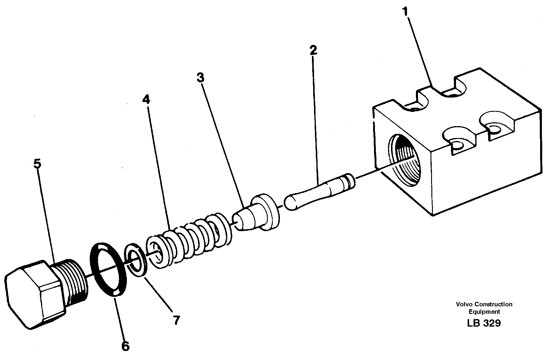
1

VOE 14234431

Valve Housing

1шт.

1

VOE 14234431

Valve Housing

1шт.

2

VOE 14243603

Peg

1шт.

2

VOE 14243603

Peg

1шт.

3

VOE 14055972

Пластина

1шт.

3

VOE 14055972

Plate

1шт.

4

VOE 14055979

Compression Spring

1шт.

4

VOE 14055979

Compression Spring

1шт.

5

VOE 14234432

Втулка (распорная)

1шт.

5

VOE 14234432

Socket

1шт.

6

VOE 13949721

Кольцо уплотнительное (О-кольцо)

1шт.

6

VOE 13949721

Кольцо уплотнительное (О-кольцо)

1шт.

7

VOE 14210754

Прокладка

1шт.

7

VOE 14210754

Прокладка

1шт.

7

VOE 14210755

Прокладка

1шт.

7

VOE 14210755

Прокладка

1шт.

Выбрано товаров: 0