Запчасти Volvo EC460 28510 Anti slip

Схема запчастей Volvo EC460 - 28510 Anti slip
FIT
1:1
100%

Артикул

Название

Примечание

Количество

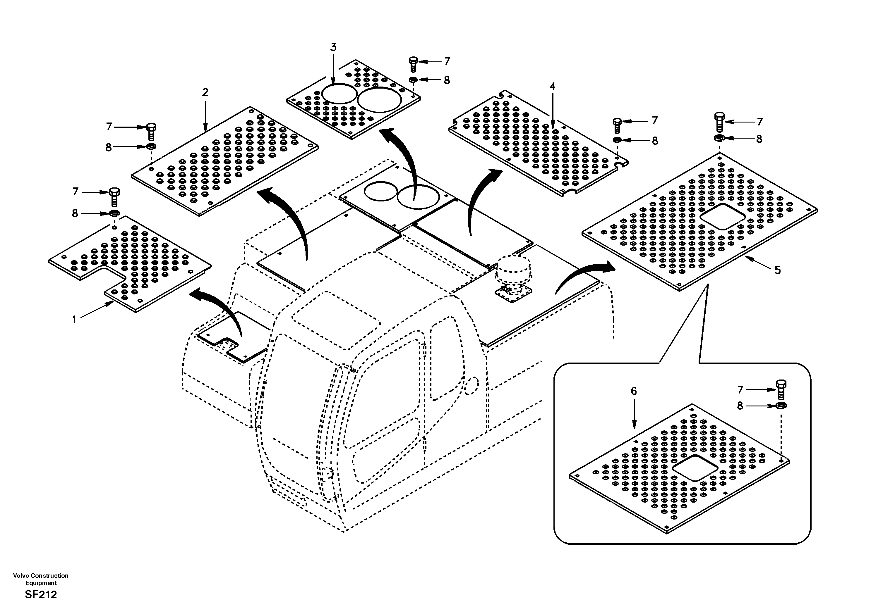
1

SA 1166-03931

Slip Protection

1шт.

2

SA 1166-04220

Slip Protection

1шт.

3

SA 1166-04230

Slip Protection

1шт.

4

SA 1166-04240

Slip Protection

1шт.

5

VOE 14500206

Slip Protection

1шт.

6

SA 1166-04250

Slip Protection

1шт.

7

SA 9011-11203

Болт

1шт.

8

SA 1012-00160

Шайба

1шт.

Выбрано товаров: 8