Запчасти Volvo EC460 32175 Перила

Схема запчастей Volvo EC460 - 32175 Перила
FIT
1:1
100%

Артикул

Название

Примечание

Количество

SA 9213-10000

Шайба пружинная

SER NO 3063-

1шт.

SA 9011-11005

Болт

SER NO 3063-

1шт.

SA 9211-10000

Шайба

SER NO 3063-

1шт.

SA 9211-10000

Шайба

SER NO 3063-

1шт.

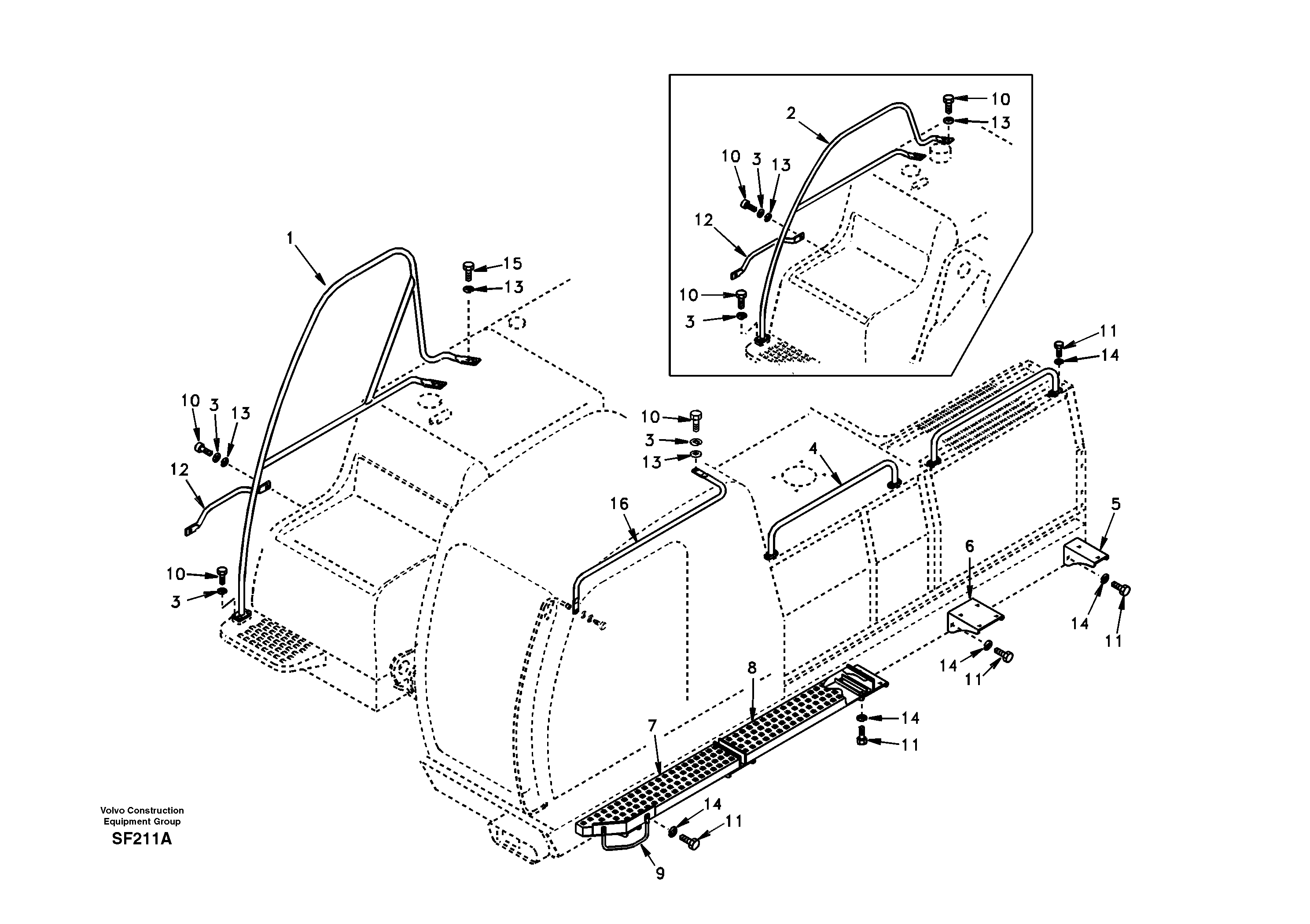
1

SA 1166-04560

Перила

1шт.

10

SA 9011-11005

Болт

SER NO 3001-3062

1шт.

11

SA 9011-11205

Болт

1шт.

12

SA 1166-03500

Grip

1шт.

13

SA 9211-10000

Шайба

SER NO 3001-3062

1шт.

13

SA 9211-10000

Шайба

SER NO 3001-3062

1шт.

14

SA 9211-12000

Шайба

1шт.

14

SA 9211-12000

Шайба

1шт.

15

SA 9011-21011

Болт

1шт.

16

SA 14505382

Перила

SER NO 3063-

1шт.

2

SA 1166-04530

Перила

1шт.

3

SA 9213-10000

Шайба пружинная

SER NO 1-3062

1шт.

4

SA 1166-02930

Перила

1шт.

5

SA 1166-03241

Кронштейн

1шт.

6

SA 1166-03251

Кронштейн

1шт.

7

SA 1166-03211

Duckboard

1шт.

8

SA 1166-03221

Duckboard

1шт.

9

SA 1166-02911

Grip

1шт.

Выбрано товаров: 22