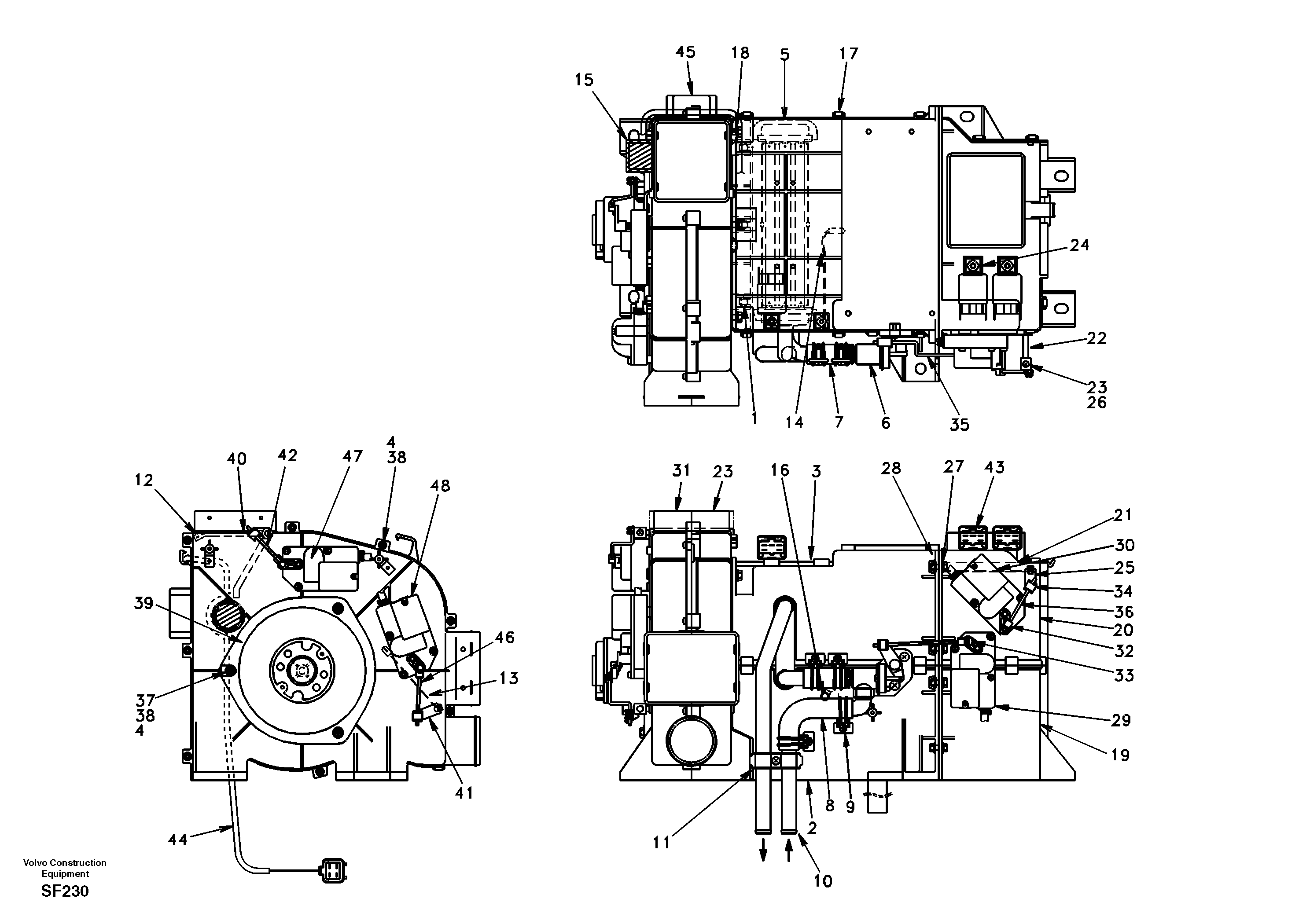
Запчасти Volvo EC460 17158 Heating unit

Схема запчастей Volvo EC460 - 17158 Heating unit
FIT
1:1
100%

Артикул

Название

Примечание

Количество

VOE 14507596

Трубка

SER NO 3261-

1шт.

SA 1125-01221

Heater

1шт.

VOE 14507594

Клапан

SER NO 3261-

1шт.

VOE 14507595

Шланг

SER NO 3261-

1шт.

VOE 14511415

Зажим

SER NO 3261-

1шт.

VOE 14511415

Зажим

SER NO 3261-

1шт.

VOE 14500779

Вентилятор

1шт.

SA 2025-04010

Motor

1шт.

1

SA 9141-10600

Wing Nut

1шт.

10

SA 2025-01890

Трубка

SER NO 3001-3260

1шт.

11

SA 2025-01910

Зажим

1шт.

12

SA 2025-01780

Shutter

1шт.

13

SA 2025-01790

Shutter

1шт.

14

SA 2025-02220

Скоба (хомут)

1шт.

15

SA 1125-01610

Cap

1шт.

16

SA 2025-02230

Уплотнительная втулка

1шт.

17

SA 2025-01750

Скоба (хомут)

1шт.

18

SA 9011-10603

Болт

1шт.

18

SA 9011-10603

Болт

1шт.

19

SA 2025-01850

Case

1шт.

2

SA 2025-01710

Case

1шт.

20

SA 2025-01840

Case

1шт.

21

SA 2025-01860

Shutter

1шт.

22

VOE 14529381

Shutter

1шт.

23

SA 2025-01760

Case

1шт.

24

SA 9211-08000

Шайба

1шт.

24

SA 9211-08000

Шайба

1шт.

25

SA 2025-02250

Lever

1шт.

26

SA 9213-04000

Шайба пружинная

1шт.

26

SA 9213-04000

Шайба

1шт.

27

SA 9041-10503

Болт

1шт.

28

SA 9141-10500

Wing Nut

1шт.

29

SA 2025-01830

Клапан

1шт.

3

SA 2025-01720

Case

1шт.

30

VOE 14529367

Актуатор

1шт.

31

SA 2025-01770

Case

1шт.

32

SA 2025-02260

Joint

1шт.

33

SA 2025-02270

Cage

1шт.

34

SA 2025-02280

Cage

1шт.

35

SA 2025-02290

Bar

1шт.

36

SA 2025-02300

Bar

1шт.

37

SA 9011-10504

Болт

1шт.

38

SA 9211-05000

Шайба

1шт.

39

SA 2025-01940

Мотор вентилятора

1шт.

4

SA 9213-05000

Шайба

1шт.

40

SA 2025-02320

Lever

1шт.

41

SA 2025-02330

Lever

1шт.

42

SA 2025-02340

Bar

1шт.

43

SA 2020-02760

Реле

1шт.

44

SA 1125-01291

Wire harness

1шт.

45

SA 1125-03050

Resistor

1шт.

46

SA 2025-02310

Bar

1шт.

47

SA 1025-02430

Дефлектор

1шт.

48

SA 1025-02440

Актуатор

1шт.

5

SA 2025-01730

Радиатор

1шт.

6

SA 2025-01870

Клапан

SER NO 3001-3260

1шт.

7

SA 2025-01880

Шланг

1шт.

8

SA 2025-01900

Шланг

SER NO 3001-3260

1шт.

9

SA 2025-01920

Зажим

SER NO 3001-3260

1шт.

Выбрано товаров: 0