Запчасти Volvo EC460 14409 Antitheft system

Схема запчастей Volvo EC460 - 14409 Antitheft system
FIT
1:1
100%

Артикул

Название

Примечание

Количество

SA 1166-04000

Antitheft Pkng

SER NO 3001-3176

1шт.

VOE 14507224

Antitheft Pkng

SER NO 3177-

1шт.

VOE 14507225

Крышка

SER NO 3177-

1шт.

VOE 14507226

Крышка

SER NO 3177-

1шт.

VOE 14507228

Крышка

SER NO 3177-

1шт.

VOE 14507227

Крышка

SER NO 3177-

1шт.

VOE 14507229

Крышка

SER NO 3177-

1шт.

VOE 14507230

Крышка

SER NO 3177-

1шт.

VOE 14507231

Крышка

SER NO 3177-

1шт.

VOE 14507233

Box

SER NO 3177-

1шт.

VOE 14507232

Крышка

SER NO 3177-

1шт.

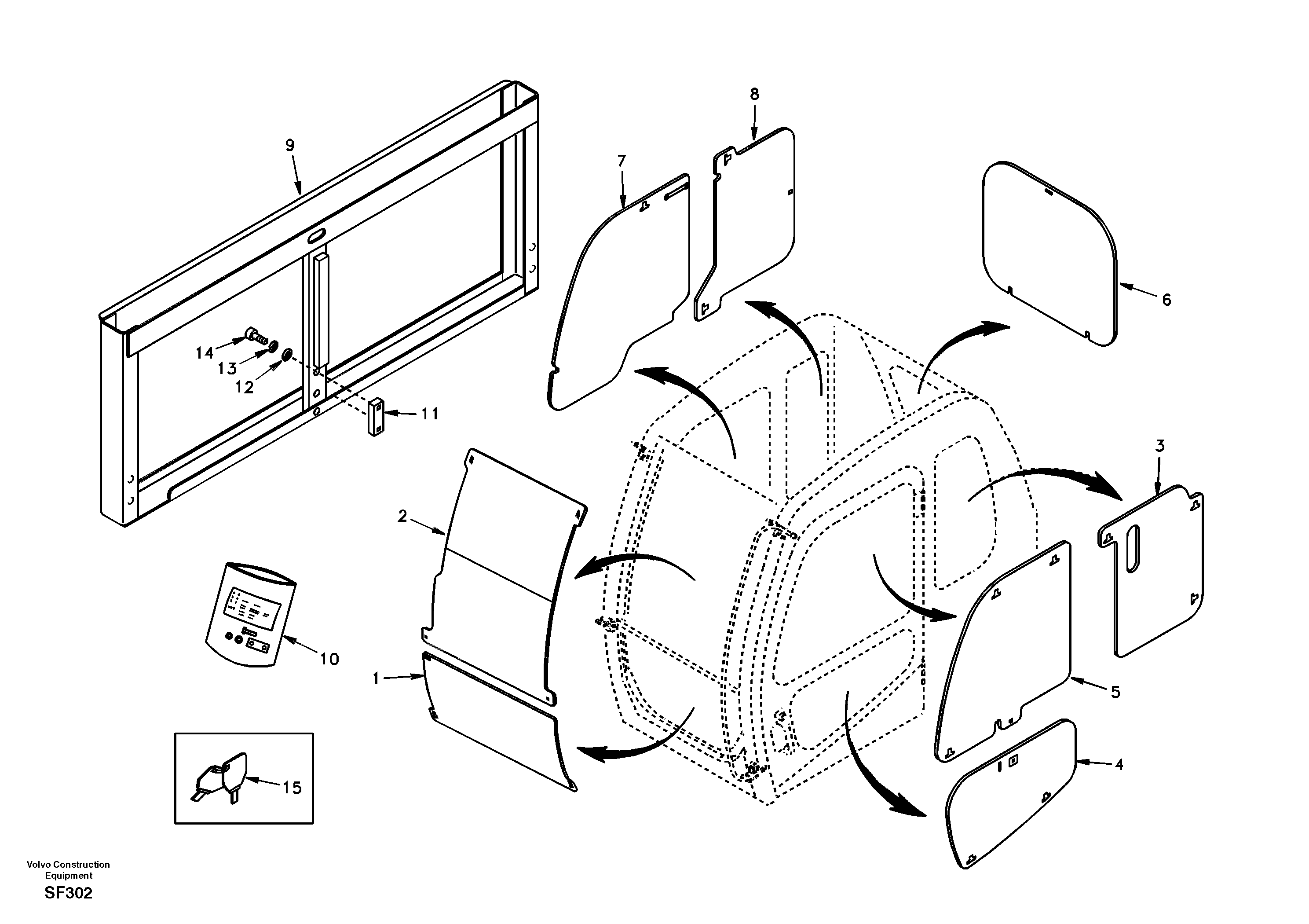
1

SA 1166-03030

Крышка

SER NO 3001-3176

1шт.

10

SA 1166-03010

Spare Parts Kit

1шт.

11

SA 9117-32198

Seat

1шт.

12

SA 9213-12000

Шайба пружинная

1шт.

13

SA 9211-12000

Шайба

1шт.

13

SA 9211-12000

Шайба

1шт.

14

SA 9011-31206

Болт

1шт.

15

VOE 14502426

Key

SER NO 3177-

1шт.

2

SA 1166-03040

Крышка

SER NO 3001-3176

1шт.

3

SA 1166-03050

Крышка

SER NO 3001-3176

1шт.

4

SA 1166-03060

Крышка

SER NO 3001-3176

1шт.

5

SA 1166-03070

Крышка

SER NO 3001-3176

1шт.

6

SA 1166-03080

Крышка

SER NO 3001-3176

1шт.

7

SA 1166-04010

Крышка

SER NO 3001-3176

1шт.

8

SA 1166-04020

Крышка

SER NO 3001-3176

1шт.

9

SA 1166-03020

Box

SER NO 3001-3176

1шт.

Выбрано товаров: 27