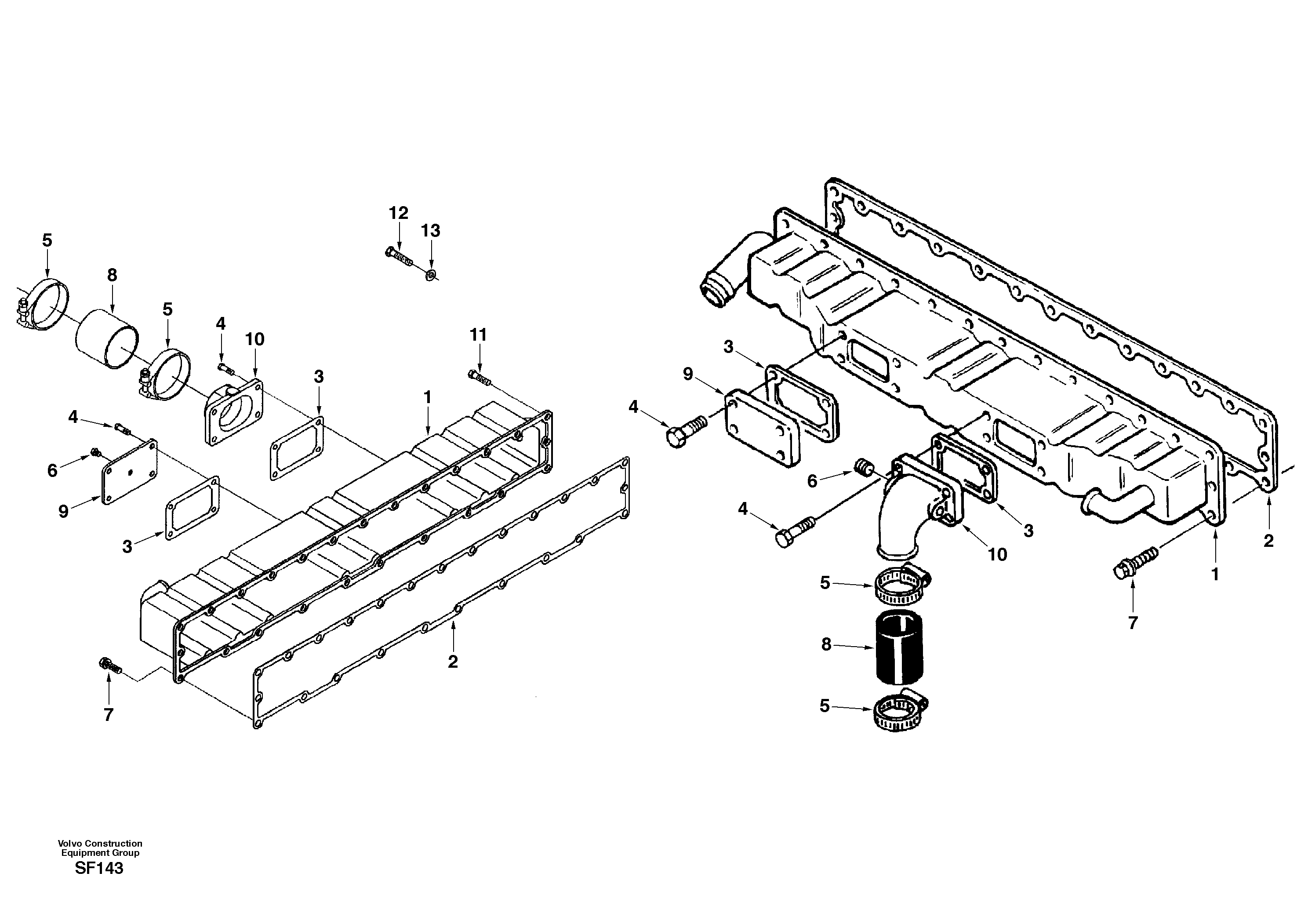
Запчасти Volvo EC460 30026 Inlet manifold

Схема запчастей Volvo EC460 - 30026 Inlet manifold
FIT
1:1
100%

Артикул

Название

Примечание

Количество

SA 3071336

Соединитель

1шт.

SA 3819521

Болт

1шт.

1

SA 3821695

Chg Air Cooler

1шт.

10

SA 3821646

Соединитель

1шт.

11

SA 3820988

Болт

1шт.

12

SA 3254405

Болт

1шт.

13

SA 3009330

Шайба

1шт.

2

SA 3069786

Прокладка

1шт.

3

SA 3818844

Прокладка

1шт.

4

SA 3820317

Шайба

1шт.

5

SA 3892347

Зажим

1шт.

6

SA 3031511

Пробка (заглушка)

1шт.

7

SA 3161093

Болт

1шт.

8

SA 3025152

Шланг

1шт.

9

SA 3028384

Пластина

1шт.

Выбрано товаров: 15