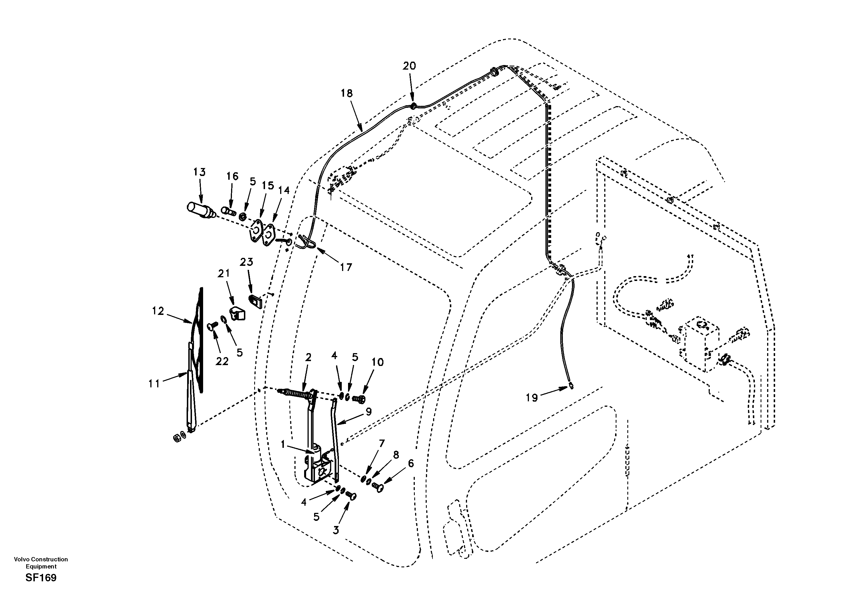
Запчасти Volvo EC460 38433 Стеклоочиститель лобового стекла (ветрового)

Схема запчастей Volvo EC460 - 38433 Стеклоочиститель лобового стекла (ветрового)
FIT
1:1
100%

Артикул

Название

Примечание

Количество

1

SA 1123-00160

Wiper Motor

1шт.

10

SA 9037-10602

Болт

1шт.

11

SA 1123-00170

рычаг стеклоочистителя

1шт.

12

SA 1123-00180

Щетка стеклоочистителя

1шт.

13

SA 1123-03970

Nozzle

1шт.

14

SA 1023-00730

Пластина

1шт.

15

SA 1123-03990

Кронштейн

1шт.

16

SA 9011-10603

Болт

1шт.

16

SA 9011-10603

Болт

1шт.

17

SA 9314-02100

Strip Clamp

1шт.

17

SA 9314-02100

Strip Clamp

1шт.

18

SA 9962-10565

Шланг

1шт.

19

SA 2023-02540

Соединитель

1шт.

2

VOE 14529149

Кронштейн

1шт.

2

VOE 14529149

Кронштейн

1шт.

20

SA 9751-11003

Уплотнительная втулка

1шт.

21

SA 1123-00980

Stop

1шт.

22

SA 9021-10607

Болт

1шт.

22

SA 9021-10607

Screw

1шт.

23

SA 1123-03640

Уплотнительная втулка

1шт.

3

SA 9021-10603

Болт

1шт.

4

SA 9211-06000

Шайба

1шт.

5

SA 9213-06000

Шайба

1шт.

6

SA 9021-10803

Болт

1шт.

7

SA 9211-08000

Шайба

1шт.

7

SA 9211-08000

Шайба

1шт.

8

SA 9213-08000

Шайба

1шт.

9

SA 1123-00970

Тяга поворотная

1шт.

9

SA 1123-00970

Тяга поворотная

1шт.

Выбрано товаров: 29